GeoVision GV-TMEB5800 TMEB-QG-A GV-IP Thermal Camera

Product Information
GV-IP Thermal Camera
The GV-IP Thermal Camera is a network camera designed for thermal imaging. It comes with a thermal lens, optical lens, microphone, speaker, alarm input/output, and a micro SD card slot. The camera can be powered by DC 12V or PoE power supply, and it has a flashing light and IR LED for night vision. The camera is manufactured by GeoVision, Inc. and its trademarks include GeoVision, the GeoVision logo, and GV series products.
Features
- Thermal imaging
- Audio input (3.5mm)
- Alarm input/output
- Power connector
- Speaker
- Light sensor
- Optical lens
- Microphone
- Flashing light
- IR LED
- Micro SD card slot
Specifications
- Manufacturer: GeoVision, Inc.
- Power supply: DC 12V or PoE
- Night vision: IR LED
Warnings and Caution
Please read the instruction manual carefully before operating
the unit and keep it for future reference. All the examples and
pictures used in the manual are for reference only. The contents of
this manual are subject to change without notice. If the product
does not work properly, please contact your dealer or the nearest
service center.
Product Usage Instructions
Installation
- Ensure that the wall or ceiling is strong enough to hold the camera’s weight, which is three times the weight of the camera.
- Disassemble the camera by loosening the fixed screw.
- Unscrew the cover of the dome and insert a micro SD card. Install the cover back and make sure it is firmly installed.
- Drill screw holes and cable holes on the ceiling according to the drill template. The route and connect the cables.
- Run the network cable (without RJ 45 connector) through both elements, crimp the cable with RJ 45 connector, and connect the cable to the hermetic connector.
- Then tighten the nut and main cover.
- Secure the mounting base to the ceiling or wall with the screws provided.
- Install the dome and enclosure to the mounting base.
- Adjust the dome to obtain an optimum view angle.
- Fix the camera with the fixed screw.
Note: The camera can be powered by DC 12V or PoE power supply.
If you are using a PoE switch to power the camera, a DC12V power supply is not required. The camera should be installed and used in a dry environment.
- Before attempting to connect or operate this product, please read these instructions carefully and save this manual for future use.
- © 2022 GeoVision, Inc. All rights reserved.
- Under the copyright laws, this manual may not be copied, in whole or in part, without the written consent of GeoVision.
Every effort has been made to ensure that the information in this manual is accurate. GeoVision, Inc. makes no expressed or implied warranty of any kind and assumes no responsibility for errors or omissions. No liability is assumed for incidental or consequential damages arising from the use of the information or products contained herein. - Features and specifications are subject to change without notice.
- GeoVision, Inc.
- 9F, No. 246, Sec. 1, Neihu Rd.,
- Neihu District, Taipei, Taiwan
- Tel: +886-2-8797-8377
- Fax: +886-2-8797-8335
- http://www.geovision.com.tw
- Trademarks used in this manual: GeoVision, the GeoVision logo, and GV series products are trademarks of GeoVision, Inc. Windows is the registered trademark of
- Microsoft Corporation.
- July 2022
Scan the following QR codes for product warranty and technical support policy:
Warning and Caution
- Please read this instruction carefully before operating the unit and keep it for further reference.
- All the examples and pictures used here are for reference only.
- The contents of this manual are subject to change without notice.
- If the product does not work properly, please contact your dealer or the nearest service center. Never attempt to disassemble the camera yourself. (We shall not be responsible for any problems caused by unauthorized repair or maintenance.)
- Do not allow water or liquid intrusion into the camera.
- In the use of the product, you must be strict compliance with the electrical safety regulations of the nation and region. When the product is mounted on wall or ceiling, the device shall be firmly fixed.
- Do not use camera beyond specified voltage range.
- Do not drop the camera or subject it to physical shock.
- The product must be grounded to reduce the risk of electric shock.
- Avoid touching the camera lens.
- If cleaning is necessary, please use clean cloth to wipe it gently.
- Do not aim the camera at the sun or extra bright place.
- Do not place the camera in extremely hot, cold (the operating temperature shall be -30°C ~ 60 °C (-22 °F ~ 140 °F), dusty or damp locations, and do not expose it to high electromagnetic radiation.
- To avoid heat accumulation, good ventilation is required for operating environment.
Overview

- Ethernet connector
- Audio input connector (3.5mm)
- Alarm input/output
- Power connector
- Speaker
- Thermal lens
- Light sensor
- Optical lens
- Microphone
- Flashing light
- IR LED
- Micro SD card slot
- Load Default
Note: The camera can be powered by DC 12V / PoE power supply. If the PoE switch is used to power the camera, a DC12V power supply is not required.
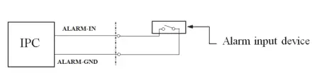
- Connecting alarm input

- Connecting alarm output
- Max. load of the alarm output: 30VDC. IA

Installation
- Please make sure that the wall or ceiling is strong enough to withstand 3 times the weight of the camera. And install and use the camera in a dry environment.
- Loosen the fixed screw to disassemble the camera.

- Unscrew the cover of the dome and then insert a micro SD card. After that, install back the cover and make sure the cover is installed firmly.

- Drill the screw holes and the cable hole on the ceiling according to the drill template. Then route and connect the cables.


- A. Loosen the nut from the main element.
- B. Run the network cable (without RJ 45 connector) through both elements.
- Then crimp the cable with RJ 45 connector.
- C. Connect the cable to the hermetic connector. Then tighten the nut and the main cover.
- Secure the mounting base to the ceiling or wall with the screws provided.

- Install the dome and enclosure to the mounting base.

- Adjust the dome to obtain an optimum view angle.

- Fix the camera with the fixed screw.

Accessing the Network Camera
Looking Up the Dynamic IP Address
By default, when the camera is connected to a LAN with the DHCP server, it is automatically assigned a dynamic IP address. Follow the steps below to look up its IP address.
Note:
- By default, the Administrator’s username is admin and cannot be modified.
- This function is only applicable on GV-IP Device Utility V8.9.8 or later.
- Make sure the PC used to configure the IP address is under the same LAN as the camera. Download and install GV-IP Device Utility from the company website.
- On the GV-IP Utility window, click the
button to search for the IP devices connected to the same LAN. Click the Name or Mac Address column to sort. - Find the camera with its Mac Address, and click on its IP address.

- For first-time users, you are requested to set up a password.

- Type a new password and click OK.
- Click on its IP address again and select Webpage to open its Web interface.
- Type the set password on the login page and click Login.
IMPORTANT:
- The camera has two sets of passwords: one is for the Web interface and the other is for the third-party platform connection via ONVIF, e.g. GV-VMS. GV-IP Device Utility is used to set the ONVIF password. When the first-time user uses GV-IP Device Utility to set a password for the camera, the two sets of passwords are created simultaneously.
- To change the password for the Web interface, go to Config > Security > User; see “Modified User” in 5.6.1 User Configuration in the user’s manual. To change the password for the ONVIF connection, go to Config > Network > Advanced; see 5.5.4 ONVIF in the user’s manual.
- If the first-time user accesses the camera’s Web interface on the browser directly by using the IP address found in GV-IP Device Utility, the following dialog box will appear.

Activate Onvif User” is enabled, the ONVIF user can be activated simultaneously for the third-party platform connection via ONVIF, using the default username and set password set above to connect
Configuring the IP Address
If the camera is connected to a LAN without the DHCP server, the default IP address will be
192.168.0.10. Follow the steps below to modify the IP address to avoid IP conflict with other GV-IP devices on the same LAN.
- Open your Web browser, and type the default IP address 192.168.0.10.
- Type the default username admin and password. Click Login.
- Go to Config > Network > TCP/IP to set the IP address.
- Select Use the following IP address and then enter the static IP address and other parameters.

The Web Interface
Once you log in to the Web interface, you will see the live view as shown below
IMPORTANT: It is required to use IE or Edge IE mode to access thermal images
For detailed information, see the user’s manual.
Upgrading System Firmware
GeoVision periodically releases updated firmware on the company website. To load the new firmware into the camera, follow the instructions below.
- On the Web interface, click Config > Maintenance > Upgrade.

- Click the Browse button to locate the firmware file saved at your local computer.
- Click the Upgrade button to start upgrading the firmware.
- After upgrading, the camera will restart automatically.
Note: Do not close the browser or disconnect the camera from the network during the upgrade.
Restoring to Factory Default
If for any reason the camera is not responding correctly, you can restore the camera back to its factory default settings using the Web interface or the Load Default Button.
On the Camera
- Find the Load Default button on the camera (see No. 13, 1. Overview in the Quick Start Guide).
- Press and hold the button for more than 10 seconds to restore to the factory default setting.
On the Web Interface
- On the Web interface, click Config >Maintenance > Backup & Restore.
- Click the Load Default button to restore all system settings to factory default, except the image settings (see 5.2 Image Configuration in the User’s Manual for details) you want to keep.

Connecting to GV-VMS
To connect GV-TMEB5800 to the GV-VMS surveillance system, follow the steps below.
Note:
- It is only supported by GV-VMS V17.4.5 / V18.3.1 with patch files or later versions.
- Make sure to use the camera’s ONVIF password to connect to GV-VMS.
- The camera allows for a maximum of 10 simultaneous connections, including the Web, ONVIF, and RTSP. And the maximum throughput is 100 Mbps.
- Add GV-TMBE5800 to GV-VMS (Home
> Toolbar
> Configure
> Camera Install). - Once it is added, you will see two camera entries listed in the IP Device Setup window, one is the GV-TMB5800 and the other is GV-TMB5800 (Thermal).

- Open the Content List (Home
> Toolbar
> Content List
). - Find the camera GV-TMB5800, and click the Expand button to see the thermal camera listed.
- Drag the two cameras to the live view window.

- Add GV-TMBE5800 to GV-VMS (Home



































