
Instruction Manual
Universal Table Top TV Stand
HY4105
Thank you for choosing our product! We strive to provide the best quality and services for our customers. Would you kindly share your experience on Amazon if you are satisfied? If you have any questions, please feel free to contact us.
Email: [email protected]
We’re ready to help!
UNPACKING INSTRUCTIONS AND IMPORTANT SAFETY INFORMATION
- Carefully open the carton, remove contents, and layout on cardboard or another protective surface to avoid damage.
- Check to assure that all components were received undamaged. Do not use damaged or defective parts.lf you require replacement parts, contact customer service at [email protected]
- Install and operate this product with care. Please read this instruction before beginning the installation, and carefully follow all instructions contained herein. Use proper tools during installation.
- If you do not understand the instructions or have any concerns or questions, please contact customer service at [email protected]
WARNING: DO NOT EXCEED WEIGHT CAPACITY 99Lbs(45kg)
Exceeding the weight capacity can result in serious personal injury or damage to equipment!
WARNING: CHOKING HAZARD
SMALL PARTS – NOT FOR CHILDREN UNDER 3 YEARS. ADULT SUPERVISION IS REQUIRED.
TIPOVER WARNING
SERIOUS OR FATAL CRUSHING INJURIES CAN OCCUR FROM TIPOVER. TO HELP PREVENT TIPOVER: NEVER ALLOW CHILDREN TO CLIMB, STAND, HANG, OR PLAY ON ANY PART OF TV OR TV STAND. USE TIPOVER RESTRAINT OR ANCHOR STAND TO WALL
Part List


NOTE: NOT ALL HARDWARE INCLUDED WILL BE USED
Step 1-1
Placing foot pads [k] to to tempered glass base[c]
Step 1-2
Assemble upper and lower support columns (d1, d2)
insert upper column into the low column
tightening M6x10 bolts (l) and 6.5x18x2 washers (u2) with Allen key (y)
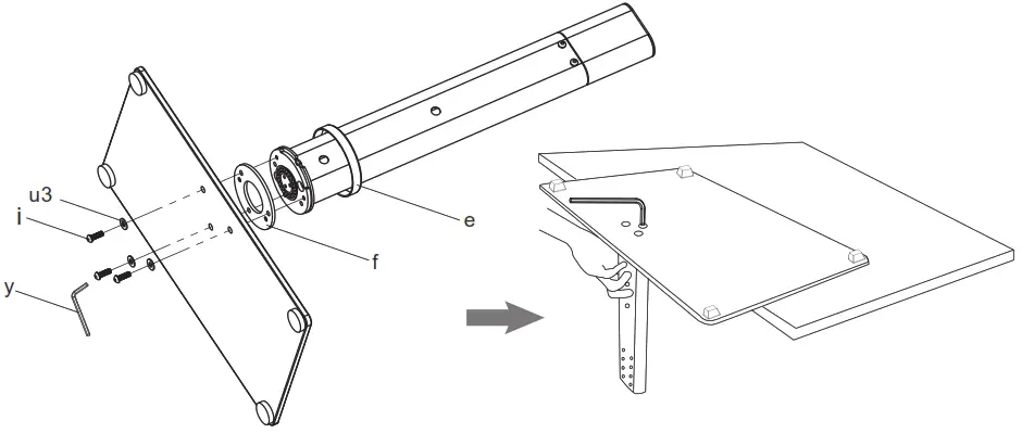
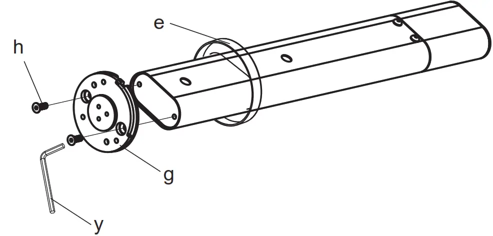
Step 1-3
Attach support column to swivel pad (g)
First, slide plastic cover (e) onto column. then put 2pcs of M6x16 bolts go through the swivel pad(g) (h) and tighten with Allen key (y)
Step 1- 4
Attach column with metal pad(f)to glass base

Put tempered glass(c) on the table. Put Washer 6.5x20x1.5(u3) and M6x18 Bolt(i) under tempered glass(O).
Making sure the metal pad(f)is placed between the glass base and swivel pad, and with the tabs inserted into the swivel pad. Tighten bolts(i) with the Allen key(y)
Note:
If you find the support column is not in the correct direction,please loosen M6x18 Bolt(i) adjust the support pcolumn to the correct direction,then tighten bolts (i) again.
Step 2 Connecting the TV Plate to Support Column
2-1
Attach TV plates (a1) to TV plate connector (a2) using M6x10 bolts (l) and washers (m) and tighten with the Allen key(y)
2-2
Attach TV plate to support column at desired height using M6x10 bolts (l) and washers (m). Clip bubble level (C) onto plate to ensure the plate is level, then tighten bolts with the Allen key(y)
2-3
Attach wire clips (j) to back of support column.
Step 3 Mounting the Monitor Brackets(b) to your TV
3-1 Select the Screws
Only one screw size fits your TV.
Screw length: Verify adequate thread engagement with screw or screw/spacers combination. We recommend thread engagement by at least 6 turns or 5/16″(8mm)
- Too short will not hold the W.
- Too long will damage the TV.

3-2 Mounting Monitor Brackets
If your TV has a flat back, AND you want your TV closer to the wall, use the shorter screws (A).
Use the spacers and longer screws(B) to accommodate:
- Round/irregular back TVs
- TVs with inset mounting holes
- Extra space needed for cables


First, make sure the diameter of the bolt(n to s) fits your TV. Then, please see the diagram above.
You will need to thread the bolt into the TV using the correct washer (t,u1,v) and spacer (w,x) if necessary with a screwdriver (Not included). Please make sure the monitor brackets(b) are vertically centered and level with each other.
Step 4 Attaching TV To TV Plate and Managing the Wires


Step 5 Attaching the Security Steel Wire to the TV
If your TV is located nearby the wall as the Diagram 5a, then a steel wire can be attached for added security. Attaching the two ends of steel wire to the top two holes on the back of TV, shown in Diagram 5b.
Attaching the other end of steel wire to the wall according to your wall type, shown in Diagram 5c, 5d, and 5e.
Thank you for choosing our product! We strive to provide the best quality and services for our customers. Would you kindly share your experience on Amazon if you are satisfied? If you have any questions, please feel free contact us.
Email: [email protected]
Made in China
WARNING: CHOKING HAZARD

















