
Table Top TV Stand Instruction Manual V1.0
English pages: 01-17
French pages: 18-33
Spanish pages: 34-42 
Model: ERTSM2-01B
At ErgoAV, we want to add value to your AV experience by providing the highest quality products and services in the industry. If you have any concerns or comments, please contact us.
IMPORTANT SAFETY INFORMATION
CAUTION: Avoid potential personal injuries and property damage!
Do not use this product for any purpose that is not explicitly specified in this manual. Do not exceed weight capacity. We are not liable for damage or injury caused by improper mounting, incorrect assembly or inappropriate use. Please carefully read all instructions before attempting assembly. If you do not understand the instructions or have any concerns or questions, please contact our Technical Support line at (877) 419-7832 or customer service at [email protected].
Before getting starting, let’s make sure this mount is perfect for you!
Measure Your TV VESA Pattern: Minimum: 100 x 100mm/4 x 4in(W x H) Maximum: 400 x 400mm/15.7 x 15.7in(W x H)
If your TV is not between the minimum and maximum measurements, do not use this product.
If your TV weighs more than 88 lbs, do not use this product. 
For safety strap installations, you will need to verify your wall construction.
DO NOT install into drywall alone.
If this TV stand is NOT compatible, please contact our Technical Support line at (877) 419-7832 or customer service at [email protected] to find a compatible mount.
Tools Needed (Not lncluded)
For TV stand assembly
For safety strap installatcon into wood table/furniture and wood stud applications
For safety straps installation into concrete wall 
Supplied Parts and Hardware
WARNING: This product contains small items that could be a choking hazard if swallowed.
Before starting assembly, verify all parts are included and undamaged. Do not use damaged or defective parts. lf you require replacement parts, please contact our Technical Support line at (877) 419-7832 or customer service at [email protected].
- PLEASE NOTE: Not all hardware included in this package will be used.
Supplied Parts and Hardware for Step 1

Step 1 Secure the TV Brackets [N] to TV
Bolt length: Verify adequate thread engagement with bolts or bolts/spacers combination. We recommend thread engagement by at least 5 turns.
-Too short will not hold the TV.
-Too long will damage the TV.
PLEASE NOTE: When using the spacers it is important to note that they can be used in multi-layers (meaning stacked). If you have any difficulty understanding how to
install the TV bolts or spacers, please contact our Technical Support line at (877) 419-7832 or customer service at [email protected].

When attaching the TV brackets to the back of the TV, ensure the Up Arrows are pointing to the top of the TV and are equally centered on the back of the TV.
TV Brackets have “three height locations”, which determines the height position of your TV while attaching your TV on the stand in Step 6 on page 12. You can choose the proper height.

Option B (For Curved Back TV)
Spacers must be tall enough so that the curve on the back of the TV will not interfere with the mounting plate.
Option C (For TV with A “Bump”)
Spacers must be large enough so TV bracekts are flush (NO GAP) on bump
Option D (for TV with Cable Interference)
For cable interference, use spacers [F1], [F2] and [F3] to create extra space between the TV and TV brackets.

Option E (For Recessed Holes )
The spacer need to fill in the recessed holes on the basis of the TV so that the TV brackets are as close to the TV as possible.
Supplied Parts and Hardware for Step 2
Step 2 Assemble the Base
-Step 2-1 Place foot pads [H] to the painted side of the tempered glass base [7] in the corners
Step 2-2 Connect the lower support pillar [3] to tempered glass base [7].
When assembling the pillar, ensure the side of the reinforcing plate [J] with paper is facing the glass base [7]. Do Not overtighten the bolts [G].
Supplied Parts and Hardware for Step 3
Step 3 Connect the Upper Support Pillar [4] to Lower Support Pillar [3]
Supplied Part and Hardware for Step 4
Step 4 Connect the TV Plate [1] to Upper Support Pillar [4]
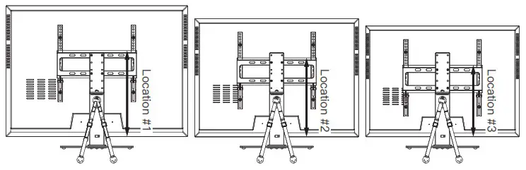
Note: Before attaching the TV Mounting Plate to the pillar, measure the distance from the upper hook on the TV Bracket to the bottom of the TV. Then refer to chart below for the recommended mounting location. To add an additional 2” of space between your TV and the base, use the lower hooks located on the TV Brackets. We always recommend using the lowest possible attachment location for the safest assembly
| Distance from the hooks on the TV Brackets to the bottom of the TV | Recommended TV Mounting Plate Location |
| 17″ to 18 1/2″ | Location #1 |
| 15 1/2″ to 17″ | Location #2 |
| Less Than 15 1/2″ | Location #3 |


Supplied Part and Hardware for Step 5
Step 5 Secure the Safety Straps [P] to Lower Support Pillar [3]
Supplied Part for Step 6-3
Step 6 Attach TV to the TV Plate [1] and Manage the Wires
We recommend always having a second person to help during this step. TV can be heavy and awkward to place on the stand. It is best to have 2 people lift the TV from the sides so they can see the attachment points.
Step 6-1 Hang the TV with brackets to the TV plate.
Step 6-2 Push the bottom of the TV to TV plate.
NOTE: Attached TV Brackets to the TV Mounting plate on the lowest placement that allows for TV to fit.Step 6-3 Insert the safety locks [K1] into the upward facing hooks at the midway to lower part of the TV bracket. Please note this is where the lower part of the TV bracket meets the TV plate. Then tighten the bolts of the safety lock [K1] until the bolts touch the TV plate.
NOTE: Make sure the bolt is tighten behind the TV mounting plate.
Supplied Hardware for Step 7A
Secure The Safety Straps With TV Stand Against The Wall
NOTE: For the safest possible installation, we recommend using the included safety straps. By doing so, you will greatly reduce the possibility of a TV Tip Over.
For wooden table furniture installation, follow STEP 7A
For wood stud installation, follow STEP 7B
For solid concrete or concrete block installation, follow STEP 7C
Step 7A For Wooden Table furniture Installation
● DO NOT USE ANCHOR [Z4] FOR THIS STEP!
NOTE: It is necessary to predrill a pilot hole to avoid splitting the wood. Being careful not to damage your furniture.
Caution: The mounting surface must be thicker than 1in(25mm).
Step 7B For Wood Stud Installation
- DO NOT USE ANCHOR [Z4] FOR THIS STEP!
- Any material covering the wall must not exceed 5/8in(16mm)
- Nominal wood stud size: common 2 x 4in(51 x 102mm) minimum 1½ x 3½in(38 x 89mm)
- Stud center must be verified by using an awl or stud finder

Supplied Hardware for Step 7C

Step 7C For Solid Concrete or Concrete Block Installation
- Must use wall anchor [Z4] for this step
- Any material covering the wall must not exceed 5/8in(16mm)
- Minimum solid concrete thickness: 203mm(8in)
- Minimum concrete block size: 203 x 203 x 406mm(8 x 8 x 16in)
- Never drill into the mortar between blocks

Supplied Hardware for Step 8

(N) x1
M6-M10
Wrench
Step 8 Swivel Adjustment
The TV can be swivelled manually. If it is too hard to swivel, please follow these steps:
- Loosen the nut [B] using wrench [J].
- Swivel the TV to your desired swivel angle.
- Tighten the nut [B] using wrench [J] to fix the TV in place.
NOTE: Please do not over-loosen or over-tighten the nut [B].
At ErgoAV, we strive to provide the highest valued products.
We want to support your purchase.
If you have questions, concerns, or feedback please let us know!
ErgoAV Customer Care
Phone (877) 419-7832 M-F 8am to 8pm CST
[email protected]
9501 Louisiana Ave N, #200 Brooklyn Park, MN 55445
ErgoAV Customer Care
Phone (877) 419-7832 M-F 8am to 8pm CST
email: [email protected]
website: www.ergoav.com
address: 9501 Louisiana Ave N, #200 Brooklyn Park, MN 55445




















