ottobock 17B20*, 17B21*, 17B42* Locked Knee Joints

Foreword
INFORMATION
Date of last update: 2021-06-07
- Please read this document carefully before using the product and observe the safety notices.
- Instruct the user in the safe use of the product.
- Please contact the manufacturer if you have questions about the product or in case of problems.
- Report each serious incident related to the product to the manufacturer and to the relevant authority in your country. This is particularly important when there is a decline in the health state.
- Please keep this document for your records.
These instructions for use provide you with important information on the processing of the 17B20*, 17B21* and 17B42* orthotic knee joints.
Product description
Available sizes
| Article number | Medial and lateral joint | System width | Material |
| 17B20=L/R16 | Outside straight, inside contoured | 16 mm | Stainless steel |
| 17B20=L/R20 | 20 mm | ||
| 17B21=16 | Outside and inside straight | 16 mm | |
| 17B21=20 | 20 mm | ||
| 17B42=L/R16 | Outside straight, inside bottom contoured | 16 mm | |
| 17B42=L/R20 | 20 mm |
Components/design

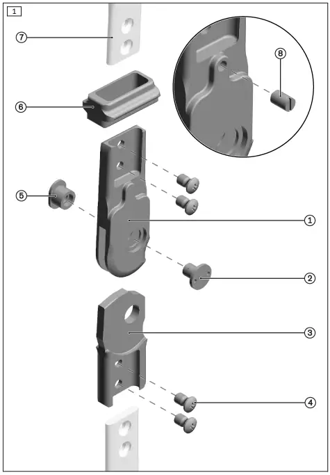
| Scope of delivery (see fig. 1) | |||
| Item | Quantity [Piece (s)] | Designation | Article number |
| 1 | 1 | Upper joint section | |
| 2 | 1 | Joint screw | 501S34=M6 |
| 3 | 4 | Lower joint section | |
| 4 | 1 | Screws | 501T7* |
| 5 | 1 | Bearing nut | 17Y93* |
| 6 | 1 | Ring lock | 17Y31=25×9.5 |
| Not included in scope of delivery | |||
| Item | Quantity [Piece (s)] | Designation | Article number |
| (see fig. 1), item 7 | 1 | Side bar | 17B38*, 17B39*, 17B40*, 17B41*, 17B84* |
| not illustrated | 1 | Lamination bar | 17Y128*, 17Y129* |
| Item 8 | 1 | Spring-loaded thrust piece | 501D1 |
Intended use
Indications for use
The orthotic joint is intended exclusively for use as a pair for orthotic fittings of the lower limbs on one patient.
Indications
- Partial or total paralysis of the leg muscles
- Orthopaedic diseases of the lower limbs Indications must be determined by the physician.
Lifetime
The product is designed for a lifetime of 3 years when used as intended and assembled professionally.
Qualification
Patients may be fitted with the product only by trained qualified personnel.
The qualified personnel must be familiar with the handling of the various techniques, materials, machines and tools.
Combination possibilities
The 17B20*, 17B21* and 17B42* orthotic knee joints can be combined with the 501D1 spring-loaded thrust piece.
Safety
Explanation of warning symbols
- CAUTION: Warning regarding possible risks of accident or injury
- NOTICE: Warning regarding possible technical damage.
Safety instructions
- CAUTION
- Incorrect alignment or assembly
Injuries due to changes in or loss of functionality- The product may only be installed by trained, qualified personnel.
- Observe the alignment and assembly instructions.
- Incorrect alignment or assembly
- CAUTION
- Excessive strain on load-bearing components
Injuries due to changes in or loss of functionality- Only use the product for the defined area of application.
- If the product has been exposed to extreme strain (e.g. due to falling), take any necessary measures (e.g. repair, replacement, inspection by the manufacturer’s customer service, etc.).
- Excessive strain on load-bearing components
- CAUTION
- Mechanical damage to the product
Injuries due to changes in or loss of functionality- Use caution when working with the product.
- Check the product for proper function and readiness for use.
- In case of changes in or loss of functionality, discontinue use of the product and have it checked by authorised, qualified personnel
- Mechanical damage to the product
- CAUTION
- Excessive strain due to use on more than one patient
Risk of injury and loss of functionality as well as damage to the product- Use the product on only one patient.
- Observe the maintenance recommendations.
- Excessive strain due to use on more than one patient
- CAUTION
- Improper use of the lock
Risk of injury due to unexpected deactivation of the orthotic joint lock- Fully extend the orthotic joint to activate the lock. Check whether the lock is engaged.
- Only deactivate the lock when you are able to control the flexion of the orthotic joint.
- Improper use of the lock
- CAUTION
- Clothing getting caught in the orthotic joint
Risk of injury due to loss of orthotic joint functionality- Make sure your clothing does not get caught in the orthotic joint.
- Clothing getting caught in the orthotic joint
- NOTICE
- Thermal overloading of the product
Damage due to improper thermal treatment- Do not carry out any heat treatment at temperatures above 300 °C (570 °F).
- Prior to thermal treatment, remove all temperature-critical components (such as plastic parts).
- Thermal overloading of the product
- NOTICE
- Use under unallowable environmental conditions
Damage to product due to unallowable environmental conditions- Do not expose the product to unallowable environmental conditions.
- If the product has been exposed to unallowable environmental conditions, check it for damage.
- If damage is apparent or in case of doubt, do not continue using the product.
- Take suitable measures if required (e.g. cleaning, repair, replacement, inspection by the manufacturer or a specialist workshop, etc.).
- Use under unallowable environmental conditions
- INFORMATION
- Increased wear and tear
The orthotic knee joints are intended only for use in combination with freemotion or foot lifting orthotic ankle joints. Wear occurs more rapidly in combinations involving orthotic ankle joints with a dorsal stop.
- Increased wear and tear
Preparing the product for use
NOTICE
Orthotic joints not aligned in parallel
Malfunction of the locking mechanism
- Use the 743R6 orthotic joint alignment fixture.
- Make sure the orthotic joints lock simultaneously in the extension stop.
INFORMATION
Corrosion protection
The side bars and orthotic joints are resistant to corrosion. Fine grinding and polishing increase corrosion protection. Use sintering powder (e. g. 618T40) for coating.
Gluing in bars
- Required materials: 636W28* special adhesive, degreasing cleaner
The bars must be glued in the insertion zones to ensure stability.- Clean the connecting surfaces with a degreasing cleaner.
- Apply the special adhesive to the connecting surfaces.
- Insert the bars.
- Secure with the enclosed screws.
- Allow to cure for at least 4 hours.
INFORMATION: Final bonding strength will be reached after 16 hours.
Cleaning
After contact with water containing salt, chlorine or soap, or if they get dirty, the orthotic joints must be promptly cleaned.
- Rinse the orthotic joints with clean fresh water.
- Dry the orthotic joints with a cloth or allow them to air dry. Avoid exposure to direct heat (e.g. from an oven or radiator).
Maintenance
CAUTION
Wear and tear of the locking mechanism
Injuries due to changes in or loss of functionality
- In case of wear and tear of the locking mechanism, replace the lock wedge or the lock lever and/or the lower joint section.
INFORMATION
The product may be exposed to increased loads by the patient.
- Shorten the maintenance intervals according to the expected loads.
The manufacturer requires at least a semi-annual inspection of the product to verify functionality and check for wear.
Only use 633F7 special lubricant.
Spare parts are listed in the section “Components/design”.
Disposal
Dispose of the product in accordance with national regulations.
Legal information
All legal conditions are subject to the respective national laws of the country of use and may vary accordingly.
Liability
The manufacturer will only assume liability if the product is used in accordance with the descriptions and instructions provided in this document. The manufacturer will not assume liability for damage caused by disregarding the information in this document, particularly due to improper use or unauthorised modification of the product.
CE conformity
The product meets the requirements of Regulation (EU) 2017/745 on medical devices. The CE declaration of conformity can be downloaded from the manufacturer’s website.



















