ottobock 17B23 Knee Joint System Instruction Manual
Induction




Foreword
INFORMATION
Date of last update: 2021-05-07
- Please read this document carefully before using the product and observe the safety notices.
- Instruct the user in the safe use of the product.
- Please contact the manufacturer if you have questions about the product or in case of problems.
- Report each serious incident related to the product to the manufacturer and to the relevant authority in your country. This is particularly important when there is a decline in the health state.
- Please keep this document for your records.
These instructions for use provide you with important information on the processing of the 17B23*, 17B33*, 17B45*, 17B91* and 17B92* orthotic knee
joints with Swiss locking mechanism.
Product description
Components/design
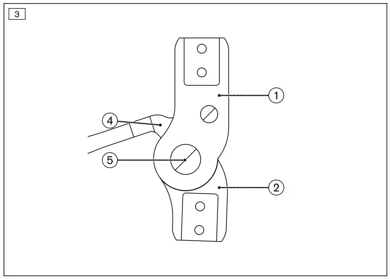
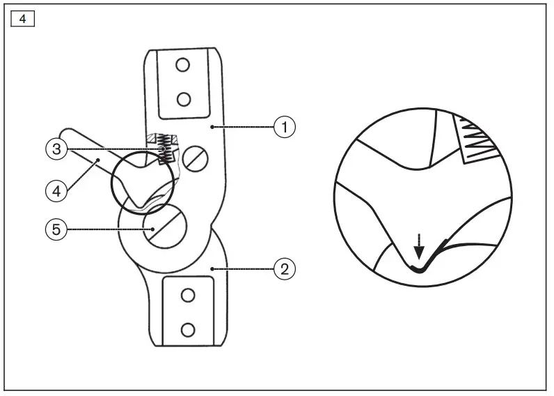
| Component | 17B23*, 17B45*, 17B92* (see fig. 2) | 17B33*, 17B91* (see fig. 3) | 17B23*K (see fig. 4) | |
| Reference number | ||||
| 1 | Upper joint sec tion | 30X59 | 30X59 | 30X59 |
| 2 | Lower joint sec tion | 30U88=Z | 30U88=Z | 30U88 |
| 3 | Compression spring | 513D19=3.8×16 | – | 513D19=3.8×16 |
| 4 | Lock lever | 17Y20 | 17Y34 | 17Y104 |
| 5 | Bearing nut/ Joint screw | 17Y93=9×9.2xM6/ 501S32=M6x14x14 | 17Y93=9×9.2xM6/ 501S32=M6x14x14 | 17Y93=9×9.2xM6/ 501S32=M6x14x14 |
Function
17B23*, 17B33*, 17B45*, 17B91*, 17B92* The locking mechanism consists of a centric lock lever and a centric lower joint section. The lock lever of the orthotic knee joint with a concealed locking mechanism and compression spring (17B23*, 17B45*, 17B92*) points up. The lock lever of the orthotic knee joint without a compression spring (17B33*, 17B91*) points down
17B23=LR16K, 17B23=L/R20K
The locking mechanism consists of an eccentric lock lever and an eccentric lower joint section. The short lock lever has a stepped bore for the cable pull release. The locking mechanism fits tightly and is self-readjusting.
Intended use
Indications for use
The orthotic knee joints are to be used exclusively in pairs to provide orthotic treatment for a patient’s lower limbs.
Indications
- Partial or total paralysis of the leg muscles
- Orthopaedic diseases of the lower limbs
Indications must be determined by the physician.
Lifetime
The product is designed for a lifetime of 3 years when used as intended and assembled professionally.
Safety
Explanation of warning symbols
CAUTION Warning regarding possible risks of accident or injury.
NOTICE Warning regarding possible technical damage.
Safety instructions
CAUTION
Excessive strain on load-bearing components
Injuries due to changes in or loss of functionality
- Only use the product for the defined area of application.
- If the product has been exposed to extreme strain (e.g. due to falling), take any necessary measures (e.g. repair, replacement, inspection by the manufacturer’s customer service, etc.).
CAUTION
Incorrect alignment or assembly
Injuries due to changes in or loss of functionality
- The product may only be installed by trained, qualified personnel.
- Observe the alignment and assembly instructions.
CAUTION
Mechanical damage to the product
Injuries due to changes in or loss of functionality
- Use caution when working with the product.
- Check the product for proper function and readiness for use.
- In case of changes in or loss of functionality, discontinue use of the product and have it checked by authorised, qualified personnel.
CAUTION
Improper handling
Risk of falling due to accidentally opening the lock
- Prior to handing over the orthosis, ensure that the locks are engaged securely and in parallel.
- Avoid accidentally opening the locks.
- Instruct the patient in the correct usage of the system joints.
CAUTION
Excessive strain due to use on more than one patient
Risk of injury and loss of functionality as well as damage to the product
- Use the product on only one patient.
- Observe the maintenance recommendations.
NOTICE
Thermal overloading of the product
Damage due to improper thermal treatment
- Do not carry out any heat treatment at temperatures above 300 °C (570 °F).
- Prior to thermal treatment, remove all temperature-critical components (such as plastic parts).
NOTICE
Exposure of the product to unsuitable environmental conditions
Damage, brittleness or destruction due to improper handling
- Avoid storage in condensing ambient humidity.
- Avoid contact with abrasive substances (e.g. sand, dust).
- Do not expose the product to temperatures below -10 °C (14 °F) or above +60 °C (140 °F) (e.g. sauna, excessive sunlight, drying on a radiator)
Preparing the product for use
Gluing in bars
INFORMATION
Corrosion protection
The side bars and orthotic joints are resistant to corrosion. Fine grinding and polishing increase corrosion protection. Use sintering powder (e. g. 618T40) for coating.
Combine the orthotic joints with:
Side bars: 17B38*, 17B39*, 17B40*, 17B41*, 17B84*, 17B85*
Lamination bars: 17Y128*, 17Y129*
Required materials: 636W18 special glue and 636W19 hardener or 636W28 special glue, degreasing cleaner
The bars must be glued in the insertion zones to ensure stability.
- Clean the connecting surfaces with a degreasing cleaner.
- Mix the special glue and the hardener.
- Apply the mixture to the insertion zones.
- Insert the bars.
- Secure with the enclosed screws.
- Allow to cure for at least 4 hours.
INFORMATION: Final bonding strength will be reached after 16 hours.
Inserting the compression spring
- Only for 17B23*, 17B45*, 17B92*: Insert the compression spring into the upper joint sectio
Converting 17B23=L/R16-K, 17B23=L/K20-K to long lock lever Replace the centric lower joint section and the centric lock lever together. INFORMATION: The lower joint section and the long lock lever are marked with a Z (centric).
- Loosen the screws and remove the bearing nuts.
- Disassemble the lock lever and the orthotic joint.
- Replace the lower joint section with the 30U88* centric lower joint section.
- Replace the lock lever with the 17Y34/17Y20 centric lock lever.
- Assemble the lock lever and the orthotic joint with the screws and bearing nuts.
- Secure the screws with Loctite 241.
Converting the 17B23*, 17B33*, 17B45*, 17B91*, 17B92* to cable pull release
Replace the eccentric lower joint section and the short lock lever together.
- Loosen the screws and remove the bearing nuts.
- Disassemble the lock lever and the orthotic joint.
- Replace the centric lower joint section with the 30U88* eccentric lower joint section.
- Replace the centric lock lever with the 17Y104 eccentric lock lever.
- Assemble the lock lever and the orthotic joint with the screws and bearing nuts.
- Secure the screws with Loctite 241.
Replacing the short lock lever
Inspect the 17Y104 lock lever and replace it in case of signs of wear.
- Loosen the lock screw and remove the bearing nut from the upper joint section.
- Remove the lock lever.
- Insert the replaced lock lever into the upper joint section.
- Optional Rework the lower side of the short lock lever until the engagement reserve reaches 5 mm (see fig. 4). INFORMATION: Do not rework the locking surfaces of the lower joint section and the lock lever.
- Assemble the lock lever and the orthotic joint with the screws and bearing nuts.
- Secure the screws with Loctite241.
Connecting the lock lever
For simultaneous triggering of the two 17Y57 lock levers, the lock levers can be interconnected.
- Weld or solder the 17Y53 connection tube to the lock lever.
- Verify that the two locks release and engage simultaneously.
- Connect the lock levers with a traction element (e.g. elastic strap) to enable engaging
Using protective devices
- Protect the product against dirt: Use suitable protective devices (e.g. joint protectors).
Cleaning
Promptly clean the product after contact with water containing salt, chlorine or soap, or if it gets dirty.
- Rinse system joints with clean fresh water.
- Dry system joints with a cloth or allow to air dry. Avoid exposure to direct heat (e.g. from an oven or radiator).
Maintenance
CAUTION
Use of an incorrect lock
Injuries from falling due to an incorrect lock being installed
- Only use locks of the same size when reinstalling or replacing.
INFORMATION
The product may be exposed to increased loads by the patient.
- Shorten the maintenance intervals according to the expected loads.
INFORMATION
Increased wear and tear
The orthotic knee joints are intended only for use in combination with freemotion or foot lifting orthotic ankle joints. Wear occurs more rapidly in combinations involving orthotic ankle joints with a dorsal stop.
The manufacturer requires at least a semi-annual inspection of the product to verify functionality and check for wear. Spare parts are listed in the section “Components/design”. Only use 633F7 special lubricant.
Disposal
Dispose of the product in accordance with national regulations.
Legal information
All legal conditions are subject to the respective national laws of the country of use and may vary accordingly.
Liability
The manufacturer will only assume liability if the product is used in accordance with the descriptions and instructions provided in this document. The manufacturer will not assume liability for damage caused by disregarding the information in this document, particularly due to improper use or unauthorised modification of the product
CE conformity
The product meets the requirements of Regulation (EU) 2017/745 on medical devices. The CE declaration of conformity can be downloaded from the manufacturer’s website.



















