

17AD1*, 17AF2*
17AD1 Multifunctional Ankle Joint





Foreword
INFORMATION
Date of last update: 2021-07-22
► Please read this document carefully before using the product and observe the safety notices.
► Instruct the user in the safe use of the product.
► Please contact the manufacturer if you have questions about the product or in case of problems.
► Report each serious incident related to the product to the manufacturer and to the relevant authority in your country. This is particularly import ant when there is a decline in the health state.
► Please keep this document for your records.
These instructions for use provide you with important information on the pro cessing of the 17AD1* and 17AF2* orthotic ankle joints.
Product description
Available sizes
The orthotic ankle joints are available in two versions and are delivered in pairs.
| Size | Weight (per pair) | Max. body weight up to | Lower leg length (MTP -floor) | Overall length upper section-foot stirrup | Material |
| 17AD1=120 | 160 g | 100 kg | 55 cm | 120 mm | Stainless steel |
| 17AD1=93 | 130 g | 35 kg | 35 cm | 93 mm | |
| 17AF2=77 | 60 g | 100 kg | 55 cm | 77.5 mm | Stainless steel |
| 17AF2=63 | 30 g | 35 kg | 35 cm | 63.5 mm |
Components
17AD1*
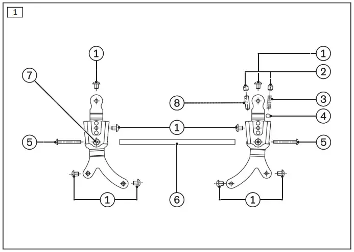
Scope of delivery (see Fig. 1)
| Item | Designation | Spare part | Article number |
| 1 | Oval head screw | 501S89=M5x6 501S89=M5x8 (for heavier plastic) | |
| 2 | Set screw | 506G21=M6x6 | |
| 3 | Compression spring | X | 513D83= 1.1×3.7 |
| 4 | Ball | 509Y1=5.0 | |
| 5 | Shoulder screw for parallel retainer | 501598=M4x30 | |
| 6 | Parallel retainer | 29PK5 | |
| 7 | Joint screw | X | 501532=M4X7.5X10 |
| not illus- trated | Bearing nut | X | 17Y93=M4X6X6.1 |
| not illus- trated | Red washer | X | 507U5=9.8X7.4X1.5 |
| 8 | Stop pin | 506A8=2×18 506A8=3×18 506A8=5×18 506A8=5×20 |
Service set
| Article number | Consisting of |
| 17AS=19 | Bearing nut Compression spring Joint screw Red washer |
Accessories
| Article number | Designation | Size |
| 743Y57 | Alignment insert | 5 |
17AF2*
Scope of delivery (see Fig. 2)
| Item | Component | Article number |
| 1 | Oval head screw | 501S89=M5x6 501S89=M5x8 (for heav ier plastic) |
| 2 | Shoulder screw for parallel retainer | 501S98=M4x30 |
| 3 | Parallel retainer | 29PK5 |
Design
The orthotic ankle joints are made of stainless steel.
To limit movement, e.g. for dorsiflexion, the 17AD1* can be equipped with a stop pin or compression spring.
The 17AF2* is a freely moving orthotic joint with no movement limitation.
Intended use
Indications for use
The orthotic ankle joints are to be used exclusively in pairs in thermoplastic ankle-foot orthoses (AFOs) for treatment of the lower limbs.
Indications
- Partial or total paralysis of the lower leg muscles
- Orthopaedic diseases of the lower limbs Indications must be determined by the physician.
Lifetime
The product is designed for a lifetime of 3 years when used as intended and assembled professionally.
Qualification
Patients may be fitted with the product only by trained qualified personnel. The qualified personnel must be familiar with the handling of the various techniques, materials, machines and tools.
Safety
Explanation of warning symbols
Warning regarding possible risks of accident or injury.
Warning regarding possible technical damage.
General safety instructions
![]()
Risk of injury and risk of product damage
► Use the product as intended and only for the defined area of application.
► If the product has been exposed to extreme strain (e.g. due to falling), take appropriate measures (e.g. repair, replacement, inspection by the manufacturer’s customer service, etc.).
► Use caution when working with the product.
► Check the product it for proper function and readiness for use.
► In case of changes in or loss of functionality, do not continue using the product and have it checked by authorised, qualified personnel.
► Use the product on one patient only.
► Observe the maintenance recommendations.
![]()
Risk of product damage and limited functionality
► Avoid storage in condensing ambient humidity.
► Avoid contact with abrasive substances (e.g. sand, dust).
► Do not expose the product to temperatures below -10 °C or above +60 °C (e.g. sauna, excessive sunlight, drying on a radiator).
Preparing the product for use
![]()
Incorrect alignment, assembly or adjustment
Risk of injury due to change in or loss of functionality
► Assembly, adjustment and maintenance operations may only be com pleted by qualified personnel.
► Observe the alignment, assembly and adjustment instructions.
![]()
Thermal overloading of the product
Damage due to improper thermal treatment
► Do not carry out any heat treatment at temperatures above 300 °C (570 °F).
► Prior to thermal treatment, remove all temperature-critical components (such as plastic parts).
Vacuum forming the orthosis
> Required materials: 743A7 pivot point adjustment aid, 623T3 Perlon stockinette, Loctite 241, plaster negative, metal rod, parallel retainer, Plasticine or 636K8 Plastaband, thermoplastic material
> Prerequisite: A patient-specific plaster model has been fabricated.
- Mark the compromise axis of rotation of the anatomical ankle joint on the plaster negative. Use the 743A7 pivot point adjustment aid for this pur pose (see fig. 3).
- Open the plaster negative at the marked compromise pivot points (see fig. 4).
- Insert the parallel retainer. Ensure that the parallel retainer is not bent (see fig. 5). Optional: Use the 743Y57 alignment insert, size 5.
- Insert a metal rod into the plaster negative. Ensure that the metal rod and the parallel retainer do not touch (see fig. 6).
- Fabricate the plaster positive.
- Remove the plaster negative.
- Shorten the parallel retainer. The parallel retainer has to be flush with the contour of the plaster positive (see fig. 7).
- Mark the alignment reference lines of the orthotic joints on the plaster positive. Use the 743A7 pivot point adjustment aid for this purpose (see fig. 8).
- Adjust the orthotic joints and the foot stirrups. Use bending irons (see fig. 9, see fig. 10).
- Attach the orthotic joints to the parallel retainer with the slotted oval head screws.
- Attach the orthotic joints to the plaster positive with Plasticine. The Plas ticine has to be flush with the plaster positive (see fig. 11).
- Pull two layers of Perlon stockinette over the plaster positive.
- Vacuum form the heated thermoplastic material over the plaster positive (see fig. 12).
- Mark the cut edges of the orthosis (see fig. 13).
- Cut the orthosis free and deburr the edges. Ensure that the cut edge at the foot stirrup runs directly below the ankle joint. This results in the highest possible supporting surface of the foot stirrup.
- Transfer the bore holes of the bar and the foot stirrup to the orthosis shell (see fig. 14).
- Screw the orthotic joints to the orthosis shell.
- Clean the threads of the screw connections using a degreasing cleaner and secure them with Loctite 241 (see fig. 15).
17AD1*
The 17AD1* orthotic ankle joints are adapted to the needs of the patient through the individual combination of the ball, stop pin and compression spring with the set screws.
- Assemble the threaded holes with ball, stop pin and/or compression spring in the required combination.
- Install the set screws in the threaded holes.
- Set the angle and/or spring force of the orthotic joint depending on the combination.
- Clean the threads of the set screws using a degreasing cleaner and secure them with Loctite 241.
Cleaning
Promptly clean the product after contact with water containing salt, chlorine or soap, or if it gets dirty.
- Rinse the product with clear fresh water.
- Dry the product with a cloth or allow it to air dry. Avoid exposure to direct heat (e. g. from an oven or radiator).
Maintenance
INFORMATION
The product may be exposed to increased loads by the patient.
► Shorten the maintenance intervals according to the expected loads.
The manufacturer requires an inspection of the product every 6 months to verify functionality and check for wear at a minimum. Spare parts are listed in the section “Components/design”.
17AD1*
A service kit can be ordered for product maintenance.
Replacing the compression spring
► Replace the compression spring with a new spring when there are signs of wear and tear, but no later than after 12 months.
► Lubricate the orthotic ankle joints, using only 633F7 special lubricant.
Before handing the orthosis over to the patient, secure all screw connec tions with Loctite 241.
17AF2*
► The orthotic ankle joints are maintenance-free. If you have any doubts, please contact the manufacturer.
Disposal
Dispose of the product in accordance with national regulations.
Legal information
All legal conditions are subject to the respective national laws of the country of use and may vary accordingly.
Liability
The manufacturer will only assume liability if the product is used in accord ance with the descriptions and instructions provided in this document. The manufacturer will not assume liability for damage caused by disregarding the information in this document, particularly due to improper use or unauthor ised modification of the product.
CE conformity
The product meets the requirements of Regulation (EU) 2017/745 on medic al devices. The CE declaration of conformity can be downloaded from the manufacturer’s website.
![]()
__________________________________
![]()
Ottobock SE & Co. KGaA
Max-Näder-Straße 15 · 37115 Duderstadt · Germany
T +49 5527 848-0 · F +49 5527 848-3360
[email protected] · www.ottobock.com
© Ottobock · 647G166=all_INT-17-2108



















