RD13 (EU)
Residential Riser

Features
- Pre-assembled and pressure tested
- Available in 1”,1 1/4”, 1 1/2”, & 2” nominal pipe size models
- Female adapter ships loose so riser can be installed in a confined space
- Fits in standard 2X4 construction walls
- Includes 3 way valve to allow for calibration of pressure gauge
WARNING
- Installation must be performed by qualified personnel and in accordance with all national and local codes and ordinances.
- Shock hazard. Disconnect power source before servicing. Serious injury or death could result.
- Risk of explosion. Not for use in hazardous locations. Serious injury or death could result.
Description
The RD13 EU Riser (with BSPT connectors) is constructed from Listed CPVC products suitable for fire sprinkler services subject to the limitations and installation requirements of Blazemaster® Pipe Manufactured by Viking and CPVC fittings manufactured by Nibco.
The RD13 EU Riser incorporates a VSR-SG flow switch, gauge, drain/test valve. The VSR-SG flow switch is equipped with union connection to facilitate the installation and removal of the switch in confined spaces.
Installation
- Using appropriate fittings, connect the main water supply to the bottom of the riser and the drain connection to an adequate drain line. The riser can be mounted in a horizontal or vertical position. Direction of flow is indicated in Fig. 1. The waterflow switch must be in position that prevents debris from entering the waterflow switch. The BSPT Adaptor is shipped loose to ease installation. Make-on the threaded connection to the water supply or glue adaptor to the riser dependent upon field conditions.
- Following CPVC manufacturer’s instructions for preparation and gluing of CPVC piping systems, glue the main riser to the main supply line for sprinkler heads.
NOTE: All glued connections must be completed and cured before the flow switch is installed. (Continued on page 2). - A thread sealant shall be used in making threaded connections. Teflon® thread tape is the recommended sealant. Some thread sealants other than Teflon thread tape contain solvents or other materials that may be damaging to CPVC. For other types of thread sealants, which have been specifically investigated and confirmed to be “System Compatible”, refer to www.blazemaster.com. Attach gauge to riser. Apply Teflon® tape to male fitting of gauge only.
- Check to make sure the proper paddle is installed on the switch. (Paddle size must match the riser pipe size and Tee manufacture.)
- Install the flow switch to the RD13 EU Riser. Verify that the o-ring is properly positioned in its groove. Hand tighten the nut to the union after orienting the flow switch in the appropriate direction to detect waterflow. The paddle must not rub the inside of the Tee or bind in any way. The stem should move freely when operated by hand. See Fig. 1.
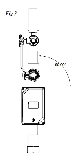
NOTE: Do not leave switch cover off for an extended period of time. - The side of flow switch must be perpendicular with the riser piping. See Fig. 3.
CAUTION
Do not over-tighten the union nut, hand tighten only. Use of a wrench may cause damage to the union nut.
Flow Switch Technical Specifications
| Dimensions | See Fig 2 |
| Service Pressure | 12,07 BAR (175 PSI) |
| Flow Sensitivity Range for Signal | 15-38 LPM (4-10 GPM) – UL |
| Maximum Surge | 5.5 MPS (18 FPS) |
| Contact Ratings | Two sets of SPDT (Form C) 10.0 Amps at 125/250VAC 2.0 Amps at 30VDC Resistive 10 m Amps min. at 24V DC Resistive |
| Environmental Limitations | Temperature range: 4.5°C – 49°C (40°F – 120°F) |
| Conduit Entrances | Two knockouts provided for 1/2″ conduit |
Specifications subject to change without notice
Service Use
Automatic Sprinkler NFPA-13
One or two family dwelling NFPA-13D
Residential occupancy up to four stories NFPA-13R
National Fire Alarm Code NFPA-72
British Standard BS9251
Testing
The frequency of inspection and testing for the Model VSR-SG and its associated protective monitoring system, should be in accordance with applicable Codes and Standards and/or the authority having jurisdiction (manufacturer recommends quarterly or more frequently.) If provided, the inspector’s test valve (usually located at the end of the most remote branch line) should be used for test purposes. If there is no remote inspection test connection; a short length of hose may be connected to the discharge of the 1” drain line valve, or if the drain line is connected to a drain such as a slop sink or storm drain that will sufficiently handle the discharge of the main drain valve. The drain valve can be used to test the operation of the VSR-SG switch. A minimum flow of 38 LPM (10 GPM) is required to activate this switch. An orifice equal to the smallest sprinkler head orifice used in the system shall be attached to the drain line for testing purposes.
Maintenance
The VSR-SG waterflow switch should provide years of trouble-free service. The retard and switch assembly are easily field replaceable. In the unlikely event that either component does not perform properly, please order replacement retard switch assembly stock number 1029030. There is no maintenance required, only periodic testing and inspection..
Removal
- To prevent accidental water damage, all control valves should be shut tight and the system completely drained before waterflow detectors are removed or replaced.
- Turn off electrical power to the detector, then disconnect wiring.
- Loosen nut on union fitting.
- Lift detector clear of pipe.

Retard Adjustment
The delay can be adjusted by rotating the retard adjustment knob from to the max setting (60-90 seconds). The time delay should be set at the minimum required to prevent false alarms.
Important:
The paddles have raised lettering that show the pipe size and the TEE manufacturer they are to be used with. The proper paddle must be used.
The paddle must be properly attached and the screw that holds the paddle must be securely tightened.
Dimensions (See Chart Below)
Orientation

CAUTION
Flow switch must be properly orientated. Side of cover must be perpendicular with the pipe. Improper orientation could delay or prevent notification of waterflow.
| *RD13 Risers (ASSEMBLED DIMENSIONS) | ||||||||||
| Riser Size | Model Number | Part Number | Dimension “A” | Dimension “B” | Dimension “C” | Dimension “D” | ||||
| (mm.) | (in.) | (mm.) | (in.) | (mm.) | (in.) | (mm.) | (in) | |||
| 1″ | RD13-100-E | 1119002 | 549 | 21 5/8 | 467 | 18 3/8 | 222 | 8 3/4 | 244 | 9 5/8 |
| 1 ‘A” | RD13-125-E | 1119004 | 622 | 24 1/2 | 543 | 21 3/8 | 229 | 9 | 254 | 10 |
| 1 1/2Il | RD13-150-E | 1119006 | N/A | N/A | 549 | 21 5/8 | 229 | 9 | 260 | 10 1/4 |
| 2″ | RD13-200-E | 1119008 | N/A | N/A | 565 | 22 1/4 | 238 | 9 3/8 | 273 | 10 3/4 |
Ordering Information
| Ordering Information | ||
| Nominal Pipe Size | Model | Part Number |
| 1″ | RD13 EU RISER BSPT | 1119002 |
| 1 1/4″ | RD13 EU RISER BSPT | 1119004 |
| 1 1/2″ | RD13 EU RISER BSPT | 1119006 |
| 2″ | RD13 EU RISER BSPT | 1119008 |
Optional: Cover Tamper Switch Kit, stock no. 0090148
Replaceable Components: Retard/Switch Assembly, stock no. 1029030
Replacement VSR-G, stock no. 1144460
Gauge, Flow Switch, and NPT Adapter shipped loose in box.
Potter Electric Signal Company, LLC • St. Louis, MO
• Tech Support: 866-956-0988 / Customer Service: 866-572-3005
• www.pottersignal.com
ISO 9001:2015
CERTIFIED
DESIGNING, MANUFACTURING, & DISTRIBUTING QUALITY SYSTEMS
5401515 – REV C • 6/20
firealarmresources.com
















