INODOROS
TOILETS
Instruction manual![]()
Tools needed
(not supplied)
- Adjustable flat wrench
- Screwdriver
- Level
- Measuring tape
- Pencil
- Electric drill
BEFORE STARTING TO MOUNT
- Check the product and make sure all the indicated parts are present. Otherwise, contact the seller.
- Gather all tools before starting, verify that the mounting area is clean and dry.
- Ensure that the water supply and drain valves are in the proper position for installation.
- Caution: Be careful when drilling walls and floor to avoid holes in pipes or cables.
- Thank you for choosing our product. Please read these instructions carefully. It is possible that some facilities require professional help.
Parts included

INSTALLATION OF THE TOILET
INSTALLATION OF THE cistern
- Visualize which position of the medium holes will be the most suitable for the placement of the filling mechanism. Place the plug with its washer and thread in the opposite hole.

- Place the water inlet device in the same way. Please, check for any leaks after installation. Once the nut is tightened, the installation hole of the ceramic can become distorted and could cause leakage. For a correct installation of this mechanism, the critical filling level should be at least 25 mm above the overflow valve.

- Place the discharge mechanism in the central hole. After adjusting it with the nut, cover it with the rubber provided.

- Finally install the fixing kit of the tank and adjust it with its respective washers and nuts once the cistern is placed on the seat.

Installation of the toilet
COVER INSTALLATION
- From the kit provided for securing the cover, in- sert the plug into the hole in the seat. Then enter the other two pieces shown.

- Adjust the screws so that they are level with the holes. Once adjusted, put the trim and install the cover.

In the case of vertical evacuation
In the case that the installation needs to be carried out with vertical evacuation, you must install the vertical conversion.

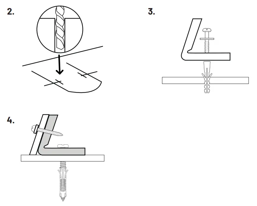
FIXING TO THE FLOOR
- Place the toilet in the final position of your insta- llation and mark the position of the necessary ins- tallation holes on the floor. Cover the outside with the trim.

- Measure the distance in the toilet and arrange the supports at that distance with the marks on the floor. After checking that they are up to the mark, mark, drill and fix the brackets of the kit using the screws and the provided plugs.

Proper toilet maintenance
- Avoid using “drop in the tank” cleaners, as these can damage the rubber flaps and other mecha-nisms.
- Use a porcelain -safe household cleaner to clean off the tank, seat, and handle to disinfect them and prevent stains.
- Avoid tossing anything else into the bowl. If you do experience a clogged toilet, turn off the water using the emergency shutoff valve mounted on your wall behind and beneath the tank to prevent overflowing.
- never pour a chemical drain cleaner down your toilet to damage your plumbing pipes. If you can’t repair a clogged toilet on your own, contact a professional plumber for assistance.
Recommendations
- For better maintenance of the seat, clean immediately after each use to avoid the proliferation of bacteria.
- If necessary, sand small scratches and possible abrasions with a soft sanding compound.
- Never leave traces of soap or other cleaning products – as they can cause permanent damage.
- Never mix different types of cleaners in the toilet since they could react and generate harmful gases.
WARRANTY
- This products warranty for 3 years. The guarantee covers the change or repair of any failure or defect of the device, provided that it is due to a manufacturing fault or a defective component.
Fault and resolvent
| No partial flush | Check the fill water level whether is higher than the partial float. If not, adjust the water level higher or adjust the float lower. |
| No flush or flush less after push down the button | 1. Check the button whether is pushed to the proper position. 2. Check the button rod whether is too short. If yes, adjust the adjustment rod’s length. |
Note: It is normal that water flows from the inside of the toilet in a moment after the flush.
Attention: Reduce the siphon to adapt it to the overflow level.
WARRANTY EXCLUSIONS
Defects caused by improper handling are not covered by the warranty.
ENVIRONMENTAL CARE
Paper, plastic and other materials should be separated into the appropriate containers when throwing away the packaging.
It is recommended that the installation be carried out by an authorized installer.
Attention!
Disconnect the water connection before being manipulated and make the product change only then.
ARTECRISTAL BAÑO S.L.
Crta. Andalucía Km 35,7, nave 6
45224 Seseña Nuevo, Toledo, España
www.artecristalbanos.com























