TOTO Carlyle One Piece Toilet Instruction Manual
THANKS FOR CHOOSING TOTO!
The mission of TOTO is to provide the world with healthy, hygienic and more comfortable lifestyles. We design every product with the balance of form and function as a guiding principle. Congratulations on your choice.
COMMON TOOLS NEEDED
- 12” pipe wrench
- 10” adjustable wrench
- Carpenter’s Level
- Tape Measure
- Plier
- Screwdriver
- Putty Knife
- Drill
- 11/64″ drill bit for concrete/tile installation
- 5/16″ drill bit for concrete/tile installation
MATERIALS REQUIRED:
- Flexible Supply Tube / Connector
- Supply Stop Valve
- Mounting (T) Bolts & Nuts (2pc)
- Wax Ring / Seal
INCLUDED PARTS
Check to make sure you have all these parts from the package:
- China Bowl with Lid

- Toilet Seat Set

- Cover Plate (2 pieces)

- Top Bolt Mount Set (for seat)

In the Uni Fit Rough-In box:
- PVC outlet Connection

- Toilet Mounting Bolt (T-Bolt) (2 pieces)

- T-Bolt Washer (2 pieces)

- Anchor (4 pieces)

- Mounting Screw with Washer (4 pieces)

- T-Bolt Nut (2 pieces)

BEFORE INSTALLATION
- Read these instructions thoroughly before beginning work.
- Please leave instructions for customers. These instruction contain maintenance and warranty information.
- If necessary, remove the existing toilet.
IMPORTANT!
Due to the powerful performance of our Cyclone, G-Max, E-Max and Power Gravity flushing systems, they are not specified for back-to-back installations. The only means of installing these toilets in a back-to-back situation is when the toilet drain connections incorporate a WYE fitting. Please contact your builder or contractor prior to this installation.
In order for your new TOTO toilet to fit correctly, check the dimensions below:
- The distance between the finished wall to the center of the toilet outlet, rough-in “RI”:

Please make sure that you have the correct outlet connection part:“RI” Outlet Connection Part No. 12″ TSUO1W.12R / TSUO3W.12R / TSUO6W.12 (Supplied) 
10″ TSUO1W.10R / TSUO3W.10R (Optional – Must be purchased separately) 
14″ TSUO1W.14R / TSUO3W.14R (Optional – Must be purchased separately) 
- The water supply must be approximately 8 inches or 10 inches to the left (facing the bowl) from the center line of the closet flange and approximately 4-1/2″ above the floor.
INSTALLATION PROCEDURE
- Clean any debris out of the closet flange, then install the mounting bolts into the slots of the flange (see Illustration 1). The bolt should be inserted into the slot with its head down and threaded shank pointed upward.

- Drill four 11/64″ holes on the floor at the location shown in the Unifit Rough-In installation instructions found in the Rough-In box (see Illustration 2).
(5/16″ holes are for concrete / tile floor anchors).
- Turn the PVC outlet connection upside down. Firmly press a new wax seal onto the circular recess around the outlet opening. Turn the outlet connec-tion upright and lower it into position over the closet flange. With the unit properly aligned, press down firmly to set the wax seal (see Illustration 3).
CAUTION: Do not move the outlet connection after the wax seal is set.
- Insert the washers and thread nuts onto the mounting bolts and hand-tighten (see Illustration 4). Then tighten bolts an additional 1/2 turn. Secure the back side of the outlet connection to the floor using the 4 screws and wash-ers.lnsert the T-bolts into the slots with the head down and threaded shank pointed upward.
NOTE: Level the PVC outlet. Do not use excessive force.
- Lift the toilet and gently lower it into position over the closet flange (see Il-lustration 5) Make sure that the spigot outlet of toilet slips into the rubber sleeve and that the T-bolts fit through the openings in the base of toilet. Insert the washer and thread nuts onto the bolts and hand tighten. Then tighten the bolts an additional 1/2 turn.
WARNING! Do not over-tighten the nuts. Damage to china or plastic parts may result.
- The supply stop should be installed per the supply stop instruction at the location shown in the Before Installation section. Flush the water line briefly to ensure removal of debris. Connect flexible supply hose to supply stop.
CAUTION: Hand-tighten only. Open the supply stop, checking for leak-age. Slightly re-tighten if necessary. The water supply pressure should be 20 to 80 psi static.
- NOTE: No ballcock / fill valve adjustments are needed. The water will automatically stop at proper level. Flush the toilet several times. Check flap-per valve for proper operation. Make sure that chain is not tangled and flapper arm is in its proper position.
- Install the toilet tank lid onto the toilet tank top.
- Install the toilet seat onto the toilet bowl (see Illustration 7). (Top Mount Bolt Set is included with the bowl). Insert the rubber bushing nuts into the bowl seat holes.
NOTE: Remove the existing seat if necessary.
Place the seat on the bowl and rotate the hinge unit into place while holding seat down on the bowl. Fasten and tighten the bolt from the top with a screwdriver. Replace the bolt cap and the lower lid (if necessary).
MAINTENANCE INSTRUCTIONS
Fill Valve Replacement Procedure
- Shut off the water supply to the toilet.
- Flush toilet and remove remaining water from tank with a sponge.
- Remove the water supply connection at the fill valve.
- Remove old fill valve and use damp sponge to clean hole in tank.
- Place new fill valve inside tank hole.
- Thread mounting nut onto fill valve shank and tighten the nut.
NOTE: Do not over-tighten. Be sure to install fill valve in a position that does not interfere with the trip lever operation. - Connect water supply to fill valve shank and hand-tighten only.
NOTE: Do not overtighten. These are plastic parts. Never use pipe dope on any water supply connection. - Attach refill tube to fill valve nipple and clip other end of refill tube to the overflow pipe.
- Turn water supply ON and check for leaks outside the tank.
NOTE: As water fills the tank, water is also directed into the overflow tube via the refill tube. This additional flow of water is critical to refilling your toilet’s bowl. Once the water stops filling the tank, some residual drops of water may drip from the fill valve. This is NORMAL as these drops will subside.
Water Level Adjustment
Depending on the manufacturing plant, you may have one of two of the following fill valves:
For Type A Fill Valve:
Refer to the water level (WL) setting marked on the inner wall of the tank. Allow the wa-ter to fill the tank. Turn the adjustment screw clockwise in the (+) direction to increase the water level height (see Illustration 1). Turn the adjustment screw counter-clockwise in the (-) direction to decrease the water level height. Flush the toilet to verify the correct water level. Adjust as necessary.
For Type B Fill Valve:
There are no water level adjustments. The fill valve has been preset at the factory.
Replacing the Flush Valve (CST614CUF* Model Only)
- Turn off water supply and flush the toilet. Remove the remaining water from tank with a sponge.
- Remove the tank lid and place it upside down on a clean surface.
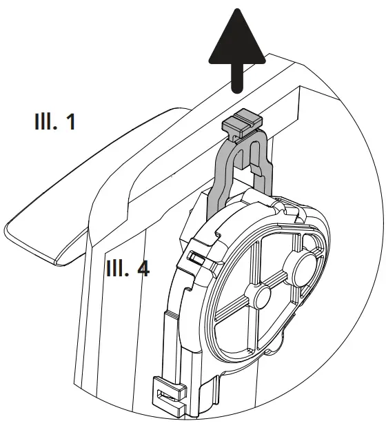
- Pull the clip on top of trip lever gear box as shown. (see Ill.1)

- Pull gear box away and set on the side as shown. (see Ill. 2).

- Rotate and pull up on the flush tower to remove it. (see Ill. 3).
- Remove the grey rubber seal gasket and rinse under running water to clean. (see Ill. 4).

- Place the gasket back on the ush tower.
- Align and place the ush tower into housing and gently press to snap and to lock into place.
- Replace the trip lever gear box and push down on lever to lock it in place.
- Carefully install the tank lid back on the tank.
- Flush the toilet several times making sure the trip lever operates normally.
- Check the water level in the tank and leak.
Replacing the Drain Valve
- Shut off the water supply.
- Flush the toilet to remove the water inside the tank.
- Remove the tank lid and place somewhere safe.
NOTE: Before removing anything from the tank, note the placement of the drain valve, chain and refill tube. - Unhook the refill tube from the overflow tube of the drain valve.
- Unlock the flush tower unit by turning counter-clockwise with the chain hook still attached to the trip lever (ill.1).

- Unhook the chain from the trip lever and remove the flush tower unit (ill.2).

- Unscrew the three screws from the drain valve body.
IMPORTANT: Make sure not to turn more than seven full turns as the black mounting block can fall into the water channel. - Remove the drain valve body from the tank (ill.3)

- Replace the drain valve in the same position as the former drain valve.
- Tighten the screws, applying light torque on each screw before final torque on all three screws.
- Install the flush tower unit onto the drain valve body and turn clockwise to lock the part.
- Hook the chain back to its original loction, and the refill tube.
- Turn the water supply back on and check for any leak after the tank has been filled.
CARE AND CLEANING
WARNING!
DO NOT USE IN-TANK BOWLCLEANERS.
The use of high concentration of chlorine or chlorine-related products can seriously damage fittings in the tank. This damage can cause leakage and property damage. TOTO® shall not be responsible or liable for any tank fitting failure or damage caused by the use of in-tank bowl cleaners.
WARRANTY
- TOTO warrants its vitreous china products (“Product”) to be free from defects in materials and workmanship during normal use when properly installed and serviced, for a period of one (1) year from date of purchase. This limited warranty is extended only to the ORIGINAL PURCHASER of the Product and is not transferable to any third party, including but not limited to any subsequent purchaser or owner of the Product. This warranty applies only to TOTO Product purchased and installed in North, Central and South America.
- TOTO’s obligations under this warranty are limited to repair, replacement or other appropriate adjustment, at TOTO’s option, of the Product or parts found to be defective in normal use, provided that such Product was properly installed, used and serviced in accordance with instructions. TOTO reserves the right to make such inspections as may be necessary in order to determine the cause of the defect. TOTO will not charge for labor or parts in connection with warranty repairs or replacements. TOTO is not responsible for the cost of removal, return and/ or reinstallation of the Product.
- This warranty does not apply to the following items:
a. Damage or loss sustained in a natural calamity such as fire, earthquake, flood, thunder, electrical storm, etc.
b. Damage or loss resulting from any accident, unreasonable use, misuse, abuse, negli-gence, or improper care, cleaning, or maintenance of the Product.
c. Damage or loss resulting from sediments or foreign matter contained in a water system.
d. Damage or loss resulting from improper installation or from installation of the Product in a harsh and/or hazardous environment, or improper removal, repair or modification of the Product.
(NOTE: Product model codes allow a maximum of 80 PSI. Check local codes or standards for requirements).
e. Damage or loss resulting from electrical surges or lightning strikes or other acts which are not the fault of TOTO or which the Product is not specified to tolerate.
f. Damage or loss resulting from normal and customary wear and tear, such as gloss reduction, scratching or fading over time due to use, cleaning practices or water or atmospheric conditions.
g. Tank flushing mechanisms of plastic or rubber moving parts.
h. Toilet seats of plastic, wood or metal. - In order for this limited warranty to be valid, proof of purchase is required. TOTO encourages warranty registration upon purchase to create a record of Product ownership at http://www.totousa.com. Product registration is completely voluntary and failure to register will not dimin-ish your limited warranty rights.
- THIS WARRANTY GIVES YOU SPECIFIC LEGAL RIGHTS. YOU MAY HAVE OTHER RIGHTS WHICH VARY FROM STATE TO STATE, PROVINCE TO PROVINCE OR COUNTRY TO COUNTRY.
- To obtain warranty repair service under this warranty, you must take the Product or deliver it prepaid to a TOTO service facility together with proof of purchase (original sales receipt) and a letter stating the problem, or contact a TOTO distributor or products service contractor, or write directly to TOTO U.S.A., INC., 1155 Southern Road, Morrow, GA 30260 (678) 466-1300 or (888) 295-8134, if outside the U.S.A. If, because of the size of the Product or nature of the defect, the Product cannot be returned to TOTO, receipt by TOTO of written notice of the defect together with proof of purchase (original sales receipt) shall constitute delivery. In such case, TOTO may choose to repair the Product at the purchaser’s location or pay to transport the Product to a service facility.
WARNING! TOTO shall not be responsible or liable for any failure of, or damage to, this Product caused by either chloramines in the treatment of public water supply or cleaners containing chlorine (calcium hypochlorite). NOTE: The use of a high concentrate chlorine or chlorine related products can seriously damage the fittings. This damage can cause leakage and serious property damage.
THIS WRITTEN WARRANTY IS THE ONLY WARRANTY MADE BY TOTO. REPAIR, REPLACEMENT OR OTHER APPROPRIATE ADJUSTMENT AS PROVIDED UNDER THIS WARRANTY SHALL BE THE EXCLUSIVE REMEDY AVAILABLE TO THE ORIGINAL PURCHASER. TOTO SHALL NOT BE RESPONSIBLE FOR LOSS OF THE PRODUCT OR FOR OTHER INCIDENTAL, SPECIAL OR CONSEQUENTIAL DAMAGES OR EXPENSES INCURRED BY THE ORIGINAL PURCHASER, OR FOR LABOR OR OTHER COSTS DUE TO INSTALLATION OR REMOVAL, OR COSTS OF REPAIRS BY OTHERS, OR FOR ANY OTHER EXPENSE NOT SPECIFICALLY STATED ABOVE. IN NO EVENT WILL TOTO’S RESPONSIBILITY EXCEED THE PURCHASE PRICE OF THE PRODUCT. EXCEPT TO THE EXTENT PROHIBITED BY APPLICABLE LAW, ANY IMPLIED WARRANTIES, INCLUDING THAT OF MERCHANTABILITY OR FITNESS FOR USE OR FOR A PARTICULAR PURPOSE, ARE EXPRESSLY DISCLAIMED. SOME STATES DO NOT ALLOW LIMITATIONS ON HOW LONG AN IMPLIED WARRANTY LASTS, OR THE EXCLUSION OR LIMITATION OF INCIDENTAL OR CONSEQUENTIAL DAMAGES, SO THE ABOVE LIMITATION AND EXCLUSION MAY NOT APPLY TO YOU.
Warranty Registration and Inquiry
For product warranty registration, TOTO U.S.A. Inc. recommends online warranty registration. Please visit our web site http://www.totousa.com. If you have questions regarding warranty policy or coverage, please contact TOTO U.S.A. Inc., Customer Service Department, 1155 Southern Road, Morrow, GA 30260 (888) 295-8134 or (678) 466-1300 when calling from outside of U.S.A.
Support
TOTO® U.S.A., Inc. 1155 Southern Road,
Morrow, Georgia 30260
Tel: 888-295-8134 Fax: 800-699-4889
www.totousa.com
0GU003Z-11
Rev Date: 11/20










































