TOTO CST436 Dual Flush Toilet

Warranty Registration and Inquiry
For product warranty registration, TOTO U.S.A. Inc. recommends online warranty registration. Please visit our web site http://www.totousa.com. If you have questions regarding warranty policy or coverage, please contact TOTO U.S.A. Inc., Customer Service Department, 1155 Southern Road, Morrow, GA 30260(888) 295-8134 or (678) 466-1300 when calling from outside of U.S.A.Actual parts may appear different from drawing according to the model.
THANKS FOR CHOOSING TOTO
The mission of TOTO is to provide the world with healthy, hygienic and more comfortable lifestyles. We design every product with the balance of form and function as a guiding principle. Congratulations on your choice.
INCLUDED PARTS
Check to make sure you have the following parts included in your package*:

COMMON TOOLS NEEDED
- 10” adjustable wrench
- Carpenters’ level
- Tape measure
- Hand pliers
- Flat head screwdriver
- Phillips screwdriver
- Pencil
- Putty knife
- Drill
- Drill bits (mounting block)
For wood installation
11/16” drill bit
For concrete/tile installation:
5/16” drill bit
MATERIALS REQUIRED: (Not Included)
- Flexible supply hose
- Angle stop valve (1/2” compression to 7/8”Ballcock)
- Wax ring
- Toilet Seat
BEFORE INSTALLATION
- Read these instructions thoroughly before beginning work.
- Please leave instructions for customers. These instructions contain maintenance and warranty information.
- If necessary, remove the existing toilet and if new construction, purge the supply line.
NOTICE
Due to the powerful performance of our Tornado, G-Max, E-Max and Power The only means of installing these toilets in a back-to-back situation is when builder or contractor prior to this installation.

Water supply shut-off valve installation recommendations
| Follow these recommendations to ensure an optimal and trouble-free installation with a neat and professional appearance. | |
| Location
| 4-3/4” x 5-7/8” (120mm x 150mm) |
|
Valve type | Angle stop type valve with supply connection facing upward, inward, or downward NOTE: Straight stop type valve, or valve with supply connection on front of angle stop, is not recommended |
| Maximum length | Angle stop must not protrude more than 3” (80mm) from wall |

INSTALLATION PROCEDURE
- Open the Unifit Rough-In packaging. Follow the Installation instruction to complete the installation (ill. 1).

- Place the template into position and follow its instructions to prepare for installing the toilet bowl.
NOTICE Do not move the Unifit Rough- In on the Floor Flange after wax seal is set. It this notice is disregarded, discard the wax ring and replace with new wax ring. - Place the toilet bowl over the Unifit Rough-In and the two mounting blocks, by aligning the bowl outlet with the Unifit Rough-In opening (ill. 2).
NOTICE Insert the toilet all the way into position. If this notice is disregarded, leakage may result.
NOTICE Check for rocking. if needed, use shims to prevent the toilet from rocking.
- Align the toilet perpendicular to the back wall and parallel to side walls; it should not sit crooked or diagonal (ill. 3).

- Install the side screws to the mounting blocks. Cover the screw head with the provided screw caps ill. 4).

- Install the tank-to-bowl mounting hardware to the tank (il. 5). Lay the tank down on its back. Place a rubber washer onto a bolt. Reach inside the tank and position the bolt through one of the holes in the bottom of the tank. On the outside of the tank, place a metal washer and nut onto the bot. Hold the bolt centered in the hole and tighten the nut finger tight. Turn the nut an additional 1/2 tum with a wrench. Repeat this process tor the remaining hole in the tank.

CAUTION Do NOT overtighten harcware, as it may break the china and cause personal injury or property damage. - Place the tank upside down onto some padding. Inspect the smaller nut and larger flush valve nut for a secure connection l. 6). Try to tighten the nuts with your hands. loose, tighten the nut hand tight and an additional 1/4 turn for the smaller fill valve nut Fill the valve and an additional 1/2 turn tor the larger flush tower nut. Make sure that the fill valve does not tum and
NOTICE hit the tank while tightening.
- Connect the water supply hose to the fill valve threads as seen at the bottom of the toilet tank (lI. 7). Tighten this connection finger tight.
NOTICE
The water supply hose must be connected to the fill valve BEFORE the tank-to-bowl installation. TOTO recommends using a longer flexible supply hose.
- Place the tank-to-bowl gasket onto the flush tower nut (1l1. 8). While pressing down, spread the gasket over the nut until the gasket touches the bottom of the tank. A slight gap between the tank bottom and the gasket is allowable.

- Pick up the tank and carefully guide the water supply hose into the bowl’s fill valve hole, align the tank-to-bowl gasket over the inlet of the bowl, and align the tank bolts over the bolt holes of the bowl. (il.9)

- Using provided hand-tight nuts, hand tighten the nuts evenly until tank sets snugly on each of the 3 contact points on the bowl (ill. 10). Do not overtighten. Overtightening may break the china and cause personal injury and/or property damage.

- Flush the water supply line for a few seconds to remove any debris that may enter the new fill valve. (For new home constructions and/or additions, flush the water supply line tor more than a minute to help remove any residual PVC adhesives, solder tlux, and/ or pipe sealants that were used for the new plumbing.)
- Install the flexible water supply hose to the angle stop (ill. 11). Make sure that the hose is free of kinks.

- Caretully place the lid on top of the tank.
NOTE: The water supply pressure should be 20 to 80 psi static. - Flush toilet a few times to check for issues and leaks. Make sure NO WATER LEAK on bowl and tank.
CAUTION: Avoid using a wrench to tighten the connection as you may damage the plastic threads and/or cause the fill valve to rotate inside the tank.
MAINTENANCE INSTRUCTIONS
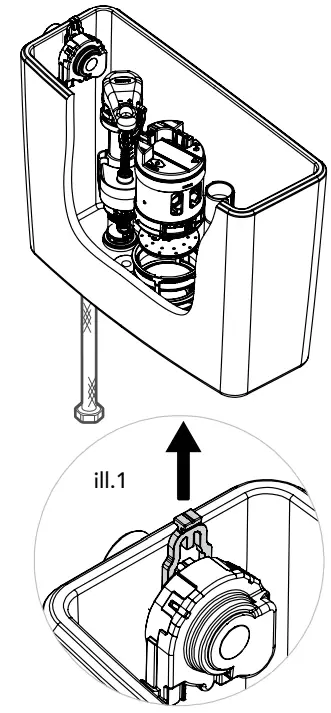
Replacing the Flush Tower
- Turn off water supply and flush the toilet.
- Remove the tank lid and place it upside down on a clean surface. Remove the remaining water trom tank with a sponge.
- Pull the clip on top of trip lever gear box as shown. (ill. 1)

- Pull gearbox away. (ill. 2)
- Rotate the flush tower until the arrow aligns with the overtlow tube and then pull up to remove. (ill. 3)
- Remove the grey rubber seal gasket and rinse under running water to clean. (ill. 4)

- Place the gasket back on the flush tower.
- Align and place the flush tower into the housing and rotate to lock it into place.
- Replace the trip lever gear box and push down on lever to lock it in place.
- Carefully install the tank lid back on the tank.
- Flush the toilet several times making sure the trip lever operates normally.
- Check the water level in the tank and inspect for signs of any leakage.
CARE AND CLEANING
- Use a detergent or non-abrasive toilet cleaner and a soft bristled plastic brush to clean your toilet. To remove hard water stains, use vinegar or lime dissolving cleaner anda non-scratch scour pad made for porcelain. Allow a little contact time to allow the cleaner to dis solve the buildup.
NOTICE
DO NOT USE IN-TANK BOWL CLEANERS. - The use of high concentration of chlorine or chlorine-related products can seriously damage fittings in the tank. This damage can cause leakage and property damage. TOTO shall not be responsible or liable for any tank fitting tailure or damage caused by the use ot in-tank bowl cleaners.
REPLACING THE FILL VALVE
- Shut off the water supply. Flush the toilet and remove any remaining water from the tank. Reverse the tank installation instructions to remove it from the bowl. Remove the refll tube from the overflow tube and fill valve. Note the orientation of the fill valve. Remove the old fill valve.
- Install new fill valve by sliding the threaded portion of the shaft through the hole in the bottom of tank.
- Thread mounting nut onto exposed shaft under the tank and tighten nut. Check fill valve orientation. flexible hose
CAUTION Do not over-tighten. - Connect the water supply (lUI. 1). Pipe dope is not recommended. Attach the refill tube to the fill valve and clip the other end to the overflow pipe.

ADJUSTING THE WATER LEVEL
Refer to the water level line stamp inside the tank.
- The water level adjustment is located in the top end of the fill valve. Use a flathead screwdriver to make adjustments:
- To raise the water level: turn the screwdriver clockwise, or towards the ‘+ indicator.
- To lower the water level: turn the screwdriver counter-clockwise, or towards the ‘-‘ indicator.
- Flush after each adjustment to check the water level. When satistied with the water level, tlush once more to verity.

SERVICING THE FILL VALVE
NOTE: Due to water conditions in your area, the strainer may require periodic cleaning. An indication that the strainer requires service can be seen in a delayed fill cycle,
intermittent fill cycle, or inadequate amount of water flow from the refill tube.
- Snap off the top cover by pulling from under the tab (ill. 1).
- Pinch the tabs of the lever arm to allow its removal (ill. 2).
- Snap off the adjustable rod from the bracket allowing the unit to slide to the bottom and remove the retainer tab by pulling as the arrow indicates ill. 3).
- Grab hold of the valve unit, twist 1/4 turn counterclockwise and pull the unit out Gill. 4).
- Unscrew nut of the diaphragm housing (ill. 5).
- Remove the diaphragm from its housing by carefully pulling the edge of the diaphragm (ill. 6). Note the position of the diaphragm while removing
- Remove the strainer from the tube with needle nose pliers (ill. 7). Use twisting motion while pulling to help with removal.
- Rinse all parts under running water to clear any debris, residues or films.
Reinstall all parts in reverse order. Turn the water ON and check for leaks and operation.
SERVICING THE FLUSH TOWER
- Turn off water supply and flush the toilet.
- Remove the tank lid and place it upside down on a clean surface
- Note the orientation of the tlush tower tor reassembly.
- Rotate the upper half of the flush tower so the arrow points towards the overflow tube and pull it up to remove it (ill. 1)
- Remove the rubber seal gasket and rinse under running water to clean (see ll. 2). Place the gasket back on the flush tower (1. 3).
- Align arrow with the overtlow tube and install the tlush tower back on the base.
- Rotate the tlush tower to the same orientation (step 3).
- Carefully, install the tank lid back on the tank.
- Flush the toilet several times to verify proper operation. Check for leakage.

CEFIONTECT® CLEANING INSTRUCTIONS
WHAT IS CEFIONTECT®?
CEFIONTECT® is TOTO’s super-smooth permanent glaze that prevents debris from sticking to surfaces. Products with the letter “G” in the number have the CEFIONTECT® glaze. This glaze, along with regular cleaning, will help keep your TOTO product in pristine condition.
NOTE:
For best results to keep your TOTO product with CEFIONTECT® clean:
- Lavatory: Use a mild dish detergent with a clean, soft cloth.
- Toilet: Use a gel based cleaner with a soft bristled-plastic brush.
- Don’t use cleaners, polishing powders or detergents that have gritty or coarse particles.
- Don’t use bleach, chemical thinners or products that have acid or alkaline detergents listed as ingredients.
- Don’t use metal scrub brushes or steel wool.
- Following these instructions will ensure that your TOTO product with the CEFIONTECT® glaze will always stay intact, keeping your product like new tor years to come!

WARRANTY
- TOTO warrants its vitreous china products (“Product”) to be free from defects in materials and workmanship during normal use when properly installed and serviced, for a period of one (1) year from date of purchase. This limited warranty is extended only to the ORIGINAL PURCHASER of the Product and is not transterable to any third party, including but not limited to any subsequent purchaser or owner of the Product. This warranty applies only to TOTO Product purchased and installed in North, Central and South America.
- TOTO’s obligations under this warranty are limited to repair, replacement or other appropriate adjustments, at TOTO’S option, of the Product or parts found to be defective in normal use, provided that such Product was properly installed, used and serviced in accordance with instructions. TOTO reserves the right to make such inspections as may be necessary in order to determine the cause of the detect. TOTO will not charge for labor or parts in connection with warranty repairs or replacements. TOTO is not responsible for the cost of removal, return and/or reinstallation of the Product.
- This warranty does not apply to the following items:
- Damage or loss sustained in a natural calamity such as fire, earthquake, flood, thunder, electrical storm, etc.
- Damage or loss resulting from any accident, unreasonable use, misuse, abuse, negligence, or improper care, cleaning, or maintenance of the Product.
- Damage or loss resulting from sediments or foreign matter contained in a water system.
- Damage or loss resulting from improper installation or from installation of the Product in a harsh and/or hazardous environment, or improper removal, repair or modification of the Product.
(NOTE: Product model codes allow a maximum of 80 PSI. Check local codes or standards for requirements). - Damage or loss resulting from electrical surges or lightning strikes or other acts which are not the fault of TOTO or which the Product is not specified to tolerate.
- Damage or loss resulting from normal and customary wear and tear, such as gloss reduction, scratching or fading over time due to use, cleaning practices or water or atmospheric conditions.
- Tank flushing mechanisms of plastic or rubber moving parts.
- Toilet seats of plastic, wood, or metal.
- In order for this limited warranty to be valid, proof ot purchase is required. 10T0 encourages warranty registration upon purchase to create a record ot Product ownership at http://www.totousa.com. Product registration is completely voluntary and failure to register will not diminish your limited warranty rights.
- THIS WARRANTY GIVES YOU SPECIFIC LEGAL RIGHTS. YOU MAY HAVE OTHER RIGHTS WHICH VARY FROM STATE TO STATE, PROVINCE TO PROVINCE OR COUNTRY TO COUNTRY.
- To obtain warranty repair service under this warranty, you must take the Product or deliver it prepaid to a TOTO service tacility together with proot of purchase (original sales receipt) and a letter stating the problem, or contact a TOTO distributor or products service contractor, or write directly to TOTO U.S.A., INC., 1155 Southern Road, Morrow, GA 30260 (678) 466-1300 or (888) 295-8134, if outside the U.S.A. If, because of the size of the Product or nature of the defect, the Product cannot be returned to TOTO, receipt by TOTO of written notice of the defect together with proof of purchase (original sales receipt) shall constitute delivery. In such case, TOTO may choose to repair the Product at the purchaser’s location or pay to transport the Product to a service facility.
THIS WRITTEN WARRANTY IS THE ONLY WARRANTY MADE BY TOTO. REPAIR, REPLACEMENT OR OTHER APPROPRIATE ADJUSTMENT AS PROVIDED UNDER THIS WARRANTY SHALL BE THE EXCLUSIVE REMEDY AVAILABLE TO THE ORIGINAL PURCHASER. TOTO SHALL NOT BE RESPONSIBLE FOR LOSS OF THE PRODUCT OR FOR OTHER INCIDENTAL, SPECIAL OR CONSEQUENTIAL DAMAGES OR EXPENSES INCURRED BY THE ORIGINAL PURCHASER, OR FOR LABOR OR OTHER COSTS DUE TO INSTALLATION OR REMOVAL, OR COSTS OF REPAIRS BY OTHERS, OR FOR ANY OTHER EXPENSE NOT SPECIFICALLY STATED ABOVE. IN NO EVENT WILL TOTO’S RESPONSIBILITY EXCEED THE PURCHASE PRICE OF THE PRODUCT. EXCEPT TO THE EXTENT PROHIBITED BY APPLICABLE LAVW, ANY IMPLIED WARRANTIES, INCLUDING THAT OF MERCHANTABILITY OR FITNESS FOR USE OR FOR A PARTICULAR PURPOSE, ARE EXPRESSLY DISCLAIMED. SOME STATES DO NOT ALLOW LIMITATICONS ON HOW LONG AN IMPLIED WARRANTY LASTS, OR THE EXCLUSION OR LIMITATION OF INCIDENTAL OR CON- SEQUENTIAL DAMAGES, SO THE ABOVE LIMITATION AND EXCLUSION MAY NOT APPLY TO YOU.
WARNING! TOTO shall not be responsible or liable for any failure of, or damage to, this Product caused by either chloramines in the treatment of public water supply or cleaners containing chlorine (calcium hypochlorite). NOTE: The use ot a high concentrate chlorine or chlorine related products can seriously damage the fittings. This damage can cause leakage and serious property damage. For more intormation, please call TOTO at (888) 295-8134
ABOUT COMPANY
- TOTO U.S.A., Inc. 1155 Southern Road,
- Morrow, Georgia 30260
- Tel: 888-295-8134
- Fax: 800-699-4889
- www.totousa.com
Warranty Registration and Inquiry
For product warranty registration, TOTOU.S.A. Inc. recommends online warranty registration. Please visit our web site http://www.totousa.com. lIf you have questions regarding warranty policy or coverage, please contact TOTO U.S.A. Inc., Customer Service Department, 1155 Southern Road, Morrow, GA 30260 (888) 295-8134 or (678) 466-1300 when calling from outside of U.S.A.
































