TOTO MS8732CUMFG#01S NEOREST CEFIONTECT Dual Flush Toilet with WASHLET Instruction Manual
Safety Cautions
(Observe these cautions for safety’s sake.)
Read these “Safety Cautions” carefully before starting installation work. Install the product properly. This manual uses various indications to ensure a proper, safe installation and to prevent injury to the customer, injury to other people and damage to property. The symbols should be interpreted as follows.
Caution
Improper use or installation of this product may result in injury or property dama
| |
| Prohibited | Do not subject the toilet bowl to strong forces or impacts. Otherwise, the toilet bowl may break causing injury or leaks that may damage property |
| Do not excessively bend or twist the water supply hose. Otherwise, the flexible water supply hose may break causing leaks that may damage property | |
| Do not remove the water supply filter with the water supply valve being open. If the water supply valve is not closed, water may gush out causing leaks that may damage property | |
| Required | Be sure to use the included or specified parts for installation work. Otherwise, the product may not be installed properly. |
| Carry out the installation work according to this installation manual. Otherwise, damage caused by water leaks may occur. | |
Precaution before installation

Caution
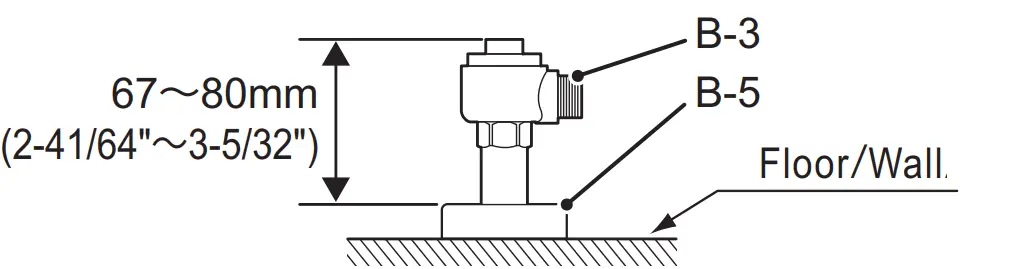
The height of the water supply pipe should be within 0+5/-8 mm from the floor/wall. The shutoff valve cover may tilt or float and may not be attached.
- Exercise care to ensure that metal objects (wristwatch bands, belt buckles, etc.) do not come into contact with the ceramic during installation, transport, or cleaning.
- Such objects could rub the surface of the ceramic and leave stripe marks.
- Secure the space required for toilet installation and at the same time, check door opening/closing for possible interference.
- The remote control signal reception may be degraded and the NEOREST unit may not respond to the remote control if there are shelves or cabinets on the rear wall at a height of less than 1400 mm (55-1/8 ″) from the floor. (Shelves and storage cabinets should be more than 1400 mm (55-1/8 ″) from the floor.)
- Make sure before installation that the water supply source and water drain pipe are in the specified positions according to the diagram. If it is not positioned properly, the product may not be able to be installed correctly.
- For water supply, ensure that the minimum required water pressure (flowing) is 0.05 MPa at 10 L/min. (while maximum water pressure is 0.75 MPa)
- Turn on electricity and water supply to the product after completing all installation work.
This flushing ring is used in the event of a power outage. Do not use (pull) it during installation. Doing so may cause water to continue to flow into the toilet bowl during test operation.
By pulling the manual water supply cord (orange) until it stops, you can toggle the flow of water to the toilet bow on and off.
Before installing the product, be sure to completely wash out any dirt, sand, etc. from inside the water supply pipe.
Included parts


Caution
Be sure to mount B-3.
Dirt contamination could cause shutoff or discharge defects.









When using the floor flange, C-2 (2 pcs.), C-6 (2 pcs.) and C-7 (2 pcs.) are not used./
*The product may be slightly different in shape than the product shown in the figure depending on the model.
Part diagram

This manual uses illustrations of a floor water supply for explanatory purpose.
The floor flange, Nut, Washer, T-bolt and sealant are not include.
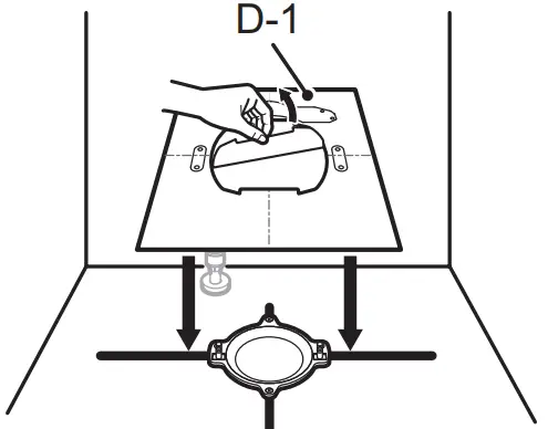
Installation procedure

*If there is a gap between the discharge pipe and floor, fill it with mold-resistant silicone-based seal material (Mediseal).
View video
- Communication fees apply.
- The video may not be viewable in some environments.
Confirm the direction of the water supply hose for the shutoff valve prior to installation!
Shutoff valve installation direction for water supply from the wall
Shutoff valve installation direction for water supply from the floor.
Shutoff valve height
Caution
Install the water supply hose for the shutoff valve at an angle of 45° or less.
Installation in the wrong direction could cause flushing defects or water leaks. After the test run, check that there is no water leakage from the connection. Insufficient installation may result in property damage such as water leakage and wet household good.
- Install the shutoff valve in place
- 〈For water supply from the wall〉

- 〈For water supply from the wall〉
- 〈For water supply from the floor〉

- Wrap the sealing tape around the threaded part and attach it
- Pay attention to the direction of the shutoff valve when installing it.






Set so that the sealant does not enter the drainage channel area (in the hatched area). Doing otherwise may cause inadequate flushing.
Sealant
Rear surface of floor flange connection area The figure is for a metal flange- When installing, be careful that the wire does not get pinched between the floor and discharge socket
Hold the toilet as shown


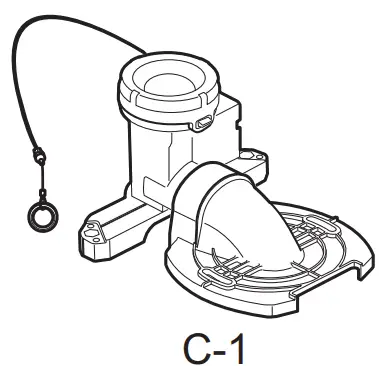
- Pass the string of the C-8 through the slit of the valve fixing base
- Pull the C-8 to fix the hook.

- Hook the C-8 on the valve fixing base.

Review and check the following
- After installation, did you verify that C-8 will not come off the base?
- This flushing ring is used in the event of a power outage.
- Do not use (pull) it during installation.
- Doing so may cause water to continue to flow into the toilet bowl during test operation
Manual water supply cord
By pulling the manual water supply cord (orange) until it stops, you can toggle the flow of water to the toilet bow on and off.
<Removing the manual water storage cord (white)>/
Grasp the hook with your fingers and push to remove it from the base.





- After the trial-run (flush) of the toilet bowl, check the toilet bowl inside for foreign matter such as chips of cut pipe, etc. Foreign matters such as transmitted rust can stick to the sides
- Make sure that there are no scratches or other damage on the ceramic surface.If the ceramic surface is tightly pressed or rubbed against metals (watchbands, belt buckles, etc.), black or silver streak marks may be left on the surface.
- After installation, unseen dirt (oil or adhesive for piping) may remain in the toilet bowl. Be sure to wipe it off using a non-abrasive neutral detergent for toilets. Otherwise, the toilet bowl surface may not flush completely clean.
- After conducting a test run,confirm that no connections are leaking water. Not installing the properly may cause water leaks that could result in flooding damage to property, such as household belongings.
- After test operation, make sure to clean the water supply filter with the shutoff valve closed.
- Remove the water supply filter using the open and close tool included with the functional part, and clean the water supply filter.
- Make sure to open the shutoff valve after cleaning the filter.























