VISUAL ENGINEERING MFR-TI Thermal PTZ Camera User Guide
Document History
Version | Date | Change Summary |
| v1.0 | 11/04/2022 | Initial Release |
Warranty and Support
All Visual Engineering products are supplied as standard with a 12 month ‘Return to Base’ warranty.
Please note: Any unauthorised product disassembly, modification or the removal of tamper proof labels will void the warranty.
In the event of a suspected product failure, users should contact the Visual Engineering support team on the telephone number +44 (0) 1206 211842 or please email us at: [email protected]
Should the fault persist or if the support team are unable to resolve the fault, it may be necessary to return the equipment.
Equipment should only be returned using the RMA (Returns Management Authorisation) process. Users should contact the support team on the above number and request an RMA number.
Introduction
The MFR-TI is a thermal PTZ camera which is housed in a very rugged environmentally sealed casing making it ideal for use in harsh environments.
The Flir thermal camera incorporates radiometric technology which delivers high precision temperature monitoring. It supports an 8x digital zoom and spot metering to further optimise the exposure control for each particular scenario. Speeds are zoom factor corrected, giving fine control over the entire range of the lens with pan speeds up to 100º per second.
The MFR-TI has absolute position feedback and therefore has the ability to self correct its actual position if external forces act upon it. User presets can be saved allowing PTZ framing profiles to be easily recalled.
There is the option to have the video output as an encoded ONVIF compliant stream for use in IP networks. Remote control of the camera is through VISCA protocol over USB or a RS232/RS485 serial connection.
The output video signal is HD-SDI which is available on the Fischer MiniMax connector on the camera’s base, which also supports connections to power and data.
The outer casing is manufactured from aluminium. All external mating surfaces are gasket sealed to maintain its IP67 rating
Connections
The MFR-TI kit includes a power comms break out cable, part number 110-3562
The cable assembly connects to the Fischer MiniMax connector on the base of the camera. All signals are then split out to their relevant connectors. The connections are described below.

MFR-TI communications are supported via the micro USB and EXT 232/485 connectors.
The EXT 232/485 connector supports RS232 and RS485 comms, the pinout of the connector is described on the right.
Configuring the Camera
The MFR-TI can be configured for a specific user profile, to include; communication settings, motor control, and camera options. Once configured the camera will retain the settings.
The camera is configured using a menu structure on its control interface which is only accessible at power on. To access the control menu it is necessary to connect the camera to a serial comms software application, such as TeraTerm set to 9600 baud 8n1.
Boot Menu
- Connect the power comms cable to a USB port on a PC.
- Open the PC serial comms application
- Power on the camera, a > character will appear and shortly after a ! character.
- As soon as the ! appears type v e in quick succession.
- The Main Menu shown on the right will then be displayed.
- Select the required option.
- The function options are described in the following tables.

Comm Port Options
Comm Port Options | ||
Sub Menu | Description | Options |
Mode | The serial comms standard | RS485, No Parity , RS232, No Parity, RS485, Odd Parity, RS232, Odd Parity RS485, Even Parity, RS232, Even Parity |
Baud Rate | The serial comms baud rate | 1200, 2400, 4800, 9600, 19200, 38400, 57600, 115200 |
| Protocol | The PTZ control protocol | Auto Detect, VISCA, PelcoD, PelcoP |
| Unit Address | The camera’s unit address, this allows several cameras to be connected on the same comms bus | 1, 2, 3, 4, 5, 6, 7 |
Motor Options
Motor Options | ||
Sub Menu | Description | Options |
| Auto Position Correction | Whether the camera automatically corrects its actual position if external forces act upon it | Disabled, Enabled |
| Stall Detection | Detects a stall in the motor drive | Disabled, Enabled |
| Motor Speed | The speed at which the motors are driven | High, Medium, Low |
| Hold Torque | The torque force which the camera uses to hold position | High, Medium, Low |
Camera Options
| Video Options | ||
| Sub Menu | Description | Options |
| Output Mode | The output video format | PAL, NTSC, 720p/25, 720p/29.97, 720p/50, 720p/59.94, 1080i/50, 1080i/59.94, 1080p/25, 1080p/29.97, 1080p/50, 1080p/59.94 |
| On Screen Display | The OSD in the camera’s video | Disabled, Enabled |
| Flip on Tilt | The video picture will automatically invert when the camera head it tilted over the top of its travel | Disabled, Enabled |
Software Control
The MFR-TI camera’s serial communication supports the Sony VISCA protocol.
The user may choose to use a software controller of their choice or use the VE Camera Controller. This software application can be downloaded from the Visual Engineering website:
www.visualengineering.co.uk/supportdownload/9
The user should install the Software application on a PC. The screen below shows the software application.

It is necessary to connect the camera to a USB port on the PC. The operating system of the computer will allocate this a COM port number. Once this connection has been made the user can go ahead and connect the application to the COM port. In the example below the port COM3 has been selected.]


Once the software application is connected the functions of the software can be used. In the example below the pan right command has been selected. Similar commands for pan left, tilt up & down and zoom functions can also be sent using the intuitive software user interface.

Camera Communications
To maintain the same control protocol across the MFR range of cameras the adopted control protocol is Sony VISCA. This standard is used to communicate with the Flir thermal camera and for PTZ control. Flir camera communications uses a Flir-Pass-Through format, which incorp
Additional Commands
Additional commands adopting the VISCA protocol format have been developed by Visual Engineering for use with the MFR-TI camera. These commands also allow control of a limited set of parameters in the Flir thermal camera when using standard VISCA controllers.
Commands such as unit type, PTZ control and thermal palette switching are included, as described in the following tables.
Additional Commands | |||
Cmd Set | Command | Command Packet | Comments |
| PAN TILT DRIVE | Move | 8x 01 06 01 <aa> <bb> <cc> <dd> FF | <aa> = Pan Speed (0x01-0x18) |
| <bb> = Tilt Speed (0x01-0x14) | |||
| <cc> = Pan Direction (0x01 = Left, 0x02 = Right, 0x03 = Stop) | |||
| <dd> = Tilt Direction (0x01 = Up, 0x02 = Down, 0x03 = Stop) | |||
| Absolute Position | 8x 01 06 02 00 00 0p 0p 0p 0p 0t 0t 0t 0t FF | <pppp> = Pan Position <tttt> = Tilt Position The value sent is a 16-bit signed integer calculated as below where <x> is equal to the required angle (-180° to +180°) Value = x*20 | |
| THERMAL COLOUR PALETTE | Set Palette | 81 01 04 63 <xx> 01 FF | <xx> = Palette Selection (0x00 – 0x0D) |
| THERMAL IMAGE FREEZE | On/Off | 81 01 04 62 <xx> 01 FF | <xx> = On/Off 0x02 = On (Freeze Image) 0x03 = Off (Real-Time) |
| Additional Inquiry/Command With Response Data | ||||
| Cmd Set | Command | Command Packet | Response Packet | Comments |
| FLIR PASSTHROUGH | Flir Cmd | 8x 01 04 24 9F 01 <aa> <payload> FF | y0 51 24 9F 01 <bb> <response> FF | <aa> = Cmd Payload Length <payload> = FLIR Command <bb>=Response Payload Length <response> = FLIR Response |
| UNIT TYPE | Unit Type | 8x 01 04 24 92 00 01 FF | Y0 51 24 92 <aa> FF | <aa> = Unit Type 0x11 = MFR-HD 0x12 = MFR-DB 0x13 = MFR-TI |
| PAN TILT DRIVE | Absolute Position | 8x 09 06 12 FF | y0 50 0p 0p 0p 0p 0t 0t 0t 0t FF | <pppp> = Pan Position <tttt> = Tilt Position The value returned is a 16-bit signed integer, the actual angle can be calculated as below where <x> is equal to the value returned. Angle = x/20 |
Flir-Pass-Through
Control of the Flir camera uses standard Flir protocol commands. In order to maintain a single communications protocol for the MFR range of cameras and to also allow access to the complete Flir command set the Flir protocol is wrapped within a VISCA style packet.
Standard commands for the Flir thermal camera are detailed in the standard Flir commands document, available here:https://www.visualengineering.co.uk/supportdownload/58
Command Packet
The Command Packet invokes a Response Acknowledge followed by a Response Packet, these are described below, all values are hexadecimal.
8[x] | 0x01 | 0x04 | 0x24 | 0x9F | 0x01 | <aa> | <payload> | 0xFF |
- [x] The Unit Address, which can be set in the Comm Port Options in the boot menu
- <aa> Command Payload Length
- <Payload> Standard Flir Command Payload
Response Acknowledge
[y]0 | 0x41 | 0xFF |
Response Packet
[y]0 | 0x51 | 0x24 | 0x9F | 0x01 | <bb> | <response> | 0xFF |
- [y] The Unit Address+8.
- <bb>Response Payload Length
- <response> Flir Response
Examples
By way of example the following illustrates how the Flir-Pass-Through mode format and standard Flir commands can be combined into a single VISCA style packet for the MFR-TI. The examples address a Unit ID of 1, all values are hexadecimal.
VIDEO_MODE – ID 15
VIDEO_MODE GET
Command Packet
81-01-04-24-9F-01-0A-6E-00-00-0F-00-00-F3-8A-00-00-FF
Response Acknowledge
90-41-FF
Response Packet
90-51-24-9F-01-0C-6E-00-00-0F-00-02-D3-C8-02-00-66-62-FF
VIDEO_MODE SET FREEZE
Command Packet
81-01-04-24-9F-01-0C-6E-00-00-0F-00-02-D3-C8-02-01-76-43-FF
Response Acknowledge
90-41-FF
Response Packet
90-51-24-9F-01-0C-6E-00-00-0F-00-02-D3-C8-02-01-76-43-FF
VIDEO_MODE SET REAL-TIME
Command Packet
81-01-04-24-9F-01-0C-6E-00-00-0F-00-02-D3-C8-02-00-66-62-FF
Response Acknowledge
90-41-FF
Response Packet
90-51-24-9F-01-0C-6E-00-00-0F-00-02-D3-C8-02-00-66-62-FF
Specifications
Specifications | |||
| Resolution | 640 x 512 Pixel | User Presets | 8 |
| Lens | 9mm | Pan Range | 360° |
| Field of View | 69° H, 56° V | Tilt Range | 240° |
| NEdT | < 30mK | Connector | Fischer MiniMax |
| Radiometric Technology | As Standard | Environmental | IP67 |
| Thermal Spot Metering | Enabled | Weight | 1.5kg |
| Serial Comms | USB, RS232/485 | Dimensions | ø115 x 182 mm |
| Control Protocol | VISCA | Casing | Aluminium |
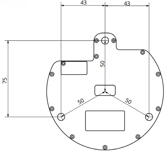
Dimensions
Overall Dimensions


Base Plate Hole Centres

Customer Support

Visual Engineering Technologies LTD
- Kemps Farm
- Stanway
- Colchester
- Essex
- CO3 8NB
- UK
Tel: +44 (0)1206 211842
Web: www.visualengineering.co.uk
Email: [email protected]















