SANUS LMF219B1 Full Motion Wall Tv Mount Fits TVs

IMPORTANT SAFETY INSTRUCTIONS
PLEASE READ MANUAL PRIOR TO USE – SAVE THESE INSTRUCTIONS
Please read through these instructions completely to be sure you’re comfortable with this easy install process.
Check your TV owner’s manual to see if there are any special requirements for mounting your TV.
If you do not understand these instructions or have doubts about the safety of the installation, assembly or use of this product, contact Customer Service 1-855-734-7805.
CAUTION: Avoid potential personal injuries and property damage!
- This product is designed ONLY to be installed into wood studs, solid concrete or concrete block.
- DO NOT INSTALL INTO DRYWALL ALONE
- DRYWALL ALONE WILL NOT HOLD THE WEIGHT OF YOUR TV.
- This product is designed for INDOOR USE ONLY.
- The wall must be capable of supporting five times the weight of the TV and mount combined.
- Do not use this product for any purpose not explicitly specified by manufacturer.
- Manufacturer is not responsible for damage or injury caused by incorrect assembly or use.
TV Weight Limit
(including accessories)
DO NOT EXCEED
55 lb (24.9 kg)
If your TV (including accessories) exceeds this weight, this mount is NOT compatible.
Visit SANUS.com or call customer service to find a compatible mount.
1-855-734-7805
Wall Construction
ONLY install on these acceptable wall types.
Unsure?
Call Customer Service 1-855-734-7805

Tools Needed

Dimensions

BEFORE YOU BEGIN
Remove the stand
from your TV — if attached.
Install any accessories
you may have purchased, if they require TV removal prior to assembly. The TV is removable for future accessory purchases.
Protect the face
of your TV when laying it down for installation.

Supplied Parts and Hardware
WARNING: This product contains small items that could be a choking hazard if swallowed. Before starting assembly, verify all parts are included and undamaged. If any parts are missing or damaged, do not return the damaged item to your dealer; contact Customer Service. Never use damaged parts!
NOTE: Not all hardware included will be used.
STEP 1 Parts and Hardware

Parts and Hardware for STEP 2

Hardware for STEP 3

Additional Hardware

STEP 1 Attach TV Bracket to TV
Select TV Screw Diameter

Select TV Screw Length and Spacers
NO SPACER
- Flat Back TV
[TV brackets lay flat on your TV]

NOTE: If your TV included inset spacers or adapters, use them UNDER the mount hardware.
SPACER NEEDED
- Flat Back TV with extra space needed
[for deep inset holes or cable interference] - Rounded or Irregular Back TV
[TV brackets NOT resting flat on your TV]

CAUTION: Verify adequate thread engagement with your screw 01 , washer 02 , spacer 03 combination AND TV bracket 04 .
- Too short will not hold your TV.
- Too long will damage your TV.

Attach TV Brackets to Your TV
Center Horizontal TV brackets 04 over your TV’s hole pattern and attach using screw combination A or B you selected for your TV.
NOTE: The round holes in TV brackets 04 line up with standard TV (VESA) hole patterns.
CAUTION: Avoid potential personal injuries and property damage! DO NOT use power tools for this step. Tighten the screws 01 only enough to secure the TV brackets to the TV.
STEP 2A Attach Wall Plate
Wood Stud Installation
CAUTION: Avoid potential personal injury or property damage!
- Drywall covering the wall must not exceed 5/8 in. (16 mm)
- Minimum wood stud size: nominal 2 x 4 in. (51 x 102 mm) actual 1½ x 3½ in. (38 x 89 mm)
- Stud center must be verified

IMPORTANT: Drill into the center of the stud.
Tighten the lag screws 09 only until the washers 10 are pulled snug against the wall plate 08 .
CAUTION: Improper use could reduce the holding power of the lag screw. DO NOT over-tighten the lag screws.
STEP 2B Attach Wall Plate
Solid Concrete or Concrete Block Installation
CAUTION: Avoid potential personal injury or property damage!
- Mount arm assembly 08 directly onto concrete surface (no wall covering)
- Minimum solid concrete thickness: 8 in. (203 mm)
- Minimum concrete block size: 8 x 8 x 16 in. (203 x 203 x 406 mm)
Concrete Installation Kit CMK1 is not included
Contact Customer Service at 1-855-734-7805 to inquire about the CMK1 Concrete Anchor Kit.
CAUTION: Never drill into the mortar between blocks.
CAUTION: Be sure the anchors C1 are seated flush with the concrete surface.
Tighten the lag screws 09 only until the washers 10 are pulled snug against the wall plate 08 .
CAUTION: Improper use could reduce the holding power of the lag screw. DO NOT over-tighten the lag screws.
STEP 3 Attach TV to Arm Assembly
Attach TV to Arm Assembly
HEAVY! You may need assistance with this step.
Secure the TV to the arm assembly with the locking screw 11 .
To adjust the leveling of your TV, loosen the locking screw 11 , level your TV, then tighten the locking screw 11
CAUTION: Avoid potential personal injury or property damage! Locking screw 11 must be installed to secure the TV to the arm assembly 08 .
Manage Cables
Fully extend the arms before routing cables.
Use cable ties 12 to bundle and attach cables to the arms 08 for a cleaner look.

TV Adjustments
TILT ADJUSTMENT
Your TV should adjust easily when moved, then stay in place. If your TV is too loose or too tight, adjust the side tension knob T by hand.
NOTE: Once your TV is in place, tighten the side tension knob T to prevent unwanted movement.
NOTE: Additional tension can be applied using a 3/16 inch hex key (not supplied).
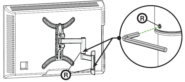
LEVEL ADJUSTMENT

EXTEND / RETRACT — ONLY IF NECESSARY
Your TV should adjust easily when moved, then stay in place.
If your TV is too loose or too tight when moving, adjust screws R using a 3/32 inch hex key (not supplied).
CAUTION: Avoid potential personal injury or property damage!
DO NOT remove screws R , only turn enough for slight adjustment.

REMOVING THE TV
HEAVY! You may need assistance with this step.

- Disconnect cables.

- Remove screw 11 .

- Lift TV up and off the arm assembly 08 .
Thank you for choosing SANUS!
Please take a moment to let us know how we did:
Call us: 1-855-734-7805
Email us: [email protected]
Leave a review: SANUS.com
Legrand AV Inc. and its affiliated corporations and subsidiaries (collectively, “Legrand”), intend to make this manual accurate and complete. However, Legrand makes no claim that the information contained herein covers all details, conditions, or variations. Nor does it provide for every possible contingency in connection with the installation or use of this product. The information contained in this document is subject to change without notice or obligation of any kind. Legrand makes no representation of warranty, expressed or implied, regarding the information contained herein. Legrand assumes no responsibility for accuracy, completeness or sufficiency of the information contained in this document.
©2022 Legrand AV Inc. All rights reserved. SANUS is a brand of Legrand. SANUS, HeightFinder, and the SANUS logo are trademarks of Legrand.
Legrand AV Inc. • 6436 City West Parkway • Eden Prairie, MN 55344 USA
















