DAIZUKI R410A Heat Pump Minisplit

Product Information
This product is a central air conditioning unit. It contains refrigerant and oil under high pressure and must be handled with
caution. The unit is grounded and all grounding devices must be properly fastened. Extreme caution should be exercised when opening service valves and brazing is required when using existing refrigerant lines.
The unit has specific location considerations, including maximum line and vertical lengths for refrigerant piping. The compressor
crankcase heat is required for line lengths over 50 feet. The unit dimensions vary by model and are provided in inches. The weight of the unit is indicated on the carton box.
Product Usage Instructions
Before attempting to use or service this product, carefully read the safety section of the user manual. Only individuals with
adequate backgrounds in electrical and mechanical experience should attempt to repair or service the unit.
To use the product, properly install and mount the outdoor unit according to the unit dimensions and location considerations in the user manual. Ensure that the roof or structure can support the weight of the unit and proper isolation is installed to prevent sound or vibration transmission.
If servicing or repairing the unit, follow proper lockout/tagout procedures to ensure the power is disconnected and cannot be inadvertently energized. Recover refrigerant to relieve pressure before opening the system. Use proper service tools and ensure that all grounding devices are properly fastened.
Failure to follow the safety instructions and product usage instructions could result in personal injury, property damage, or even death.
NOTE: Appearance of unit may vary.
ALL phases of this installation must comply with NATIONAL, STATE AND LOCAL CODES
IMPORTANT – This Document is customer property and is to remain with this unit. Please return to service information pack upon completion of work.
These instructions do not cover all variations in systems or provide for every possible contingency to be met in connection with the installation. Should further information be desired or should particular problems arise which are not covered sufficiently for the purchaser’s purposes, the matter should be referred to your installing dealer or local distributor.
Note : The manufacturer recommends installing only approved matched indoor and outdoor systems. All of the manufacturer’s split systems are A.HR.I. rated only with TXV indoor systems. Some of the benefits of installing approved matched indoor and outdoor split systems are maximum efficiency, optimum performance and the best overall system reliability.
Section 1. Safety
Important – This document contains a wiring diagram and service information. This is customer property and is to remain with this unit. Please return to service information pack upon completion of work.
CAUTION
This information is intended for use by individuals possessing adequate backgrounds of electrical and mechanical experience. Any attempt to repair a central air conditioning product may result in personal injury and/or property damage. The manufacturer or seller cannot be responsible for the interpretation of this information, nor can it assume any liability in connection with its use.
WARNING
HAZARDOUS VO LTAGE!
Failure to follow this warning could result in property damage, severe personal injury, or death.
Disconnect all electric power, Including remote disconnects before servicing. Follow proper lockout/tagout procedures to ensure the power cannot be inadvertently energized.
WARNING
REFRIGERANT OIL!
Any attempt to repair a central air conditioning product may result in property damage, severe personal injury, or death.
These units use R-410 A refrigerant which operates at 50 to 7o% higher pressures than R-22. Use only R-410A approved service equipment. Refrigerant cylinders are painted a “Rose” color to indicate the type of refrigerant and may contain a “dip” tube to allow for charging of liquid refrigerant into the system. All R-410A systems with variable speed compressors use a PVE oil that readily absorbs moisture from the atmosphere To limit this “hygroscopic” action. the system should remain sealed whenever possible. If a system has been open to the atmosphere for more than 4 hours, the compressor oil must be replaced. Never break a vacuum with air and always change the driers when opening the system for component replacement.
CAUTION
HOT SUR FACE!
May cause minor to severe burning. Failure to follow this Caution could result in property damage or personal injury. Do not touch top of compressor.
CAUTION
CON TAINS REFRIGERANT!
Failure to follow proper procedures can result in personal illness or injury or severe equipment damage.
System contains oil and refrigerant under high pressure. Recover refrigerant to relieve pressure before opening system.
CAUTION
GROUNDING REQUIRED!
Failure to inspect or use proper service tools may result in equipment damage or personal injury. Reconnect all grounding devices. All parts of this product that are capable of conducting electrical current are grounded. if grounding wires, screws, straps, clips, nuts, or washers used to complete a path to ground are removed for service, they must be returned to their original position and properly fastened.
WARNING
SERVICE VALVES!
Failure to follow this warning will result in abrupt release of system charge and may result in personal injury and/or property damage. Extreme caution should be exercised when opening the Liquid Line Service valve. Turn valve stem counterclockwise only until the stem contacts the rolled edge. No torque is required.
WARNING
BRAZING REQUIRED!
Failure to inspect lines or use proper service tools may result in equipment damage or personal injury. if using existing refrigerant lines make certain that all joints are brazed, not soldered.
WARNING
HIGH LEAKAGE CURRENT!
Failure to follow this warning could result in property damage, severe personal injury, or death.
Earth connection essential before connecting electrical supply.
Section .2 Unit Location Consideration ns
Unit Dimensions

| Unit Dimensions | |
| Models | H x W x L( Inches) |
| 24/ 36 | 24-15/16 x 29-1/8 x 29-1/8 |
| 48/ 60 | 32-7/8 x 29-1/8 x 29-1/8 |
The unit s’ weight values is on the carton box.
When mounting the outdoor unit on a roof , be sure the roof will support the unit s’ weight . Properly selected isolation is recommended to prevent sound or vibration transmission to the building structure.
Refrigerant Piping Limits
- Maxi mum line length = 100 feet.
- Maxi mum vertical length = 50 feet.
- Compressor crankcase heat is required for line lengths over 50 feet.
- Use only the line diameters indicated in Table 5.1.
- Such as the connecting tube is more than 60 feet, does not use large Suction line than recommend.



Location Restrictions
- Ensure the top discharge area is unrestricted for at least 60 inches above the unit.
- Clearance must be provided in front of the control box (access panels) and any other side requiring service.
- Do not locate close to bedrooms, operational sounds may be objectionable.

- Position the outdoor unit a minimum of 20 inches from any wall or surrounding shrubbery to ensure adequate airflow.
- Outdoor unit location must be far enough away from any structure to prevent excess roof runoff water from pouring directly on the unit.

Cold Climate Considerations (Heat Pump Only)
Note: It is recommended that these precautions be taken for units being installed in areas where snow accumulation and prolonged below-freezing temperatures occur.
- Units should be elevated 3-12 inches above the pad or rooftop, depending on local weather. This additional height will allow drainage of snow and ice melted during defrost cycle prior to its refreezing. Ensure that drain holes in unit base pan are not obstructed, preventing drainage of defrost water.
- If possible, avoid locations that are likely to accumulate snow drifts. if not possible, a snow drift barrier should be installed around the unit to prevent a build-up of snow on the sides of the unit.

Section 3. Unit Preparation
Prepare The Unit For Installation
- STEP 1 – Check for damage and report promptly to the carrier any damage found to the unit.
- The charge port can be used to check to be sure the refrigerant charge has been retained during shipment.

Section 4. Setting the Unit
Pad Installation
When installing the unit on a support pad, such as a concrete slab, consider the following:
- When pad should be at least 1-2″ larger than the unit on all sides.
- When pad must be separate from any structure. 0rhe pad must be level.
- When pad should be high enough above grade to allow for drainage.
- When pad location must comply with National, State, and Local codes.

IMPORTANT NOTE:
These instructions are intended to provide a method to tie-down system to cement slab as a securing procedure for high wind areas. It is recommended to check Local Codes for tie-down methods and protocols.
#7 X 3/8″ Self Tapping Screws (Don’t Exceed 3/8″ long)

1 /4″ X 1-1 /2″ Hex Washer Head Concrete Screws
(3/16″ Pilot Hole Needed. Pilot Hole Should Be1/4″ Deeper Than The Fastener Embedment)

Section 5. Refrigerant Line Considerations
Refrigerant Line and Service Valve Connection Sizes
Table 5.1
| Line Sizes | Service Valve Connection Sizes | |||
| Model | Suction Line | Liquid Line | Suction Line Connection | Liquid Line Connection |
| 24/ 36 | 3/ 4 | 3/ 8 | 3/ 4 | 3/ 8 |
| 48/ 60 | 7/ 8 | 3/ 8 | 7/ 8 | 3/ 8 |
Required Refrigerant Line Length
Determine required line length.

Refrigerant Line Insulation

Important: The Suction Line must always be insulated DO NOT allow the Liquid Line and Suction Line to come in direct (metal to metal) contact.
Reuse Existing Refrigerant Lines
CAUTION
If using existing refrigerant lines make certain that all joints are brazed, not soldered.
For retrofit applications, where the existing refrigerant lines will be used, the following precautions should be taken:
- Ensure that the refrigerant lines are the correct size. Refer to Section 2.2 listed and Table 5.1.
- Ensure that the refrigerant lines are free of leaks, acid, and oil.

Note: The manufacturer recommends installing only approved matched indoor and outdoor systems. All of the manufacturer’s split systems are A.H.R.I. rated only with TXV indoor systems. Some of the benefits of installing approved matched indoor and outdoor split systems are maximum efficiency, optimum performance and the best overall system reliability.
Section 6. Refrigerant Line Routing
Precautions
Important: Take precautions to prevent noise within the building structure due to vibration transmission from the refrigerant lines.
Comply with National, State, and Local Codes when isolating line sets from joists, rafters, walls, or other structural elements.
For Example:
- When the refrigerant lines have to be fastened to floor joists or other framing in a structure, use isolation type hangers.
- Isolation hangers should also be used when refrigerant lines are run in stud spaces or enclosed ceilings.
- Where the refrigerant lines run through a wall or sill, they should be insulated and isolated.
- Isolate the lines from all ductwork.
- Minimize the number of 90º turns.
Secure Suction line from joists using isolators every 8 ft. Secure Liquid Line directly to Suction line using tape, wire, or other appropriate method every 8 ft.
Isolation From Joist/Rafter
Secure Suction Line using isolators every 8 ft. Secure Liquid Line directly to Suction Line using tape, wire, or other appropriate method every 8 ft.
Isolation In Wall Spaces
Section 7. Refrigerant Line Brazing
Braze The Refrigerant Lines
- STEP 1 – Remove caps or plugs. Use a deburring tool to deburr the pipe ends. Clean both internal and external surfaces of the tubing using an emery cloth.

- STEP 2 – Remove the pressure tap cap from both service valves.

- STEP 3 – Purge the refrigerant lines and indoor coil with dry nitrogen.

- STEP 4 – Wrap a wet rag around the valve body to avoid heat damage and continue the dry nitrogen purge.
Braze the refrigerant lines to the service valves.
Check liquid line filter drier’s directional flow arrow to confirm correct direction of refrigeration flow (away from outdoor unit and toward evaporator coil) as illustrated. Braze the filter drier to the Liquid Line.
Continue the dry nitrogen purge. Do not remove the wet rag until all brazing is completed.
Important: Remove the wet rag before stopping the dry nitrogen purge.
Note: Install drier in Liquid Line.
- STEP 5 – Replace the pressure tap caps after the service valves have cooled.

Section 8. Refrigerant Line Leak Check
Check For Leaks
- STEP 1 – Pressurize the refrigerant lines and evaporator coil to 150 PSIG using dry nitrogen.

- STEP 2 – Check for leaks by using a soapy solution or bubbles at each brazed location.

Section 9. Evacuation
Evacuate the Refrigerant Lines and Indoor Coil
Important: Do not open the service valves until the refrigerant lines and indoor coil leak check and evacuation are complete.
- STEP 1 – Evacuate until the micron gauge reads no higher than 350 microns, then close the valve to the vacuum pump.

- STEP 2 – Observe the micron gauge. Evacuation is complete if the micron gauge does not rise above 500 microns in one (1) minute.
Once evacuation is complete blank off the vacuum pump and micron gauge, and close the valves on the manifold gauge set.
Section 10. Service Valves
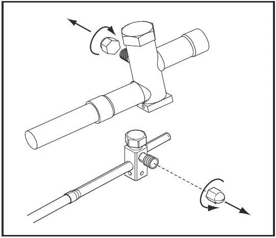
Open the Service Valves
WARNING
Extreme caution should be exercised when opening the Liquid Line Service Valve. Turn countershock- wise until the valve stem just touches the rolled edge. No torque is required. Failure to follow this warning will result in abrupt release of system charge and may result in personal injury and /or property damage.
Important: Leak check and evacuation must be completed before opening the service valves.
Important: The Suction Service Valve must be opened first BEFORE opening the Liquid Service Valve!
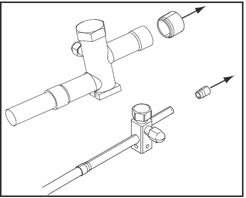
- STEP 1 – Remove service valve cap.
- STEP 2 – Fully insert hex wrench into the stem and back out counterclockwise until valve stem just touches the rolled edge (approximately five (5) turns.)
- STEP 3 – Replace the valve stem cap to prevent leaks. Tighten finger tight plus an additional 1/6 turn.
- STEP 4 – Repeat STEPS 1 – 3 for Liquid Service Valve.

Section 11. Electrical – Low Voltage
Low Voltage Maximum Wire Length
Table 11.1 defines the maximum total length of low voltage wiring from the outdoor unit, to the indoor unit, and to the thermostat.
Field provided bushing or strain relief is required at the low voltage wire entry point.
Table 11.1
- 24 VOLTS
- WIRE SIZE MAX.WIRE LENGTH
- 18 AWG 150 Ft.
- 16 AWG 225 Ft.
- 14 AWG 300 Ft.
Low Voltage Hook-up Diagrams



Notes:
- Be sure power supply agrees with equipment nameplate.
- Power wiring and grounding of equipment must comply with local codes.
- Low voltage wiring to be No. 18 AWG minimum conductor.
- The electric auxiliary heat connection.
Section 12. Electrical – High Voltage
High Voltage Power Supply
WARNING
LIVE ELECTRICAL COMPONENTS!
During installation, testing, servicing, and trouble -shooting of this product, it may be necessary to work with live electrical components.
Failure to follow all electrical safety precautions when exposed to live electrical components could result in death or serious injury.
The high voltage power supply must agree with the equipment nameplate.
Power wiring must comply with national, state, and local codes.
Follow instructions on unit wiring diagram located on the inside of the control box cover and in the Service Facts document included with the unit.

High Voltage Disconnect Switch
Install a separate disconnect switch at the outdoor unit.
Field provided flexible electrical conduit must be used for high voltage wiring.
High Voltage Ground
Ground the outdoor unit per national, state, and local code requirements.

Section 13. Start Up
System Start Up
- STEP 1 – Ensure Sections 6, 7, 8, 9, 10, 11, and 12 have been completed.
- STEP 2 – Set System Thermostat to OFF.

- STEP 3 – Turn on disconnect to apply power to the indoor and outdoor units.

- STEP 4 – Wait five (5) minutes before moving to Step 5 if no crankcase heater accessory is used,
Wait one (1) hour before starting the unit if compressor crankcase heater accessory is used and the Outdoor Ambient Temperature is below 70 ºF.
- STEP 5 – Set system thermostat to ON.

Section 14. System Charge Adjustment
charging: weigh-In Method
weigh-In Method can be used for the Initial installation, or anytime a system charge is being replaced. weigh-In Method can also be used when power is not available to the equipment site or operating conditions (indoor/Outdoor temperatures) are not In range to verify with the sub cooling charging method.
| A | B | C |
| Model | Factory Charge | charge multiplier for interconnecting refrigerant tube length |
| All models | (The data on nameplate) | 0.6 oz/ft |
Note: The factory charge in the outdoor unit is sufficient for 15 feet of standard size interconnecting liquid line.
Table 19. New Installations — calculating charge using the weigh-In method
- Measure in feet the distance between the outdoor unit and the indoor unit and record on (Line 1). Include the entire length of the line from the service valve to the IDU.
- Enter the charge multiplier from column C.
- Multiply the total length of refrigerant tubing (Line 1) time’s the value on step 2. Record the resulting value.
- This Is the amount of refrigerant to weigh-in prior to opening the service valves.
New Installation weigh-In Method worksheet
- Line Length (ft)
- value from Column C x
- Refrigerant((Step1-15) x Step2) =
Note: If line length is Less than 15 feet , Refrigerant=0,don’t charge.
Table 20. Sealed-System Repairs — calculating charge using the weigh-In method.
- Measure in feet the distance between the outdoor unit and the indoor unit and record on (Line 1). Include the entire length of the line from the service valve to the IDU.
- Enter the charge multiplier from column C.
- Multiply the total length of referent tubing (Line 1) times the value on (Line 2). Record the result on (Line 3) of the worksheet.
- Record the value in column B to Line 4 of the worksheet.
- Add the values from step 3, step 4,and record the resulting value on Line 5. This is the amount of refrigerant to weigh-in.
New Installation weigh-In Method worksheet
- Line Length (ft)
- value from Column C x
- (Step1-15) x step 2 =
- Factory charge (column B) +
- Refrigerant (steps 3+4) =
Note: If line length is Less than 15 feet , Refrigerant=factory charge
Note: The only mode approved for setting validating system charge Is using Charging Mode-cooling. Outdoor Temperature must be between 55OF and 120OF with Indoor Temperature kept between 70OF and 80OF.





Secure Suction line from joists using isolators every 8 ft. Secure Liquid Line directly to Suction line using tape, wire, or other appropriate method every 8 ft.
Secure Suction Line using isolators every 8 ft. Secure Liquid Line directly to Suction Line using tape, wire, or other appropriate method every 8 ft.































