ZKTeco TS1000 Tripod Turnstile 
Thank you for choosing our product. Please read the instructions carefully before operation. Follow these instructions to ensure that the product is functioning properly. The images shown in this manual are for illustrative purposes only.
For further details, please visit our Company’s website www.zkteco.com.
Copyright © 2021 ZKTECO CO., LTD. All rights reserved.
Without the prior written consent of ZKTeco, no portion of this manual can be copied or forwarded in any way or form. All parts of this manual belong to ZKTeco and its subsidiaries (hereinafter the “Company” or “ZKTeco”).
Trademark
is a registered trademark of ZKTeco. Other trademarks involved in this manual are owned by their respective owners.
Disclaimer
This manual contains information on the operation and maintenance of the ZKTeco equipment. The copyright in all the documents, drawings, etc. in relation to the ZKTeco supplied equipment vests in and is the property of ZKTeco. The contents hereof should not be used or shared by the receiver with any third party without express written permission of ZKTeco.
The contents of this manual must be read as a whole before starting the operation and maintenance of the supplied equipment. If any of the content(s) of the manual seems unclear or incomplete, please contact ZKTeco before starting the operation and maintenance of the said equipment.
It is an essential pre-requisite for the satisfactory operation and maintenance that the operating and maintenance personnel are fully familiar with the design and that the said personnel have received thorough training in operating and maintaining the machine/unit/equipment. It is further essential for the safe operation of the machine/unit/equipment that personnel has read, understood and followed the safety instructions contained in the manual.
In case of any conflict between terms and conditions of this manual and the contract specifications, drawings, instruction sheets or any other contract-related documents, the contract conditions/documents shall prevail. The contract specific conditions/documents shall apply in priority.
- ZKTeco offers no warranty, guarantee or representation regarding the completeness of any information contained in this manual or any of the amendments made thereto.
- ZKTeco does not extend the warranty of any kind, including, without limitation, any warranty of design, merchantability or fitness for a particular purpose.
- ZKTeco does not assume responsibility for any errors or omissions in the information or documents which are referenced by or linked to this manual. The entire risk as to the results and performance obtained from using the information is assumed by the user.
- ZKTeco in no event shall be liable to the user or any third party for any incidental, consequential, indirect, special, or exemplary damages, including, without limitation, loss of business, loss of profits, business interruption, loss of business information or any pecuniary loss, arising out of, in connection with, or relating to the use of the information contained in or referenced by this manual, even if ZKTeco has been advised of the possibility of such damages.
This manual and the information contained therein may include technical, other inaccuracies or typographical errors. ZKTeco periodically changes the information herein which will be incorporated into new additions/amendments to the manual. ZKTeco reserves the right to add, delete, amend or modify the information contained in the manual from time to time in the form of circulars, letters, notes, etc. for better operation and safety of the machine/unit/equipment. The said additions or amendments are meant for improvement /better operations of the machine/unit/equipment and such amendments shall not give any right to claim any compensation or damages under any circumstances.
ZKTeco shall in no way be responsible (i) in case the machine/unit/equipment malfunctions due to any non-compliance of the instructions contained in this manual (ii) in case of operation of the machine/unit/equipment beyond the rate limits (iii) in case of operation of the machine and equipment in conditions different from the prescribed conditions of the manual.
The product will be updated from time to time without prior notice. The latest operation procedures and relevant documents are available on http://www.zkteco.com
If there is any issue related to the product, please contact us. ZKTeco Headquarters
Address: ZKTeco Industrial Park, No. 32, Industrial Road, Tangxia Town, Dongguan, China.
Phone +86 769 – 82109991
Fax +86 755 – 89602394
For business related queries, please write to us at: [email protected].
To know more about our global branches, visit www.zkteco.com.
About the Company
ZKTeco is one of the world’s largest manufacturer of RFID and Biometric (Fingerprint, Facial, Finger-vein) readers. Product offerings include Access Control readers and panels, Near & Far-range Facial Recognition Cameras, Elevator/floor access controllers, Turnstiles, License Plate Recognition (LPR) gate controllers and Consumer products including battery-operated fingerprint and face-reader Door Locks. Our security solutions are multi-lingual and localized in over 18 different languages. At the ZKTeco state-of-the-art 700,000 square foot ISO9001-certified manufacturing facility, we control manufacturing, product design, component assembly, and logistics/shipping, all under one roof.
The founders of ZKTeco have been determined for independent research and development of biometric verification procedures and the productization of biometric verification SDK, which was initially widely applied in PC security and identity authentication fields. With the continuous enhancement of the development and plenty of market applications, the team has gradually constructed an identity authentication ecosystem and smart security ecosystem, which are based on biometric verification techniques. With years of experience in the industrialization of biometric verifications, ZKTeco was officially established in 2007 and now has been one of the globally leading enterprises in the biometric verification industry owning various patents and being selected as the National High-tech Enterprise for 6 consecutive years. Its products are protected by intellectual property rights.
About the Manual
This manual introduces the operations of TS1000 Pro Series Tripod Turnstile product.
All figures displayed are for illustration purposes only. Figures in this manual may not be exactly consistent with the actual products.
Features and parameters with ★ are not available in all devices.
Document Conventions
Conventions used in this manual are listed below: GUI Conventions
| For Software | |
| Convention | Description |
| Bold font | Used to identify software interface names e.g. OK, Confirm, Cancel |
| > | Multi-level menus are separated by these brackets. For example, File > Create > Folder. |
| For Device | |
| Convention | Description |
| < > | Button or key names for devices. For example, press <OK> |
| [ ] | Window names, menu items, data table, and field names are inside square brackets. For example, pop up the [New User] window |
| / | Multi-level menus are separated by forwarding slashes. For example, [File/Create/Folder]. |
Symbols 
TS1000 Pro: Tripod Turnstile.
TS1011 Pro: Tripod Turnstile with Controller and RFID Reader.
TS1022 Pro: Tripod Turnstile with Controller and Fingerprint Reader with RFID function. Please read this document carefully before installation and using the device.
Technical Specifications
| Input Voltage | AC 100~120V /200~240V, 50Hz /60Hz | Max. Tolerance of Arms | Center: 80 kg End: 40 kg |
| Rated Power | 60 W | Ingress Protection Degree | IPX4 |
| Operating Environment | Indoor and Outdoor (shelter) | Arm Length (mm) | 500 |
| Operating Temperature | -28ºC ~ 60ºC | Net Weight | 36kg |
| Operating Humidity | 5% ~ 85% | Gross Weight | 50kg |
| Flow Rate | Max 30 passages/minute | Dimension(mm) Figure 1 | L = 520, W = 310, H = 1010 |
| Input Control Signal | Dry contact | Package Size (mm) | L = 570, W = 365, H = 1080 |

Unpacking and Testing the Tripod Turnstile
Unpacking
The top part of the tripod is heavy; do not remove the foam lining at the bottom before installation, as shown in Figure 2-1. 
Arm Installation
In order to prevent the arm from damaging during transportation, the arm will not be initially installed to the devices.
Installation procedure
Put the arm kit into the hole of cabinet; make sure the screw holes match with mechanism core, then tighten 3 hex screws, as shown in Figure 2-2. 
Power- on Test before Installation
- Please make sure that the power requirements are strictly met to avoid permanent damages to the unit. Input voltage: AC 100~120V /200~240V.
Note: The tripod turnstile must be connected to the ground (earth). - Power on and wait 30s for the tripod turnstile to finish the self-check program.
- Lift the arms manually, as shown in Figure 2-3B.
- Check whether the tripod turnstile and the LED indicators work properly.
If there is any problem, please contact the supplier.
Equipment Installation
Installation Conditions
The equipment must be installed on concrete ground, ensuring that expansion bolts can be secured firmly. You are suggested to install an assistant framework or fence to form a passageway, as shown in Figure 3-1. 
Notes:
- When installing the tripod turnstile against the wall, please reserve a distance of at least 100 mm in order to open the cover for future adjustment and maintenance.
- The spare space from the end of the arm shall not be greater than 80 mm (see Figure 3-1).
- You are also recommended to set a warning line for card swiping (see Figure 3-2). The warning line prompts users to swipe cards in a particular area, which would greatly reduce the probability of equipment failure caused by improper operations.

Cabling
There are inlets in the bottom plate for cabling, as shown in Figure 3-3. Units of all data is millimeter. Power supply and communication wire should go through the inlet. Cable protection covers are suggested to use if it is surface mounted.
Warning: The tripod turnstile must be connected to the ground (earth); there is wiring interface near the power switch. 
Installation
- Drill holes.
- Fix the mounting plate to its original position.
Place the mounting plate properly, then apply screw securing glue on the surface and threads of the expansion bolts, install four expansion bolts to secure the mounting plate, and use a horizontal ruler to test the levelness of the mounting plate. If the mounting plate is not levelled, adjust it with the gaskets provided. Note that all the four expansion bolts must be installed properly, as shown in Figure 3- 4.
- Install the turnstile on the mounting plate and tighten the screws. Apply screw securing glue before using and putting gaskets on the screws to adjust the direction of the turnstile. If the tripod turnstile is not levelled, you can place gaskets to adjust, as shown in Figure 3-5.

Remote Control
Wired Remote Control
Dial code description:
The DIP switch is divided in eight dial codes from KE-1 to KE-8. Move the switch up to turn ON and down to OFF.
Description of function Setting:
- Dial 0 to turn off
- Dial 1 to turn on
Dial code function item:
Unmanned passage time(KE-1,KE-2,KE-3):
| Switch Status | Time Period |
| 000 (OFF OFF OFF) | 5S (Default) |
| 001 (OFF OFF ON) | 10s |
| 010 (OFF ON OFF) | 15s |
| 011 (OFF ON ON) | 20s |
| 100 (ON OFF OFF) | 30s |
| 101 (ON OFF ON) | 40s |
| 110 (ON OFF ON) | 50s |
| 111 (ON ON ON) | 60s |
- Memory Swipe Mode(KE-6)
- Dial 1(ON) to turn it on.
- Dial 0(OFF) to turn it off.
- Turn on Alarm Mode (KE-8)
- Dial 1(ON) to turn it on.
- Dial 2(OFF) to turn off
Wireless Remote Control★
To code:
- First, power the controller of the tripod turnstile.
- Short press the learning button on the controller, and a light corresponding to the button will flash slowly. Then press any switch on the remote control for acquiring the information. After the successful operation, the light turns off.
Clear mode:
Long press the learning button on the three roller gate controller for 3 seconds. The learning light stays on for a while then turns off indicating the code is cleared successfully. The original learning remote control cannot be used again and cam only be remote-controlled by the code again.
Please read the Remote Control of Tripod Turnstile User Manual to get more information about the two types of remote controls.
Equipment Precautions and Maintenance
Precautions
- It is recommended to purchase additional accessories to use the product outdoors.
- You may install cooling fans for the equipment if the working temperature is often above 50 ºC.
- The device is rated IP54 waterproof under proper installation. However, its ability to stand in extreme weather conditions, such as typhoon, is not guaranteed.
- If the temperature is around or below -30ºC, you are recommended to install a heating plate for the equipment. You might need to turn the power on multiple times to let the device automatically heat up through the self-check program.
- The service life of this equipment may be shortened if it works outdoors in coastal areas or a region prone to acid rain.
- If the power and signal cables are connected properly, this equipment can be immersed under water at a depth of 250 mm, but it must not be powered on when it is immersed in water.
- It is highly recommended to set a warning card-swiping line to remind passers-by to correctly swipe cards at a reasonable distance from the device to prevent passers-by from being squeezed.
- It is recommended to place a warning sign at a conspicuous position, and prompt: “Please swipe your card outside the warning line and pass in order. Thank you!”
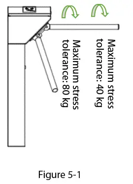
The maximum stress tolerance of the tripod turnstile’s arms
Please note that the maximum tolerance at the center and the ends of the arm is 80kg and 40kg, respectively (See Figure 5-1). When the impact force on the tripod turnstile reaches the designed limit, the arms will break down first to ensure that the body of the equipment is not damaged and the passer-by is not injured. 
In case of emergencies
This equipment is designed to drop the arms automatically if there is power failure thus people can pass freely. Also, there is an interface on the turnstile control board connecting with an emergency switch (J6 Drop Arm) which keeps the tripod turnstile open in case of emergencies. Please lift the arms manually after at least 6 seconds after power restoration.
Maintenance
Forming maintenance consciousness
The tripod turnstile needs to be maintained regularly and repaired once it is damaged. It is recommended placing warning signs at conspicuous positions for alerting every passerby to pass carefully and in good order. Reasonable maintenance consciousness helps to guarantee long-term usage of the tripod turnstile.
Regular maintenance
Cleaning and protection liquid dedicated for stainless steel are recommended to wipe the outer shell of the equipment regularly. The tripod turnstile used outdoors or in an environment with lots of dust must be maintained at least once a year, for example, clean up the dust and add appropriate lubricating oil to the disk wheel. Please note that regular maintenance should only be performed after power-off, as shown in Figure5-2. 
Troubleshooting
| Symptom | Troubleshooting |
| The indicator is not lit when the equipment is powered on. | It may be caused by the power supply or circuit. Check whether the connection cable and power cable are damaged, or whether the wiring is loosed. |
| The arms of the tripod turnstile cannot be lifted manually after the equipment is powered on. | It may be caused by the problem of related components or drop-arm solenoid. Check whether the drop-arm solenoid is operating, and check the working status of the solenoid, as shown in Figure 5-2. |
|
The tripod turnstile does not grant an access after successful authentication. | It may be caused by lack of permission or a circuit problem. 1. Check whether the user has the permission to pass. 2. Use a multimeter to check whether the NO and COM ports of the access control system have a relay signal output. 3. Short-circuit the ports “K1, GND” and “K2, GND”; if the turnstile is successfully opened, the controller is not normal. |
| The turnstile allows people to continuously passing one-way side. | 1. Check the turnstile-opening solenoid. 2. Check if the access controller “Lock driving duration” is set to 1s. 3. Check whether the turnstile-opening solenoid is operating and check whether something is stuck at the turnstile- opening solenoid, as shown in Figure 5-2. |
Attachment 1 Factory Settings
| No. | Function | Default |
| 1 | Lock Driving Duration | 5s |
| 2 | Door Sensor | None |
| 3 | Verification Interval | 1s |
| 4 | Controller Communication | TCP/IP: 192.168.1.201 |
| 5 | Turnstile Opening Duration | 5s |
| 6 | Passing Direction Indicator | Passing is allowed in both directions |
| 7 | Continue Passing Function | Disabled |
| 8 | Alarm Function | Disabled |
Note: The Lock Driving Duration is 5 seconds by default. Please set it to 1 second. Do not connect electrically charged object to any ports of Opening Signal Input, otherwise it will damage the control board.
Attachment 2 Connection Diagram of Control Board and Access Control Panel 

Warning: This is a class A product. In a domestic environment, this product may cause radio interference so the user may have to take adequate additional measures.
ZKTeco Industrial Park, No. 32, Industrial Road, Tangxia Town, Dongguan, China.
Phone : +86 769 – 82109991
Fax : +86 755 – 89602394
www.zkteco.com
Copyright © 2021 ZKTECO CO., LTD. All Rights Reserved.





















