ZKTeco mTS1000 Tripod Turnstile User Manual
Thank you for choosing our product. Please read the instructions carefully before operation. Follow these instructions to ensure that the product is functioning properly. The images shown in this manual are for illustrative purposes only.
For further details, please visit our Company’s website www.zkteco.com.
Copyright © 2021 ZKTECO CO., LTD. All rights reserved.
Without the prior written consent of ZKTeco, no portion of this manual can be copied or forwarded in any way or form. All parts of this manual belong to ZKTeco and its subsidiaries (hereinafter the “Company”or”ZKTeco”).
Trademark
is a registered trademark of ZKTeco. Other trademarks involved in this manual are owned by their respective owners.
Disclaimer
This manual contains information on the operation and maintenance of the ZKTeco equipment. Thecopyright in all the documents, drawings, etc. in relation to the ZKTeco supplied equipment vests in and is the property of ZKTeco. The contents hereof should not be used or shared by the receiver with any third party without express written permission of ZKTeco.
The contents of this manual must be read as a whole before starting the operation and maintenance of the supplied equipment. If any of the content(s) of the manual seems unclear or incomplete, please contact ZKTeco before starting the operation and maintenance of the said equipment.
It is an essential pre-requisite for the satisfactory operation and maintenance that the operating and maintenance personnel are fully familiar with the design and that the said personnel have received thorough training in operating and maintaining the machine/unit/equipment. It is further essential for the safe operation of the machine/unit/equipment that personnel has read, understood and followed the safety instructions contained in the manual.
In case of any conflict between terms and conditions of this manual and the contract specifications, drawings, instruction sheets or any other contract-related documents, the contract conditions/documents shall prevail. The contract specific conditions/documents shall apply in priority.
ZKTeco offers no warranty, guarantee or representation regarding the completeness of any information contained in this manual or any of the amendments made thereto. ZKTeco does not extend the warranty of any kind, including, without limitation, any warranty of design, merchantability or fitness for a particular purpose.
ZKTeco does not assume responsibility for any errors or omissions in the information or documents which are referenced by or linked to this manual. The entire risk as to the results and performance obtained from using the information is assumed by the user.
ZKTeco in no event shall be liable to the user or any third party for any incidental, consequential, indirect, special, or exemplary damages, including, without limitation, loss of business, loss of profits, business interruption, loss of business information or any pecuniary loss, arising out of, in connection with, or relating to the use of the information contained in or referenced by this manual, even if ZKTeco has been advised of the possibility of such damages.
This manual and the information contained therein may include technical, other in ac curacies or typo graphical errors. ZKTeco periodically changes the information herein which will be incorporated into new additions/ amendments to the manual. ZKTeco reserves the right to add, delete, am end or modify the information contained in the manual from time to time in the form of circulars, letters, notes, etc. for better operation and safety of the machine/unit/equipment. The said additions or amendments are meant for improvement /better operations of the machine/ unit/ equipment and such amendments shall not give any right to claim any compensation or damages under any circumstances.
ZKTeco shall in no way be responsible (I) in case the machine/unit/equipment malfunctions due to any non-compliance of the instructions contained in this manual (ii) in case of operation of the machine/unit/equipment beyond the rate limits (iii) in case of operation of the machine and equipment in conditions different from the prescribed conditions of the manual.
The product will be updated from time to time without prior notice. The latest operation procedures and relevant documents are available on http://www.zkteco.com
If there is any issue related to the product, please contact us.
ZKTeco Headquarters
Address: ZKTeco Industrial Park, No. 32, Industrial Road, Tangxia Town, Dongguan, China.
Phone: +86 769 – 82109991
Fax: +86 755 – 89602394
For business-related queries, please write to us at: [email protected].
To know more about our global branches, visit www.zkteco.com.
About the Company
ZKTeco is one of the world’s largest manufacturer of RFID and Biometric (Fingerprint, Facial, Finger-vein)readers. Product offerings include Access Control readers and panels, Near & Far-range Facial Recognition Cameras, Elevator/floor access controllers, Turnstiles, License Plate Recognition (LPR) gate controllers and Consumer products including battery-operated fingerprint and face-reader Door Locks. Our security solutions are multi lingual and localized in over 18 different languages. At the ZKTeco state-of the-art700,000 square foot ISO9001-certified manufacturing facility, we control manufacturing, product design, component assembly, and logistics/shipping, all under one roof.
The founders of ZKTeco have been determined for independent research and development of biometric verification procedures and the productization of biometric verification SDK, which was initially widely applied in PC security and identity authentication fields. With the continuous enhancement of the development and plenty of market applications, the team has gradually constructed an identity authentication ecosystem and smart security ecosystem, which are based on biometric verification techniques. With years of experience in the industrialization of biometric verifications, ZKTeco was officially established in 2007 and now has been one of the globally leading enterprises in the biometric verification industry owning various patents and being selected as the National High tech Enterprise for 6 consecutive years. Its products are protected by intellectual property rights.
About the Manual
This manual introduces the operations of mTS1000 Series of Tripod Turnstiles.
All figures displayed are for illustration purposes only. Figures in this manual may not be exactly consistent with the actual products.
Features and parameters with ★ are not available in all devices.
Document Conventions
Conventions used in this manual are listed below:
GUI Conventions
For Software | |
Convention | Description |
Bold font | Used to identify software interface names e.g. OK, Confirm, Cancel. |
> | Multi-level menus are separated by these brackets. For example, File > Create > Folder. |
For Device | |
Convention | Description |
< > | Button or key names for devices. For example, press <OK>. |
[ ] | Window names, menu items, data table, and field names are inside square brackets. For example, pop up the [New User] window. |
/ | Multi-level menus are separated by forwarding slashes. For example, [File/Create/Folder]. |
Symbols
Convention | Description |
![]() | This represents a note that needs to pay more attention to. |
![]() | The general information which helps in performing the operations faster. |
![]() | The information which is significant. |
![]() | Care taken to avoid danger or mistakes. |
![]() | The statement or event that warns of something or that serves as a cautionary example. |
Overview
The mTS1000 Series is one kind of ZKTeco’s innovative semi-automatic tripod turnstile series, it is made of SUS304 Stainless Steel, with the acrylic panel on the top, which is beautiful in appearance and clean and is anti-rust. The top cover panel of the mTS1000 Series integrated general access control is customizable according to different verification modes. The mTS1000 Series runs smoothly and quietly and consumes little power thanks to its small and compact body design.
The mTS1000 Series tripod arms are normally held in a locked position, it grants legal access to the authorized persons and restricts illegal access. When a valid Card/Fingerprint/QR code is detected, arms unlock and automatically rotate at a slight push. During emergencies and power outages the tripod arms completely collapse, the lock will release to allow fast evacuation and egress, there by ensuring users FAST unencumbered exit to safety. When the power is on, the arm will automatically lift up to form a secure lane.
Features
- Design: Compact body, the device run smoothly, silently and consumes little power
- Count Statistics: Support the count of the number of people Inbound and Outbound.
- Verification Modes: Multiple authentication methods, convenient and secure.
- Gate Function: Supports anti-passback and fire mode.
Appearance and System Components
Appearance
The appearance and dimensions of the mTS1000 Series are shown in the figure below:

System Components
The system components of the mTS1000 Series are shown below:
| 1. Direction Indicator | 2. Arm |
| 3. Verification Units | 4. Disk Wheel |
Mechanical System
The mechanical system of the tripod turnstile includes the chassis and the core component. The chassis is a carrier where the Direction indicator, Reader, QR code scanner, Fingerprint sensor and the Door lock are installed. The core component mainly consists of the Frame, Bearing, and Arm.
Electronic Control System
The electronic control system of a tripod turnstile is mainly composed of the Card Reader/Fingerprint sensor/QR code, Turnstile control board and Direction Indicator.
Reader: The reader reads the data in the card and sends it to the Access Controller.
Fingerprint sensor: The device compares the fingerprint that is being pressed onto the finger print sensor with all the fingerprint data and sends it to the Access Controller.
QR code sensor: The sensor compares the acquired QR code with all QR code data registered in the device and sends it to the Access Controller.
Turnstile control board: The turnstile control board is the system’s control center that receives signals from the reader and the photoelectric switch performs logical calculation and processing of these signals and sends executive commands to the Direction indicator and arm.
Direction Indicator: This indicator displays the pedestrian passage path and directs them to pass through the lane in a safe and orderly manner.
Working Principle
- After powering on to the device, the system performs the Power-On Self-Test.
- When a valid Card/Fingerprint/QR code is detected, the buzzer will give a positive audible prompt to the pedestrian, indicating that successfully verified. And then, the reader sends signals to the Access Controller to request permission to pass through the passage. The Access Controller will send the signal to the master control panel.
- After receiving the signal from the Access Controller, the turnstile control board sends valid control signals to the direction indicator and the arm. At last the direction arrow turns green.
- Pedestrians according to the directional signs, gently push the unlocked arm, the arm will automatically rotate until the pedestrian through the channel.
- If the pedestrian enters the passage but forgets to verify identification, or if the card held/fingerprint/QR code by the pedestrian is invalid, the system does not allow pass. The pedestrian can pass through the passage only after a valid card/fingerprint/QR code is successfully verified
Working Modes of the System
To make the product more versatile, this system provides 2 working modes for the user, including Normally Open Mode and Normally Close Mode.
Normal Open Mode: In this working mode, the arm falls down.
Normal Close Mode: In this working mode, the arm is locked
Technical Specifications
| Feature | Specification |
| Communication | TCP/IP, RS485 |
| Input Voltage | AC110V/220V, 50/60Hz |
| Input Control Signal | Switching Signal |
| Output Voltage | DC 24V |
| Protection Level | IPX3 |
| Time of Gate Opening/Closing | Minimum 0.6 Second |
| Operating Humidity | <93% (Non-condensing) |
| Operating Temperature | -20°C to 70°C |
| Flow Rate | Maximum 25/minute |
| Proximity Switch | Three pairs |
| Working Environment | Indoor/Outdoor (if sheltered) |
| MCBF | 2 million |
| Working Power | 40W |
| Standby Power | 10W |
| Dimension (mm) (L*W*H) | 798*750*950 |
| Noise | <60dB |
| Certifications | CE and FCC |
Function Introduction
Fingerprint Verification
In this verification mode, the device compares the fingerprint that is being pressed onto the fingerprint reader with all the fingerprint data sends it to the Access Controller.
The device enters the fingerprint authentication mode when a user presses his/her finger onto the fingerprint scanner.
Recommended fingers: It is recommended to use index, middle, or ring finger for registration and avoid using the thumb or little finger, as they are difficult to accurately press onto the fingerprint reader.
Note: Please use the correct method when pressing your fingers onto the fingerprint reader for registration and identification. Our company will assume no liability for recognition issues that may result from incorrect usage of the product. We reserve the right of final interpretation and modification concerning this point.

Card Verification
The Card Verification mode compares the card number in the card induction area with all the card number data registered in the device and sends it to the Access Controller.
The device enters the card authentication mode when a user presses his/her card to the card reading area.


QR code Verification
The QR code Verification mode is to scan the QR code on the user’s mobile phone through the QR code scanner and compare the data with the registered QR code, and then sends it to the Access Controller.
When the user places the mobile phone displaying with the QR code on top of the QR code scanner, the device enters the QR code authentication mode.


Wired Remote Control
The wired remote control has five buttons, which are the Left button, Right button, Down button, Lock button, and Reset button. These five independent buttons have individual functions as well as combined functions. Pressing two buttons within the specified time interval can call up a predefined mode.

The following tables describe the modes of different button press actions:
- Independent functions:
Buttons
Description

Press the button once to open the tripod turnstile and can pass by identity verification from the inbound. 
Press the button once to open the tripod turnstile and can pass by identity verification from the outbound. 
In emergency mode, press the button once to fall the arm lever. Then the inbound and outbound sides get open and can pass freely without identity verification. 
Press the button once to raise the arm lever. Then the inbound and outbound sides are controlled by the tripod turnstile. The identity verification becomes invalid, and no pass is allowed. 
Press a button once to restore the default inbound and outbound identity verification pass mode of the arm. - Combined functions:
Status | Description |
| Inbound free, Outbound control | Press ” |
| Inbound control, Outbound free | Press ” |
| Inbound free, Outbound free | Press ” |
| Inbound forbidden, Outbound free | First press ” |
| Inbound free, Outbound forbidden | First press ” |
| Inbound control, Outbound forbidden | First press ” |
| Inbound forbidden, Outbound control | First press ” |
The wired remote control is connected to the controller, then set the controller’s code pairing mode to complete the wired remote control’s setup
Dial code description:
The DIP switch is divided in eight dial codes from KE-1 to KE-8. Move the switch Up toturnONanddown to turn OFF.
Description of Function Setting:
- Dial 0 to turn OFF.
- Dial 1 to turn ON.
Dial code function item:
- Unmanned passage time (KE-1, KE-2, KE-3):
Switch Status
Time Period 000 (OFF OFF OFF) 5s (Default)
001 (OFF OFF ON)
10s
010 (OFF ON OFF)
15s
011 (OFF ON ON)
20s 100 (ON OFF OFF) 30s
101 (ON OFF ON)
40s 110 (ON OFF ON) 50s
111 (ON ON ON)
60s
- Memory Swipe Mode (KE-6):
Dial 1 (ON) to turn on. - Dial 0 (OFF) to turn off. Turn on Alarm Mode (KE-8):
Dial 1 (ON) to turn on.
Dial 0 (OFF) to turn off.
Wireless Remote Control★
The wireless remote control of the tripod turnstile is an intelligent device that remote controls the entrance and exit. It is designed for manual control of the tripod turnstile by the administrator. The wireless remote control has four buttons A, B, C, and D, corresponding to the options open entrance gate, open exit gate, emergency mode open-bar pass, and alarm lock.
Buttons | Description |
A | Press the button once to open the tripod turnstile on the inbound and can pass by identity verification from the inbound. |
| B | Press the button once to open the tripod turnstile on the outbound and can allow people to pass after their identity verification from the outbound. |
C | In emergency mode, press the button once to fall the arm lever. Then the inbound and outbound sides get open and can pass freely without identity verification. |
| D | Press the button once to raise the arm lever. Then the inbound and outbound sides are controlled by the tripod turnstile. The identity verification becomes invalid, and no pass is allowed. |
When the controller is powered on, the wireless remote control is not in communication with the controller. Press and hold the DIP switch of the controller to enter the code pairing mode and operate the remote control according to the eight DIP switch codes of the controller.
To code:
- First, power the controller of the tripod turnstile.
- Short press the learning button on the controller, and a light corresponding to the button will flash slowly. Then press any switch on the remote control for acquiring the information. After the successful operation, the light turns off.
Clear code:
Long press the learning button on the three roller gate controller for 3 seconds. The learning light stays on for a while then turns off indicating the code is cleared successfully. The original learning remote control cannot be used again and can only be remote-controlled by the code again.
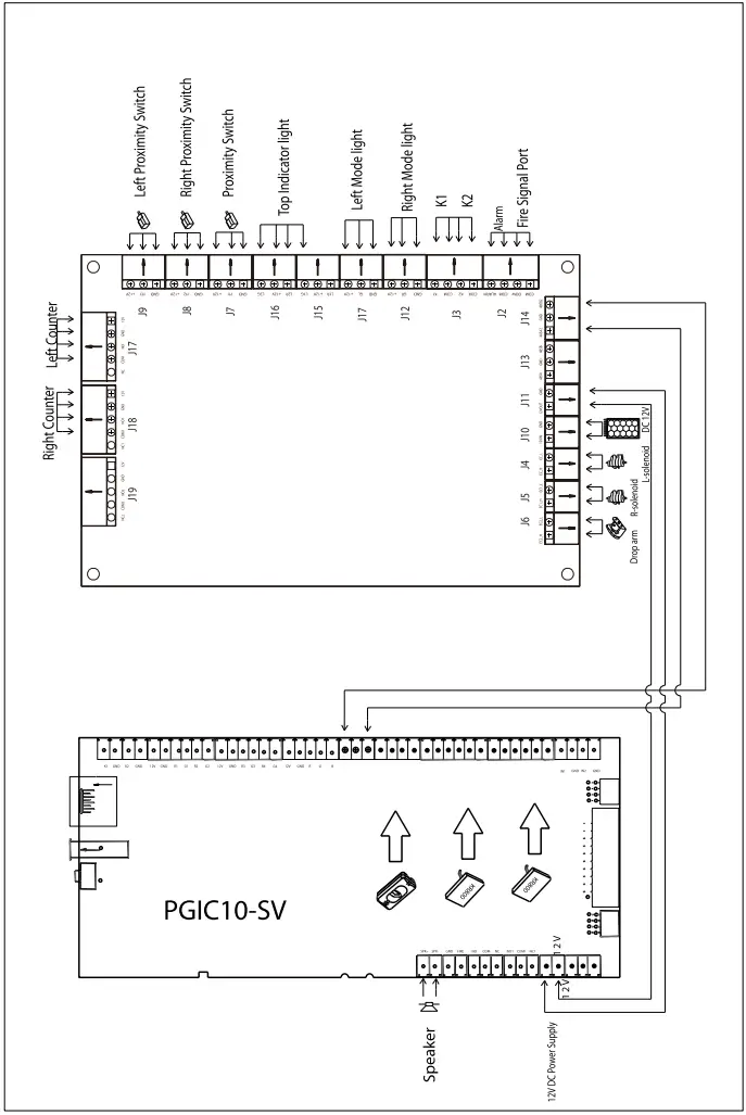
Wiring Diagram

Scan the QR Code to view the manual
Packing List
The package consists of the following items:
| mTS1000 | 1 |
![]() | Power cable | 1 |
| Card | 1 |
![]() | Expansion Screw M12*100 | 4 |
| Stainless Steel Maintenance Wipes | 1 |
| Hex wrench | 1 | |
| Allen Screw | 3 |
![]() | Key | 2 |
| Washer | 3 |
Support
ZKTeco Industrial Park, No. 32, Industrial Road,
Tangxia Town, Dongguan, China.
Phone : +86 769 – 82109991
Fax : +86 755 – 89602394
www.zkteco.com
Copyright © 2021 ZKTECO CO., LTD. All Rights Reserved.





































