FR30104 Jolie 19 Inch LED Mini Chandelier
Instruction Manual
FR30104 Jolie 19 Inch LED Mini Chandelier
Item No. FR30104 / FR30105
T24 JA8-2016
ASSEMBLY INSTRUCTIONS
Shut off electrical current befoer starting. If the fixture you are replacing is turned on and off by a wall switch, simply turn the switch off. If not, remove the appropriate fuse (or open the circuit breakers) until the fixture is dead.
• DO NOT restore current – either by fuse, breaker, or switch -until the new fixture is completely wired and in place.
STEP 1
- First it will be necessary to determine the length of stems (S) you will require to hang your fixture at the desired height – see Drawing 1.
- Starting with a long stem, slip the wires throught the center. Slip stem along wire and thread onto the top of the fixture body. Repeat the process with the remaining quantity of stems until all the stem have been slipped over the wire and threaded together.
- Now take the fiberglass sleeving (F) and slip all the wires through. Now take the sleevingand slide it along the wires and slip approximately 1/2′ of the sleeving down into the top stem.
- Next take the fixture loop (L) and slip the wire through the center hole. Slip loop along wire and over the fiberglass sleeving. Now thread loop onto top stem. Fixture is ready for installation. Follow instruction sheet “Mounting Instructions 30104 / 30105.
- After fixture is hung from the ceiling. Return to this page for glass installation instructions.
SAFETY WARNING: READ WIRING AND GROUNDING INSTRUC-TIONS (I.S. 18) AND ANY ADDITIONAL INSTRUCTIONS. TURN POWER SUPPLY OFF DURING INSTALLATION. IF NEW WIRING IS REQUIRED, CONSULT A QUALIFIED ELECTRICIAN OR LOCAL AUTHORITIES FOR CODE REQUIREMENTS.
Make electrical connections from supply wire to fixture lead wires. Refer to instruction sheet (I.S. 18) and follow all instructions to make all necessary wiring connections. Then refer back to this sheet to complete installation of this fixture.
GLASS INSTALLATION:
NOTE: It is recommended that the glass be installed after fixture is hung.
- To install glass first remove the barrel knob with threaded stud (T) and plastic washer (P), from the top rail (R) of the fixture body (F) – see Drawing 2.
- Next take a glass panel (G) and align the threaded hole in the top rail with the hole in the top of the glass panel.
- Now thread barrel knob with stud into threaded hole in top rail, making sure plastic washer is between glass panel and base of barrel knob.
- Continue adding panels around the fixture until all panels are installed.

I.S.19-50 hanging instructions
Hanging instructions for fixtures that weigh more than 50lbs
1. Shut off electrical current before starting. If the fixture you are replacing is turned on and off by a wall switch, simply turn the switch off. If not, remove the appropriate fuse (or open the circuit breakers) until the fixture is dead.
• DO NOT RESTORE CURRENT – EITHER BY FUSE, BREAKER, OR SWITCH – UNTIL THE NEW FIXTURE IS COMPLETELY WIRED AND IN PLACE.
2. Supply wires shall enter the outlet box (A) through any knockout except the top center knockout – see Drawing 1.
1. Fixture is to be mounted by a 3/8 steel pipe with 3/8 – 18 NPSM thread, 3/4″ threads at both ends (not supplied). Pipe should be anchored to structure or bridging member with sufficient strength to support 4 times the fixtures weight – see Drawing 2. 2. Adjust pipe so Y2″ of 3/8 steel pipe extends into the junction box, at the center knock out.
3. Please refer to the back of this sheet to the safety cable installation instructions and ONLY complete steps 1 and 2 at this time.
1. Thread pipe coupler (B) onto protruding pipe inside outlet box. Secure in place by tightening allen head screw (C) – see Drawing 1.
2. Thread hexnut (D) onto thread nipple (E). Thread nipple (E) into coupler (B). Secure in place by tightening hexnut (D) against coupler (B) and then tightening alien screw (F). 3. Thread hexnut (G) onto nipple (E). Slip ground wire lip (H) over nipple (E) and thread hexnut (.1) onto nipple (E). DO NOT tighten hexnuts (G) and (J) at this time. 4. Thread screw collar loop (K). Adjust loop height so the half of the exterior thread on screw collar loop (K) is exposed when canopy (L) is held up to the ceiling.
1. Determine length of chain you will require. Attach one end of length of chain to fixture. 2. Slip threaded ring (M) and canopy (L) onto chain – see Drawing 1.
3. Attach fixture with chain to screw collar loop (K). Please get assistance, weight and size of fixture is difficult to manage alone.
4. Weave ground wire, supply wire, and safety cable through chain, up through center of screw collar loop (K), through center of nipple (E), and out the opening on the side of coupler (B).
5. Please refer back to safety cable installation instructions on the back of this sheet and complete step 4.
Drawing 1 – Fixture Assembly
Drawing 2 – Installation Example 
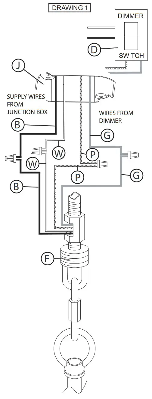
Wiring Instructions for 0-10 volt LED dimmer
Your fixture is designed so it can use a standard incandescent dimmer, Or a 0-10 volt LED dimmer. If a 0-10 volt LED dimmer is used, it may be necessary to have additonal wiring installed from the dimmer switch to the fixture. Consulting an electrician will be necessary.
1. If using the optional 0-10 volt dimmer there will be four wires exiting the junction box. (B) Black [+], (W) White [-], wirng are for the 120 / 277 voltage. The (G) Gray {-} and (P) Purple {+} are for the 0-10 volt wires from the dimmer (D) – see Drawing 1.
2. The fixture has four wires of corrisponding colors. When make the wire connections follow the chart below. Black (B) from junction box (J) wired to Black (B) from fixture (F). White (W) from junction box (J) wired to White (W) from fixture (F). Gray/Pink(G) from junction box (J) wired to Gray/Pink (G) from fixture (F). Purple (P) from junction box (J) wired to Purple (P) from fixture (F) Connect ground wire from fixture to ground screw on mounting hardware
INCANDESCENT DIMMER USAGE:
If using an incandescent dimmer follow manufactures instructions.
NOTE: MAKE SURE TO CAP OFF THE GRAY AND PURPLE WIRE FROM THE FIXTURE INSIDE THE CANOPY. IF THE ARE NOT CAPPED THEY CAN SHORT OUT AND CAUSE THE FIXTURE TO FAIL.
Safety Cable Installation
WARNING: TO AVOID ELECTRICAL SHOCK, THIS SECTION OF THE INSTRUCTION SHEET IS FOR THE SOLE PURPOSE OF SAFETY CABLE INSTALLATION, AND IS NOT TO BE USED TO MAKE ANY ELECTRICAL CONNECTIONS.
• The safety cable must be attached to a ceiling joist or other permanent structure independent of the junction box.
- Using a 1/8” diameter, drill a pilot hole (1). It must be drilled into the permanent structure or through the junction box on joist side where the safety cable is to be attached – see Drawing 3.
- Insert and thread a ¼” hex head lag screw (2) (not included) into pilot hole.
- Continue back to previous I.S. 19-50 to continue installation of this fixture.
- Wrap safety cable (3) around hex head lag screw (2) and tighten to secure cable.
SAFTEY WARNING: READ WIRING AND GROUND INSTRUIONS (I.S.18) AND ANY ADDITIONAL DIRECTIONS. TURN POWER SUPPLY OFF DURING INSTALLATION. IF NEW WIRING IS REQUIRED, CONSULT A QUALIFIED ELECTRICIAN OR LOCAL AUTHORITIES FOR CODE REQUIREMENTS.
Make electrical connections from supply wire to fixture lead wires. Refer to instruction sheet (I.S. 18) and follow all instructions to make all necessary wiring connections.
Drawing 3 – Safety Cable Installation 
A Division of Hinkley Lighting, Inc.
33000 PIN OAK PARKWAY
AVON LAKE, OHIO 44012
toll free 800.446.5539
phone 440.653.5500















