
Installation Guide
Omada Hardware Controller
Setup with videos
https://www.tp-link.com/support/setup-video/
Thank you for purchasing Omada Hardware Controller. This Installation Guide is designed to guide you through installation. Note: The image may differ from the actual product.
Package Contents

Hardware Overview
Front Panel of OC300
Front Panel of OC200
Cloud LED
On: The device is bound to a TP-Link ID.
Slow Flashing: The device is connected to cloud but not bound to a TP-Link ID.
Quick Flashing: The device is being reset to its factory default settings.
Off: The device is disconnected from cloud.
Power LED
On: Working normally.
Off: Working abnormally.
1000M (For OC300)
On: Running at 1000 Mbps.
Off: Running at 10/100 Mbps.
Link/Act
On: A device is linked to the corresponding port but no activity.
Flashing: Transmitting or receiving data.
Off: No device is linked to the corresponding port.
Ethernet Ports (For OC300) and ETH2 Port (For OC200)
Connected to a device to transmit data.
ETH1 (PoE IN) Port (For OC200)
Connected to a standard 802.3af/at PoE device, such as a TP-Link PoE switch, to transmit data and gain power supply simultaneously.
USB 2.0/3.0 Port
Connected to a storage device to back up the configuration file and database. For OC200, this port is available only when OC200 is powered by a PoE device.
Reset Button
After the device is initialized, press and hold the button for 5s to reset the device to its factory default settings.
Rear Panel of OC300
Rear Panel of OC200
Kensington Security Slot
Secure the lock (not provided) into the security slot to prevent the device from being stolen.
Power Socket (For OC300)
Connect the female connector of the power cord here, and the male connector to the AC power outlet (100-240V~50/60Hz).
Micro USB (For OC200)
Connected to a USB Power Source (5 VDC, minimum 1 A) to gain power supply if PoE is not available.
Installation
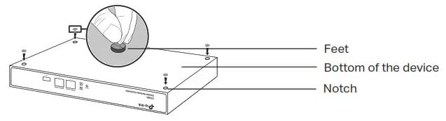
Desktop Installation
- Set the device on a flat surface to support the entire weight of the device with all fittings.
- Remove the adhesive backing papers from the rubber feet.
- Turnover the device and attach the supplied rubber feet to the recessed areas on the bottom at each corner of the device.

Rack Installation (Only for OC300)
- Check the grounding and stability of the rack.
- Secure the supplied rack-mounting brackets to each side of the device with supplied screws.

- After the brackets are attached to the device, use suitable screws (not provided) to secure the brackets to the rack.

Power On
For OC300
Plug the negative connector of the provided power cord into the power socket of the device, and the positive connector into a power outlet as the following figure shows.
For OC200
Via Standard PoE Device
Connect an Ethernet cable from the ETH1 (PoE IN) port of OC200 to a standard 802.3af/at PoE device, such as TP-Link PoE switch.
Via USB Power Source
Connect a USB cable (not provided) from the micro USB port of OC200 to the USB Power Source (5 VDC, minimum 1 A).
The Cloud LED flashes three times when initialization is finished.
Typical Network Topology
A DHCP server (typically a router) with DHCP function enabled is required to assign IP addresses to the EAPs and OC200/OC300 in your local network.
Software Configurations
Omada Hardware Controller supports two management options:
- Remote Management: configure and manage via cloud access
- Local Management: configure and manage locally
Remote Management
Via Omada App
- Make sure that your mobile device and OC200/OC300 can access the internet.
- Download the Omada app on your mobile device. It can be downloaded from App Store or Google Play:

https://www.tp-link.com/common/app/omada/qrcode.php - Launch the app and go to Cloud Access. Then log in with your TP-Link ID.
- Tap the + button on the upper-right to add OC200/OC300 and follow the step-by-step instructions to complete the Quick Setup.
Via a Web Browser
- Make sure that your management device and OC200/OC300 can access the internet.
- Launch a web browser and type https://omada.tplinkcloud.com in the address bar, then press Enter (Windows) or Return (Mac).

- Enter your TP-Link ID and password to log in.
- Click
Controller on the left column, and then click + Add Controller and choose Hardware Controller to add your OC200/OC300. - Click Let’s Get Started and follow the step-by-step instructions to complete the configuration wizard.
Local Management
Via Omada App
- Download the Omada app on your mobile device. It can be downloaded from App Store or Google Play:
https://www.tp-link.com/common/app/omada/qrcode.php - Make sure that your mobile device and OC200/OC300 are in the same subnet.
- Launch the app and go to Local Access. Then tap the + button on the upper-right corner to add OC200/OC300.
- Choose the auto-detected device or manually add your device by entering its IP address/URL and port number. Follow the step-by-step instructions to complete the Quick Setup.
Via a Web Browser
- Make sure that your management device and OC200/OC300 are in the same subnet.
- Check the DHCP server (typically a router) for OC200/OC300’s IP Address. The default fallback IP address is 192.168.0.253.
• If you have downloaded the Omada app, you can also check the app for OC200/OC300’s IP address.
• The fallback IP address is used when OC200/OC300 fails to get dynamic IP address from the DHCP server. - Launch a web browser and type OC200/OC300’s IP address in the address bar, then press Enter (Windows) or Return (Mac).

- Click Let’s Get Started and follow the step-by-step instructions to complete the configuration wizard.
For detailed configurations, please visit https://www.tp-link.com/support to download the User Guide in the download center.
To ask questions, find answers, and communicate with TP-Link users or engineers, please visit https://community.tp-link.com to join TP-Link Community.
For technical support, the user guide and other information, please visit https://www.tp-link.com/support, or simply scan the QR code.
If you have any suggestions or needs on the product guides, welcome to email [email protected].
http://www.tp-link.com/support

TP-Link hereby declares that the device is in compliance with the essential requirements and other relevant provisions of directives 2014/30/EU, 2014/35/EU, 2009/125/EC, 2011/65/EU and (EU)2015/863. The original EU declaration of conformity may be found at https//www.tp-link.com/en/ce.
Safety Information
- Keep the device away from water, fire, humidity or hot environments.
- Do not attempt to disassemble, repair, or modify the device. If you need service, please contact us.
























