tp-link EAP110 Omada Wireless Access Point Installation Guide

https://www.tp-link.com/support/setup-video/
Note: The image may differ from the actual product.
1) Hardware Overview
Front Panel

LED Indicator
- Solid Green: The device is initializing or working properly.
- Flashing Green Slowly: The device is in an isolated state.
- Flashing Yellow: The device is working abnormally.
- Flashing Yellow, Green: The device is updating. Do not disconnect or power off the device.
- Quickly Flashing Yellow, Green: The device is being reset to its factory default settings.
Rear Panel

RESET
With the device powered on, press and hold the button for about 5 seconds until the LED is quickly flashing yellow then green, then release the button. The device will restore to factory default settings.
ETH1 (PoE) (For EAP225 / EAP223 / EAP245 / EAP265 HD )
The port is used to connect to the PoE port of the provided PoE adapter or a PSE (Power Sourcing Equipment), such as a PoE switch, for both data transmission and Power over Ethernet (PoE) through Ethernet cable.
ETH2 (For EAP245 / EAP265 HD)
The port is a Gigabit Ethernet port used for bridging.
Note: For EAP245 V4, ETH2 supports Passive PoE Out, and the power consumption of its downlink terminal devices should not exceed 5W
ETHERNET (For EAP110 / EAP115)
The port is used to connect to a router or a switch to transmit data, or to a PSE (Power Sourcing Equipment), such as a PoE switch, for both data transmission and Power over Ethernet (PoE) through Ethernet cable.
POWER (For EAP115)
Plug one end of the provided power adapter to this port and the other end to a standard electrical wall outlet to power the EAP.
2) Hardware Installation
The EAP can be ceiling-mounted or wall-mounted. Choose a mounting method according to your needs. Follow the steps below for the appropriate installation.

Option1: Ceiling Mounting
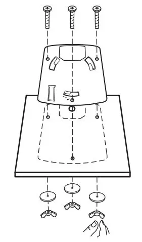
Note: Make sure that the ceiling tile is bigger than the EAP.

- Remove the ceiling tile.

- Place the mounting bracket in the center of the ceiling tile. Mark three positions for the screw holes and a position for the Ethernet cable hole. Drill three 4 mm diameter holes for the screws and a 25 mm diameter hole for the Ethernet cable at the marked positions.

- Secure the mounting bracket to the ceiling tile using three M3x30 pan-head screws, washers and wing nuts, as shown on the left.

- Feed the Ethernet cable through the hole and set the ceiling tile back into place.

- Connect the Ethernet cable to the ETHERNET port. Attach the EAP to the mounting bracket by aligning the arrow mark ↑ on the EAP with the arrow mark on the mounting bracket, then rotate the EAP until it locks into place, as shown on the left.

Option2: Wall Mounting
Note: For security reasons, it is not recommended to install the EAP with the louver downward.

1) If your Ethernet cable feeds through the wall, you can position the mounting bracket to make the cable through the fixing hole. Mark three positions for the screw holes and then drill three 6 mm diameter holes at the marked positions.

2) Insert the plastic wall anchors into the 6 mm diameter holes.

3) Secure the mounting bracket to the wall by driving the self-tapping screws into the anchors. Make sure that the shoulders of the mounting bracket are on the outside.

4) Connect the Ethernet cable to the Ethernet port on the EAP.

5) Attach the EAP to the mounting bracket by aligning the arrow mark ↑ on the EAP with the arrow mark ↓ on the mounting bracket, then rotate the EAP until it locks into place, as shown on the left.

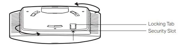
Tip:
To remove the EAP from the mounting bracket, insert a paper clip in the Security Slot to release the Locking Tab and rotate the EAP until it is detached from the mounting bracket, as shown below.

3) Power Supply
The EAP can be powered via a power adapter or a PSE device (such as a PoE switch) which complies with Power Source Class 2 (PS2) or Limited Power Source (LPS) of IEC 62368-1.
Option 1: Via PoE Switch (For EAP115 / EAP225 / EAP223 / EAP245 / EAP265 HD)

Connect an Ethernet cable from the PoE switch to the Ethernet port (ETH1 for EAP245 / EAP265 HD).
Option 2: Via PoE Adapter (For EAP110 / EAP225 / EAP223 / EAP245 / EAP265 HD)

- Connect the Ethernet cable from the Ethernet port (ETH1 for EAP245 / EAP265 HD) of the EAP device to the provided PoE adapter’s PoE port.
- Connect an Ethernet cable from your LAN to the PoE adapter’s LAN port.
- Connect the power cord to the adapter’s power socket. Connect the other end of the power cord to a standard electrical wall outlet.
Option 3: Via Power Adapter (For EAP115)

4) Software Configuration
Choose from the following methods to set up your EAPs:
- Method 1: Standalone Mode
To configure and manage EAPs separately (Convenient for a small network with only a few devices) - Method 2: Controller Mode
To configure and manage EAPs in batches on a central platform, namely Omada Controller.
Method 1: Standalone Mode

Note:
- Before you start, be sure to power up and connect your devices according to the topology figure.
- A DHCP server (typically a router with DHCP function enabled) is required to assign IP addresses to the EAPs and clients in your local network.
Via Omada App
- Download the TP-Link Omada App on your mobile device. It can be downloaded from App Store or Google Play:
- Connect your mobile device to the EAP by using the default SSID (format:
TP-Link_2.4GHz/5GHz_XXXXXX) printed on the label at the bottom of the product. - Open the Omada App, and wait for the EAP to appear on the Standalone APs page. Tap on the EAP you want to configure.
Via Web Browser
- Connect wirelessly by using the default SSID (format: TP-Link_2.4GHz/5GHz_XXXXXX) printed on the label at the bottom of the product.
- Launch a web browser and enter http://tplinkeap.net in the address bar. Use admin for both Username and Password to log in.
- Set up a new Username and Password for secure management purpose. Modify the wireless parameters and reconnect your wireless devices to the new wireless network.
Method 2: Controller Mode
Choose from the following two types of Omada Controller:
- Type 1: Omada Software Controller
On a PC with Windows OS or Linux OS, download the Omada Software Controller from https://www.tplink.com/support/download/omada-software-controller/. Then run the file and follow the wizard to install and launch the Omada Software Controller.
To manage your devices, Omada Software Controller needs to keep running on your computer.
- Type 2: Omada Hardware Controller (OC200/OC300)
Omada Hardware Controller (OC200/OC300) is a good alternative if you have no spare PC to keep running Omada Software Controller in the network. It needs to be purchased additionally.
For more details, refer to the Installation Guide of OC200/OC300
Note:
- Before you start, be sure to power up and connect your devices according to the topology figure.
- A DHCP server (typically a router with DHCP function enabled) is required to assign IP addresses to the EAPs and clients in your local network.
- Omada Controller must have network access to your Omada devices (the router, switch, and EAPs) in order to find, adopt, and manage them.
Via Omada App
1. Download the TP-Link Omada App on your mobile device. It can be downloaded from App Store or Google Play:
2. Launch your Omada App and configure the controller at a local site or remote site.
- Local Management
a. Connect your mobile device to the EAP by using the default SSID (format: TP-Link_2.4GHz/5GHz_XXXXXX) printed on the label at the bottom of the product.
b. Launch Omada App and go to Local Access, tap the + button on the upper-right corner to add the controller. Then you can further configure the controller. - Remote Management
Note: Before you start, make sure that both your controller and mobile device can access the internet.
* For Omada Software Controller
a. Make sure that Cloud Access is enabled on your controller and your controller has been bound with your TP-Link ID.
b. Launch Omada App and log in with your TP-Link ID. Then go to Cloud Access. A list of controllers that have been bound with your TP-Link ID will appear. Then you can further configure the controller.
* For Omada Hardware Controller
a. Make sure that Cloud Access is enabled on your controller. By default, Cloud Access is enabled. Make sure that the Cloud LED is flashing slowly.
b. Launch Omada App and log in with your TP-Link ID. Then go to Cloud Access. Tap the + button on the upper-right to add your controller. Then you can further configure the controller.
Via Web Browser
1. Open the Omada Controller’s web page.
* For Omada Software Controller
Launch the Omada Software Controller on your PC. After the initiation process, the controller automatically opens its web page. If not, click Launch a Browser to Manage the Network.
* For Omada Hardware Controller
As Omada Hardware Controller gets its IP address from the DHCP server of the router, we don’t know its IP address explicitly. However, we can find it out on the router’s DHCP client list.
a. You need first find the IP address of the router. Open the command line on your PC and enter ipconfig. In the result list, find the Default Gateway, which is also the IP address of the router.
b. Launch a web browser and enter the IP address of the router. Log into the router’s web page, and both the username and password are admin by default. Then go to Network > LAN > DHCP Client List to find the IP address of your controller according to its MAC address.
c. Enter the IP address of your controller in the address bar to open its web page.
2. On the Omada Controller’s web page, follow the wizard to complete the quick setup.
3. After the quick setup, the login page appears. Enter the username and password you have created and click Log in. Then you can further configure the controller.
4. (For Remote Management) You can remotely access and manage your controller via Omada Cloud Service.
Note: Before you start, make sure that both your controller and your PC can access the internet.
* For Omada Software Controller
a. Make sure that Cloud Access is enabled on your controller and your controller has been bound with your TP-Link ID. On the Omada Controller’s web page, go to Settings > Cloud Access to enable Cloud Access and bind your TP-Link ID. If you have set it up in the quick setup, skip this step.
b. Launch a web browser and enter https://omada.tplinkcloud.com in the address bar. Enter your TP-Link ID and password to log in. A list of controllers that have been bound with your TP-Link ID will appear. Then you can click Launch to further configure the controller.
* For Omada Hardware Controller
a. Make sure that Cloud Access is enabled on your controller. By default, Cloud Access is enabled. Make sure that the Cloud LED is flashing slowly.
b. Launch a web browser and enter https://omada.tplinkcloud.com in the address bar. Enter your TP-Link ID and password to log in. Click + Add Controller and choose Hardware Controller to add your controller. Then you can further configure the controller.
For the detailed configurations, refer to the User Guide of the controller and EAPs. The guides can be found on the download center of our official website: https://www.tp-link.com/support/download/.
To ask questions, find answers, and communicate with TP-Link users or engineers, please visit https://community.tp-link.com to join TP-Link Community
For technical support, the user guide and other information, please visit https://www.tp-link.com/support, or simply scan the QR code.
![]()
Safety Information
![]()
- Keep the device away from water, fire, humidity or hot environments.
- Do not attempt to disassemble, repair, or modify the device. If you need service, please contact us.
- Do not use the device where wireless devices are not allowed.
- Do not use damaged charger or USB cable to charge the device.
- Do not use any other chargers than those recommended.
- Adapter shall be installed near the equipment and shall be easily accessible.
The products of TP-Link partly contain software code developed by third parties, including software code subject to the GNU General Public License (“GPL”). As applicable, the terms of the GPL and any information on obtaining access to the respective GPL Code used in TP-Link products are available to you in GPL-Code-Centre under (https://www.tp-link.com/en/support/gpl/). The respective programs are distributed WITHOUT ANY WARRANTY and are subject to the copyrights of one or more authors. For details, see the GPL Code and other terms of the GPL.



























