tp-link EAP110 Omada Ceiling Mount Access Point Installation Guide
Setup with videos
Visit https://www.tp-link.com/support/setup-video/ or scan the QR code to search for the setup video of your product model.
Note: The image may differ from the actual product.
Hardware Overview
Front Panel
LED Indicator
- Solid Green: The device is initializing or working properly.
- Flashing Green Slowly: The device is in an isolated state.
- Flashing Yellow: The device is working abnormally.
- Flashing Yellow, Green: The device is updating. Do not disconnect or power off the device.
- Quickly Flashing Yellow, Green: The device is being reset to its factory default settings.
Rear Panel

RESET
With the device powered on, press and hold the button for about 5 seconds until the LED is quickly flashing yellow then green, then release the button. The device will restore to factory default settings.
ETH1 (PoE)
The port is used to connect to the PoE port of the provided PoE adapter or a PSE (Power Sourcing Equipment), such as a PoE switch, for both data transmission and Power over Ethernet (PoE) through Ethernet cable.
Hardware Installation
The EAP can be ceiling-mounted or wall-mounted. Choose a mounting method according to your needs. Follow the steps below for the appropriate installation.

Option1: Ceiling Mounting
Note: Make sure that the ceiling tile is bigger than the EAP.
Washers (Qty.3)
M3×30 Pan-head Screws (Qty.3)
Wing Nuts (Qty.3)
- Remove the ceiling tile.

- Place the mounting bracket in the center of the ceiling tile.
Mark three positions for the screw holes and a position for the Ethernet cable hole.
Drill three 4 mm diameter holes for the screws and a 25 mm diameter hole for the Ethernet cable at the marked positions.
- Secure the mounting bracket to the ceiling tile using three
M3x30 pan-head screws, washers and wing nuts, as shown on the left.
- Feed the Ethernet cable through the hole and set the ceiling tile back into place.

- Connect the Ethernet cable to the ETHERNET port. Attach the EAP to the mounting bracket by aligning the arrow mark on the EAP with the arrow mark on the mounting bracket, then rotate the EAP until it locks into place, as shown on the left.

Option2: Wall Mounting
Note: For security reasons, it is not recommended to install the EAP with the louver downward.
M3×28 Plastic Wall Anchors (Qty.3)
M3×20 Self-tapping Screws (Qty.3)
- If your Ethernet cable feeds through the wall, you can position the mounting bracket to make the cable through the fixing hole. Mark three positions for the screw holes and then drill three 6 mm diameter holes at the marked positions.

- Insert the plastic wall anchors into the 6 mm diameter holes

- Secure the mounting bracket to the wall by driving the self-tapping screws into the anchors. Make sure that the shoulders of the mounting bracket are on the outside.

- Connect the Ethernet cable to the Ethernet port on the EAP.

- Attach the EAP to the mounting bracket by aligning the arrow mark on the EAP with the arrow mark on the mounting bracket, then rotate the EAP until it locks into place, as shown on the left.

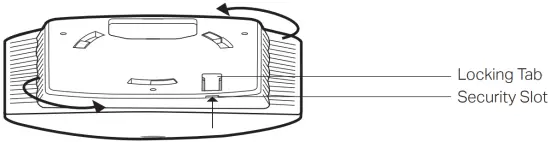
Tip
To remove the EAP from the mounting bracket, insert a paper clip in the Security Slot to release the Locking Tab and rotate the EAP until it is detached from the mounting bracket, as shown below.
Power Supply
The EAP can be powered via a power adapter or a PSE device (such as a PoE switch) which complies with LPS or PS2 standard.
Option1: Via PoE Switch
Connect an Ethernet cable from the PoE switch to the Ethernet port.
Option2: Via PoE Adapter

- Connect the Ethernet cable from the Ethernet port (ETH1 for EAP245 / EAP265 HD) of the EAP device to the provided PoE adapter’s PoE port.
- Connect an Ethernet cable from your LAN to the PoE adapter’s LAN port.
- Connect the power cord to the adapter’s power socket. Connect the other end of the power cord to a standard electrical wall outlet.
Software Configuration
Choose from the following methods to set up your EAPs:
- Method 1: Standalone Mode
To configure and manage EAPs separately (Convenient for a small network with only a few devices) - Method 2: Controller Mode
To configure and manage EAPs in batches on a central platform, namely Omada Controller.
Method 1: Standalone Mode
Note:
Before you start, be sure to power up and connect your devices according to the topology figure.
A DHCP server (typically a router with DHCP function enabled) is required to assign IP addresses to the EAPs and clients in your local network.
Via Omada App
- Download the TP-Link Omada App on your mobile device. It can be downloaded from App Store or Google Play:




- Connect your mobile device to the EAP by using the default SSID (format:
TP-Link_2.4GHz/5GHz_XXXXXX) printed on the label at the bottom of the product. - Open the Omada App, and wait for the EAP to appear on the Standalone APs page. Tap on the EAP you want to configure.
Via Web Browser
- Connect wirelessly by using the default SSID (format: TP-Link_2.4GHz/5GHz_XXXXXX) printed on the label at the bottom of the product.
- Launch a web browser and enter http://tplinkeap.netin the address bar. Use admin for both Username and Password to log in.
- Set up a new Username and Password for secure management purpose. Modify the wireless parameters and reconnect your wireless devices to the new wireless network.
Method 2: Controller Mode
Choose from the following two types of Omada Controller:
- Type 1: Omada Software Controller
On a PC with Windows OS or Linux OS, download the Omada Software Controller from https://www.tp-link.com/support/download/omada-software-controller/. Then run the file and follow the wizard to install and launch the Omada Software Controller.
To manage your devices, Omada Software Controller needs to keep running on your computer.
- Type 2: Omada Hardware Controller (OC200/OC300)
Omada Hardware Controller (OC200/OC300) is a good alternative if you have no spare PC to keep running Omada Software Controller in the network. It needs to be purchased additionally.
For more details, refer to the Installation Guide of OC200/OC300.
Note:
Before you start, be sure to power up and connect your devices according to the topology figure.
A DHCP server (typically a router with DHCP function enabled) is required to assign IP addresses to the EAPs and clients in your local network.
Omada Controller must have network access to your Omada devices (the router, switch, and EAPs) in order to find, adopt, and manage them.
Via Omada App
- Download the TP-Link Omada App on your mobile device. It can be downloaded from App Store or Google Play




- Launch your Omada App and configure the controller at a local site or remote site.
- Local Management
a. Connect your mobile device to the EAP by using the default SSID (format: TP-Link_2.4GHz/5GHz_XXXXXX) printed on the label at the bottom of the product
b. Launch Omada App and go to Local Access, tap the + button on the upper-right corner to add the controller. Then you can further configure the controller.
- Local Management
Remote Management
Note: Before you start, make sure that both your controller and mobile device can access the internet.
- For Omada Software Controller
a. Make sure that Cloud Access is enabled on your controller and your controller has been bound with your TP-Link ID.
b. Launch Omada App and log in with your TP-Link ID. Then go to Cloud Access. A list of controllers that have been bound with your TP-Link ID will appear. Then you can further configure the controller.
- For Omada Hardware Controller
a. Make sure that Cloud Access is enabled on your controller. By default, Cloud Access is enabled. Make sure that the Cloud LED is flashing slowly.
b. Launch Omada App and log in with your TP-Link ID. Then go to Cloud Access. Tap the + button on the upper-right to add your controller. Then you can further configure the controller.
Via Web Browser
- Open the Omada Controller’s web page
- For Omada Software Controller
Launch the Omada Software Controller on your PC. After the initiation process, the controller automatically opens its web page. If not, click Launch a Browser to Manage the Network. - For Omada Hardware Controller
As Omada Hardware Controller gets its IP address from the DHCP server of the router, we don’t know its IP address explicitly. However, we can find it out on the router’s DHCP client list.
a. You need first find the IP address of the router. Open the command line on your PC and enter ipconfig. In the result list, find the Default Gateway, which is also the IP address of the router.
b. Launch a web browser and enter the IP address of the router. Log into the router’s web page, and both the username and password are admin by default. Then go to Network > LAN > DHCP Client List to find the IP address of your controller according to its MAC address.
c. Enter the IP address of your controller in the address bar to open its web page.
- For Omada Software Controller
- On the Omada Controller’s web page, follow the wizard to complete the quick setup
- After the quick setup, the login page appears. Enter the username and password you have created and click Log in. Then you can further configure the controller.
- For Remote Management) You can remotely access and manage your controller via Omada Cloud Service.
Note: Before you start, make sure that both your controller and your PC can access the internet.- For Omada Software Controller
a. Make sure that Cloud Access is enabled on your controller and your controller has been bound with your TP-Link ID. On the Omada Controller’s web page, go to Settings > Cloud Access to enable Cloud Access and bind your TP-Link ID. If you have set it up in the quick setup, skip this step.
b. Launch a web browser and enter https://omada.tplinkcloud.com in the address bar. Enter your TP-Link ID and password to log in. A list of controllers that have been bound with your TP-Link ID will appear. Then you can click Launch to further configure the controller. - For Omada Hardware Controller
a. Make sure that Cloud Access is enabled on your controller. By default, Cloud Access is enabled. Make sure that the Cloud LED is flashing slowly.
b. Launch a web browser and enter https://omada.tplinkcloud.com in the address bar. Enter your TP-Link ID and password to log in. Click + Add Controller and choose Hardware Controller to add your controller. Then you can further configure the controller.
- For Omada Software Controller
For the detailed configurations, refer to the User Guide of the controller and EAPs. The guides can be found on the download center of our official website: https://www.tplink.com/support/download/.
To ask questions, find answers, and communicate with TP-Link users or engineers, please visit https://community.tp-link.com to join TP-Link Community
For technical support, the user guide and other information,
please visit https://www.tp-link.com/support, or simply scan the QR code.
If you have any suggestions or needs on the product guides, welcome to email [email protected].
Safety Information
- Keep the device away from water, fire, humidity or hot environments.
- Do not attempt to disassemble, repair, or modify the device. If you need service, please contact us.
- Do not use the device where wireless devices are not allowed.
- Do not use damaged charger or USB cable to charge the device.
- Do not use any other chargers than those recommended.
- Adapter shall be installed near the equipment and shall be easily accessible.
The products of TP-Link partly contain software code developed by third parties, including software code subject to the GNU General Public License (“GPL”). As applicable, the terms of the GPL and any information on obtaining access to the respective GPL Code used in TP-Link products are available to you in GPL-Code-Centre under (https://www.tp-link.com/en/support/gpl/). The respective programs are distributed WITHOUT ANY WARRANTY and are subject to the copyrights of one or more authors. For details, see the GPL Code and other terms of the GPL.
Regulatory Compliance
For Class A Ceiling Mount EAP with adapter
FCC Compliance Information Statement

Product Name: Omada Ceiling Mount Access Point
Model Number: EAP110 / EAP660 HD
| Component Name | Model |
| I.T.E. Power Supply | TL-POE2406 (For EAP110) T120200-2B1 (For EAP660 HD) |
Responsible party:
TP-Link USA Corporation, d/b/a TP-Link North America, Inc.
Address: 145 South State College Blvd. Suite 400, Brea, CA 92821
Website: https://www.tp-link.com/us/
Tel: +1 626 333 0234
Fax: +1 909 527 6803
E-mail: [email protected]
This equipment has been tested and found to comply with the limits for a Class A digital device,
pursuant to part 15 of the FCC Rules. These limits are designed to provide reasonable protection
against harmful interference when the equipment is operated in a commercial environment.
This equipment generates, uses, and can radiate radio frequency energy and, if not installed and used in accordance with the instruction manual, may cause harmful interference to radio communications. Operation of this equipment in a residential area is likely to cause harmful interference in which case the user will be required to correct the interference at his own expense.
This device complies with part 15 of the FCC Rules. Operation is subject to the following two conditions:
- This device may not cause harmful interference.
- This device must accept any interference received, including interference that may cause undesired operation.
Any changes or modifications not expressly approved by the party responsible for compliance could void the user’s authority to operate the equipment.
Note: The manufacturer is not responsible for any radio or TV interference caused by unauthorized modifications to this equipment. Such modifications could void the user’s authority to operate the equipment.
FCC RF Radiation Exposure Statement:
This equipment complies with FCC RF radiation exposure limits set forth for an uncontrolled environment. This device and its antenna must not be co-located or operating in conjunction with any other antenna or transmitter.
“To comply with FCC RF exposure compliance requirements, this grant is applicable to only Mobile Configurations. The antennas used for this transmitter must be installed to provide a separation distance of at least 20cm from all persons and must not be colocated or operating in conjunction with any other antenna or transmitter.”
Product Name: I.T.E. Power Supply
Model Number: TL-POE2406 / T120200-2B1
Responsible party:
TP-Link USA Corporation, d/b/a TP-Link North America, Inc.
Address: 145 South State College Blvd. Suite 400, Brea, CA 92821
Website: https://www.tp-link.com/us/
Tel: +1 626 333 0234
Fax: +1 909 527 6803
E-mail: [email protected]
This equipment has been tested and found to comply with the limits for a Class B digital device, pursuant to part 15 of the FCC Rules. These limits are designed to provide reasonable protection against harmful interference in a residential installation. This equipment generates, uses and can radiate radio frequency energy and, if not installed and used in accordance with the instructions, may cause harmful interference to radio communications. However, there is no guarantee that interference will not occur in a particular installation. If this equipment does cause harmful interference to radio or television reception, which can be determined by turning the equipment off and on, the user is encouraged to try to correct the interference by one or more of the following measures:
- Reorient or relocate the receiving antenna.
- Increase the separation between the equipment and receiver.
- Connect the equipment into an outlet on a circuit different from that to which the receiver is connected.
- Consult the dealer or an experienced radio/ TV technician for help.
This device complies with part 15 of the FCC Rules. Operation is subject to the following two conditions:
- This device may not cause harmful interference.
- This device must accept any interference received, including interference that may cause undesired operation.
Any changes or modifications not expressly approved by the party responsible for compliance could void the user’s authority to operate the equipment.
We, TP-Link USA Corporation, has determined that the equipment shown as above has been shown to comply with the applicable technical standards, FCC part 15. There is no unauthorized change is made in the equipment and the equipment is properly maintained and operated.
Issue Date:2020-5-12
CE Mark Warning
This is a class A product. In a domestic environment, this product may cause radio interference, in which case the user may be required to take adequate measures.
OPERATING FREQUENCY (the maximum transmitted power) 2412MHz—2472MHz(20dBm)
EU declaration of conformity
TP-Link hereby declares that the device is in compliance with the essential requirements and other relevant provisions of directives 2014/53/EU, 2009/125/EC, 2011/65/EU and (EU)2015/863.
The original EU declaration of conformity may be found at https://www.tplink.com/en/ce.
Canadian Compliance Statement
This device contains licence-exempt transmitter(s)/receiver(s) that comply with Innovation, Science and Economic Development Canada’s licence-exempt RSS(s). Operation is subject to the following two conditions:
- This device may not cause interference.
- This device must accept any interference, including interference that may cause undesired operation of the device.
Radiation Exposure Statement:
This equipment complies with IC radiation exposure limits set forth for an uncontrolled environment. This equipment should be installed and operated with minimum distance 20cm between the radiator & your body.
Industry Canada Statement
CAN ICES-3 (A)/NMB-3(A)
Safety Information
- Keep the device away from water, fire, humidity or hot environments.
- Do not attempt to disassemble, repair, or modify the device. If you need service, please contact us.
- Do not use damaged charger or USB cable to charge the device.
- Do not use any other chargers than those recommended.
- Do not use the device where wireless devices are not allowed
- Adapter shall be installed near the equipment and shall be easily accessible.
- Use only power supplies which are provided by manufacturer and in the original packing of this product. If you have any questions, please don’t hesitate to contact us.
Please read and follow the above safety information when operating the device. We cannot guarantee that no accidents or damage will occur due to improper use of the device. Please use this product with care and operate at your own risk.
Explanation of the symbols on the product label
Note: The product label can be found at the bottom of the product and its I.T.E. power supply.
Symbol: Explanation
: Class II equipment
: AC voltage
: DC voltage
: Indoor use only.
: Polarity of output terminals
: Energy efficiency marking (Level VI)
: Caution
: Operator’s manual
: RECYCLING
This product bears the selective sorting symbol for Waste electrical and electronic equipment (WEEE). This means that this product must be handled pursuant to European directive 2012/19/EU in order to be recycled or dismantled to minimize its impact on the environment.
User has the choice to give his product to a competent recycling organization or to the retailer when he buys a new electrical or electronic equipment.
For Class B Ceiling Mount EAP with adapter:
FCC Compliance Information Statement

Product Name: Omada Ceiling Mount Access Point
Model Number: EAP115 / EAP225 / EAP245 / EAP265 HD / EAP610 / EAP620 HD / EAP660 HD
| Component Name | Model |
|
I.T.E. Power Supply | T090060-2B1 (For EAP115) TL-POE2412G (For EAP225) T120150-2B1 (For EAP245) T480050-2-POE (For EAP265 HD) T120100-2B1 (For EAP610 / EAP620 HD / EAP660 HD) |
Responsible party:
TP-Link USA Corporation, d/b/a TP-Link North America, Inc.
Address: 145 South State College Blvd. Suite 400, Brea, CA 92821
Website: https://www.tp-link.com/us/
Tel: +1 626 333 0234
Fax: +1 909 527 6803
E-mail: [email protected]
This equipment has been tested and found to comply with the limits for a Class B digital device, pursuant to part 15 of the FCC Rules. These limits are designed to provide reasonable protection against harmful interference in a residential installation. This equipment generates, uses and can radiate radio frequency energy and, if not installed and used in accordance with the instructions, may cause harmful interference to radio communications. However, there is no guarantee that interference will not occur in a particular installation. If this equipment does cause harmful interference to radio or television reception, which can be determined by turning the equipment off and on, the user is encouraged to try to correct the interference by one or more of the following measures:
- Reorient or relocate the receiving antenna.
- Increase the separation between the equipment and receiver.
- Connect the equipment into an outlet on a circuit different from that to which the receiver is connected.
- Consult the dealer or an experienced radio/ TV technician for help
This device complies with part 15 of the FCC Rules. Operation is subject to the following two conditions:
- This device may not cause harmful interference.
- This device must accept any interference received, including interference that may cause undesired operation.
Any changes or modifications not expressly approved by the party responsible for compliance could void the user’s authority to operate the equipment.
Note: The manufacturer is not responsible for any radio or TV interference caused by unauthorized modifications to this equipment. Such modifications could void the user’s authority to operate the equipment.
FCC RF Radiation Exposure Statement:
This equipment complies with FCC RF radiation exposure limits set forth for an uncontrolled environment. This device and its antenna must not be co-located or operating in conjunction with any other antenna or transmitter. “To comply with FCC RF exposure compliance requirements, this grant is applicable to only Mobile Configurations. The antennas used for this transmitter must be installed to provide a separation distance of at least 20cm from all persons and must not be colocated or operating in conjunction with any other antenna or transmitter.”
Product Name: I.T.E. Power Supply
Model Number: T090060-2B1 / TL-POE2412G / T120150-2B1 / T480050-2-POE / T120100-2B1
Responsible party:
TP-Link USA Corporation, d/b/a TP-Link North America, Inc.
Address: 145 South State College Blvd. Suite 400, Brea, CA 92821
Website: https://www.tp-link.com/us/
Tel: +1 626 333 0234
Fax: +1 909 527 6803
E-mail: [email protected]
This equipment has been tested and found to comply with the limits for a Class B digital device, pursuant to part 15 of the FCC Rules. These limits are designed to provide reasonable protection against harmful interference in a residential installation. This equipment generates, uses and can radiate radio frequency energy and, if not installed and used in accordance with the instructions, may cause harmful interference to radio communications. However, there is no guarantee that interference will not occur in a particular installation. If this equipment does cause harmful interference to radio or television reception, which can be determined by turning the equipment off and on, the user is encouraged to try to correct the interference by one or more of the following measures:
- Reorient or relocate the receiving antenna.
- Increase the separation between the equipment and receiver.
- Connect the equipment into an outlet on a circuit different from that to which the receiver is connected.
- Consult the dealer or an experienced radio/ TV technician for help.
This device complies with part 15 of the FCC Rules. Operation is subject to the following two conditions:
- This device may not cause harmful interference.
- This device must accept any interference received, including interference that may cause undesired operation.
Any changes or modifications not expressly approved by the party responsible for compliance could void the user’s authority to operate the equipment.
We, TP-Link USA Corporation, has determined that the equipment shown as above has been shown to comply with the applicable technical standards, FCC part 15. There is no unauthorized change is made in the equipment and the equipment is properly maintained and operated.
Issue Date:2020-5-12
CE Mark Warning
This is a class B product. In a domestic environment, this product may cause radio interference, in which case the user may be required to take adequate measures.
OPERATING FREQUENCY (the maximum transmitted power) For EAP115:
2412MHz—2472MHz(20dBm)
For EAP225 / EAP245 / EAP265 HD:
2412MHz—2472MHz(20dBm)
5180MHz—5240MHz(23dBm)
For EAP610 /EAP620 HD / EAP660 HD:
2412MHz—2472MHz(20dBm)
5180MHz—5240MHz(23dBm)
5260MHz—5320MHz(23dBm)
5500MHz—5700MHz(30dBm)
EU declaration of conformity
TP-Link hereby declares that the device is in compliance with the essential requirements and other relevant provisions of directives 2014/53/EU, 2009/125/EC, 2011/65/EU and (EU)2015/863.
The original EU declaration of conformity may be found at https://www.tplink.com/en/ce.
RF Exposure Information
This device meets the EU requirements (2014/53/EU Article 3.1a) on the limitation of exposure of the general public to electromagnetic fields by way of health protection.
The device complies with RF specifications when the device used at 20cm from your body.
National Restrictions
For EAP225 / EAP245 / EAP265 HD / EAP610 / EAP620 HD / EAP660 HD:
Attention: In EU member states and EFTA countries, the operation in the frequency range 5150MHz – 5350MHz is only permitted indoors.
Canadian Compliance Statement
This device contains licence-exempt transmitter(s)/receiver(s) that comply with Innovation, Science and Economic Development Canada’s licence-exempt RSS(s). Operation is subject to the following two conditions:
- This device may not cause interference.
- This device must accept any interference, including interference that may cause undesired operation of the device.
- Caution
The device for operation in the band 5150–5250 MHz is only for indoor use to reduce the potential for harmful interference to co-channel mobile satellite systems; 5150 MHz to 5350 MHz is restricted to indoor operations in Hong Kong - For devices with detachable antenna(s), the maximum antenna gain permitted for devices in the bands 5250-5350 MHz and 5470-5725 MHz shall be such that the equipment still complies with the e.i.r.p. limit; DFS (Dynamic Frequency Selection) products that operate in the bands 5250- 5350 MHz, 5470- 5600MHz, and 5650-5725MHz.
Radiation Exposure Statement:
This equipment complies with IC radiation exposure limits set forth for an uncontrolled environment. This equipment should be installed and operated with minimum distance 20cm between the radiator & your body
Industry Canada Statement
CAN ICES-3 (B)/NMB-3(B)
Safety Information
- Keep the device away from water, fire, humidity or hot environments.
- Do not attempt to disassemble, repair, or modify the device. If you need service, please contact us.
- Do not use damaged charger or USB cable to charge the device.
- Do not use any other chargers than those recommended.
- Do not use the device where wireless devices are not allowed
- Adapter shall be installed near the equipment and shall be easily accessible.
- Use only power supplies which are provided by manufacturer and in the original packing of this product. If you have any questions, please don’t hesitate to contact us.
Please read and follow the above safety information when operating the device. We cannot guarantee that no accidents or damage will occur due to improper use of the device. Please use this product with care and operate at your own risk.
Explanation of the symbols on the product label
Note: The product label can be found at the bottom of the product and its I.T.E. power supply.
Explanation of the symbols on the product label
Note: The product label can be found at the bottom of the product and its I.T.E. power supply.
Symbol: Explanation
: Class II equipment
: AC voltage
: DC voltage
: Indoor use only.
: Polarity of output terminals
: Energy efficiency marking (Level VI)
: Caution
: Operator’s manual
: RECYCLING
This product bears the selective sorting symbol for Waste electrical and electronic equipment (WEEE). This means that this product must be handled pursuant to European directive 2012/19/EU in order to be recycled or dismantled to minimize its impact on the environment.
User has the choice to give his product to a competent recycling organization or to the retailer when he buys a new electrical or electronic equipment.
Mounting Requirements
For safety, we recommend you to use the original screws in the package when mounting. The following are alternatives to mount the device on the wall:
- (For EAP115) Use 3 screws which comply with ANSI B1.1 4# or 6# standard and are longer than 7.5 mm.
- (For EAP225 / EAP245 / EAP265 HD) Use 3 screws which comply with ANSI B1.1 4# standard and are longer than 7 mm.
- (For EAP610 / EAP620 HD / EAP660 HD) Use 4 screws which comply with ANSI B1.1 4# standard and are longer than 15 mm.
References
Link: Simple, secure one-click payments
域名售卖
TP-Link Community
Omada Cloud
CE Regulatory Compliance | TP-Link
GPL Code Center | TP-Link
TP-Link Product Support - Wireless Networking Equipment Support
Download Center | TP-Link
Download for Omada Software Controller | TP-Link
Support Videos | TP-Link
WiFi Networking Equipment for Home & Business | TP-Link





































