TP-Link Omada Wireless Access Point Quick Installation Guide

Setup with videos
Visit https://www.tp-link.com/support/setup-video/ or scan the QR code to search for the setup video of your product model.
Note: The image may differ from the actual product.
1 Hardware Overview

LED Indicator
- Solid Green: The device is initializing or working properly.
- Solid Yellow: The device is in an isolated state.
- Flashing Yellow: The device is working abnormally.
- Flashing Yellow, Green: The device is updating. Do not disconnect or power off the device.
- Quickly Flashing Yellow, Green: The device is being reset to its factory default settings.

RESET
With the device powered on, press and hold the button for about 5 seconds until the LED is quickly flashing yellow then green, then release the button. The device will restore to factory default settings.
ETH1 (PoE) (For EAP225 / EAP245 / EAP265 HD )
The port is used to connect to the PoE port of the provided PoE adapter or a PSE (Power Sourcing Equipment), such as a PoE switch, for both data transmission and Power over Ethernet (PoE) through Ethernet cable.
ETH2 (For EAP245 / EAP265 HD)
The port is a Gigabit Ethernet port used for bridging.
ETHERNET (For EAP110 / EAP115)
The port is used to connect to a router or a switch to transmit data, or to a PSE (Power Sourcing Equipment), such as a PoE switch, for both data transmission and Power over Ethernet (PoE) through Ethernet cable.
POWER (For EAP115)
Plug one end of the provided power adapter to this port and the other end to a standard electrical wall outlet to power the EAP.
2 Hardware Installation
The EAP can be ceiling-mounted or wall-mounted. Choose a mounting method according to your needs. Follow the steps below for the appropriate installation.

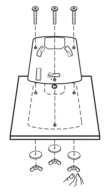
Option 1: Ceiling Mounting
Note: Make sure that the ceiling tile is bigger than the EAP.

- Remove the ceiling tile.

- Place the mounting bracket in the center of the ceiling tile. Mark three positions for the screw holes and a position for the Ethernet cable hole.
Drill three 4 mm diameter holes for the screws and a 25 mm diameter hole for the Ethernet cable at the marked positions.
- Secure the mounting bracket to the ceiling tile using three M3x30 pan-head screws, washers and wing nuts, as shown on the left.

- Feed the Ethernet cable through the hole and set the ceiling tile back into place.

- Connect the Ethernet cable to the ETHERNET port. Attach the EAP to the mounting bracket by aligning the arrow mark
on the EAP with the arrow mark on the mounting bracket, then rotate the EAP until it locks into place, as shown on the left.
Option 2: Wall Mounting
Note: For security reasons, it is not recommended to install the EAP with the louver downward.

- f your Ethernet cable feeds through the wall, you can position the mounting bracket to make the cable through the fixing hole. Mark three positions for the screw holes and then drill three 6 mm diameter holes at the marked positions.

- Insert the plastic wall anchors into the 6 mm diameter holes.

- Secure the mounting bracket to the wall by driving the self-tapping screws into the anchors. Make sure that the shoulders of the mounting bracket are on the outside.

- Connect the Ethernet cable to the Ethernet port on the EAP.

- Attach the EAP to the mounting bracket by aligning the arrow mark
on the EAP with the arrow mark
on the mounting bracket, then rotate the EAP until it locks into place, as shown on the left.
Tip:
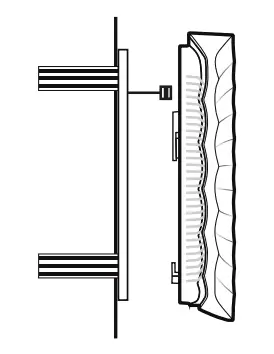
To remove the EAP from the mounting bracket, insert a paper clip in the Security Slot to release the Locking Tab and rotate the EAP until it is detached from the mounting bracket, as shown below.

3 Power Supply
The EAP can be powered via a power adapter or a PSE device (such as a PoE switch) .
Option 1: Via PoE Switch (For EAP115 / EAP225 / EAP245 / EAP265 HD)

Connect an Ethernet cable from the PoE switch to the Ethernet port (ETH1 for EAP245 / EAP265 HD)
Option 2: Via PoE Adapter (For EAP110 / EAP225 / EAP245 / EAP265 HD)

- Connect the Ethernet cable from the Ethernet port (ETH1 for EAP245 / EAP265 HD) of the EAP device to the provided PoE adapter’s PoE port.
- Connect an Ethernet cable from your LAN to the PoE adapter’s LAN port.
- Connect the power cord to the adapter’s power socket. Connect the other end of the power cord to a standard electrical wall outlet.
Option 3: Via Power Adapter (For EAP115)

Plug one end of the provided power adapter into the POWER port of the EAP and the other end to a standard electrical wall outlet.
4 Software Configuration
A DHCP server (typically a router with DHCP function enabled) is required to assign IP addresses to the EAPs and clients in your local network.
The EAP supports two configuring options:
- To configure and manage EAPs singly (usually suitable for a small network with a few EAPs), Standalone Mode is recommended. Please refer to Option 1.
- To configure and manage EAPs in batch, Controller Mode is recommended. Please refer to Option 2.
Option 1: Standalone Mode

Via Omada App
- Download TP-Link Omada App on your mobile device. It can be downloaded from App Store or Google Play:

- Connect your mobile device to the EAP by using the default SSID (format: TP-Link_2.4GHz/5GHz_XXXXXX) printed on the label at the bottom of the product.
- Open Omada App, and wait for the EAP to appear on the Standalone APs page. Tap on the EAP you want to configure.
Omada App is designed to help you quickly configure the common settings. If you want to configure advanced settings, log in to the web page of your EAP or the controller.
Via a Web Browser
- Connect wirelessly by using the default SSID (format: TP-Link_2.4GHz/5GHz_XXXXXX) printed on the label at the bottom of the product.
- Launch a web browser and enter http://tplinkeap.net in the address bar. Use admin for both Username and Password to log in.
- Set up a new Username and Password for secure management purpose. Modify the wireless parameters and reconnect your wireless devices to the new wireless network.
To configure other EAPs, connect your device to the EAP by the corresponding default SSID and repeat the steps listed above. You can configure some basic functions in Standalone Mode. If you want to configure advanced functions, use Controller Mode.
Option 2: Controller Mode
Controller Mode is applicable to configuration for mass EAPs. All EAPs can be centrally configured and monitored via Omada Software Controller, Omada Hardware Controller (OC200/OC300) or Omada Cloud-Based Controller.

Via Omada Software Controller
- . On the PC with Windows OS or Linux OS, download the Omada Software Controller installation file from https://www.tp-link.com/support/download/omada-software-controller/.
- Run the file and follow the wizard to install the Omada Software Controller.
- Launch the Omada Software Controller and follow the step-by-step instructions to complete the Quick Setup.
- After the wizard is finished, a login screen will appear. Enter the username and password you created and click Log in. Then you can further configure the controller.
* Omada Cloud Service
After installing Omada Software Controller, you can remotely access and configure the controller through Omada Cloud Service. Follow the steps below.
- Enable Cloud Access on the setting page on the controller and bind a TP-Link ID to your controller. If you have configured this in the setup wizard, skip the step.
- Launch a web browser and enter https://omada.tplinkcloud.com in the address bar.
- Enter your TP-Link ID and password to log in. A list of controllers that have been bound with your TP-Link ID will appear. Then you can click Launch to further configure the controller.
* Omada App
With Omada App, you can also manage your Omada Software Controller at a local site and remote site. Note that Omada Software Controller needs to be kept running when using Omada App.
- Download TP-Link Omada App on your mobile device. It can be downloaded from App Store or Google Play:

- Launch your Omada App and configure the controller at local a site or remote site.
- Local Management
a. Connect your mobile device to the EAP by using the default SSID (format: TP-Link_2.4GHz/5GHz_XXXXXX) printed on the label at the bottom of the product.
b. Launch Omada App and go to Local Access, tap the + button on the upper-right corner to add the controller. Then you can further configure the controller. - Remote Management
a. Make sure Cloud Access is enabled on your controller and your controller has been bound with your TP-Link ID.
b. Launch Omada App and log in with your TP-Link ID. Then go to Cloud Access. A list of controllers that have been bound with your TP-Link ID will appear. Then you can further configure the controller.
- Local Management
Via Omada Hardware Controller (OC200/OC300)
Omada Hardware Controller (OC200/OC300), which is pre-installed with Omada Software Controller, is a good alternative if you have no spare PC to keep running Omada Software Controller in the network. It needs to be purchased additionally. For more details, refer to the Installation Guide of OC200/OC300.

Via Omada Cloud-Based Controller
- Launch a web browser and enter https://omada.tplinkcloud.com in the address bar. Then enter your TP-Link ID and password to log in.
- Click Add Controller and subscribe to Omada Cloud-Based Controller. Follow the instructions to choose a plan and complete the payment. Then wait until your controller is deployed.
- The controller will appear in the list once bound with your TP-Link ID. Click Launch and follow the step-by-step instructions to complete the Quick Setup. After the wizard is finished, log in via the created username and password.
- Click Devices on the side bar and then click Add Devices. Then you can add devices to the controller manually through the serial numbers at the bottom of the product.
* Omada App
With Omada App, you can also manage your Omada Cloud-Based Controller.
- Download TP-Link Omada App on your mobile device. It can be downloaded from App Store or Google Play:

- Launch Omada App and log in with your TP-Link ID. Then go to Cloud Access. A list of controllers that have been bound with your TP-Link ID will appear. Then you can further configure the controller.
For detailed configurations, please visit https://www.tp-link.com/support/download/ to download the User Guides of EAP and controller in the download center.
To ask questions, find answers, and communicate with TP-Link users or engineers, please visit https://community.tp-link.com to join TP-Link Community.

For technical support, the user guide and other information, please visit https://www.tp-link.com/support, or simply scan the QR code.
If you have any suggestions or needs on the product guides, welcome to email [email protected].
Safety Information
- Keep the device away from water, fire, humidity or hot environments.
- Do not attempt to disassemble, repair, or modify the device. If you need service, please contact us.
- Do not use the device where wireless devices are not allowed.
- Do not use damaged charger or USB cable to charge the device.
- Do not use any other chargers than those recommended.
- Adapter shall be installed near the equipment and shall be easily accessible.
The products of TP-Link partly contain software code developed by third parties, including software code subject to the GNU General Public License (“GPL”). As applicable, the terms of the GPL and any information on obtaining access to the respective GPL Code used in TP-Link products are available to you in GPL-Code-Centre under (https://www.tp-link.com/en/support/gpl/). The respective programs are distributed WITHOUT ANY WARRANTY and are subject to the copyrights of one or more authors. For details, see the GPL Code and other terms of the GPL.
©2020 TP-Link 7106508840 REV4.0.0






























