tp-link omada Pro Wireless Access Point

Setup with videos
Visit https://www.tp-link.com/support/setup-video/ or scan the QR code to search for the setup video of your product model.
Note: AP9650 is used as an example throughout the Guide. Images may differ from your actual product

Hardware Overview
Front Panel

LED Indicator
- On: Working normally/Initializing.
- Off: Working abnormally/Power off/LED is turned off.
- Flash:
- Flash twice: Initialization is completed.
- Flash once per second: The AP is upgrading.
- Flash quickly: The AP is resetting or the Omada controller is locating the AP.
- Flash slowly: The AP is in the isolated state.
When the Locate feature is activated in the Omada controller, the LED flashes quickly to locate and identify the device. The LED will flash for 10 minutes, or you can disable the feature manually to stop it flashing.
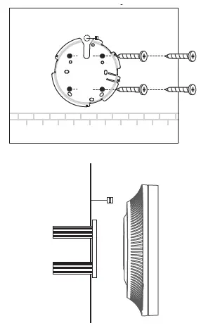
Rear Panel

RESET
With the device powered on, press and hold the button for about 5 seconds until the LED flashes quickly. Then release the button. The device will restore to factory default settings.
Ethernet Port (PoE)
The port is used to connect to a router or a switch to transmit data, or to a PSE (Power Sourcing Equipment), such as a PoE switch, for both data transmission and Power over Ethernet (PoE) through Ethernet cable.
Power Port
Plug one end o f the power adapter to this port and the other end to a standard electrical wall outlet to power the AP.
Note: Power adapter is not provided. For power supply specifications, please refer to the label at the bottom of the product.
Hardware Installation
The AP can be mounted to the ceiling, the wall, or in a junction box, using the screws in the package. Choose the appropriate mounting and installation steps below.
Note: This product requires heat dissipation through the metal bracket during use, please be careful not to touch the metal bracket in the heat dissipation.

Ceiling Mounting
Note: Make sure that the ceiling tile is larger than the AP.
- Remove the ceiling tile.
- Place the mounting bracket in the center of the ceiling tile. Mark four positions for the screw holes and a location for the Ethernet cable hole. Drill four 4 mm (5/32 in) diameter holes for the screws and a 25 mm (63/64 in) diameter hole for the Ethernet cable at the marked positions.

- Secure the mounting bracket to the ceiling tile using four M3x30 pan-head screws, washers, and wing nuts, as shown on the left.
- Feed the Ethernet cable through the hole and set the ceiling tile back into place.

- Connect the Ethernet cable to the Ethernet port. Please pay attention to the triangle sign. Attach the AP to the mounting bracket, then rotate it until it locks into place, as shown on the left.

Option 2: Wall Mounting

- If your Ethernet cable feeds through the wall, position the mounting bracket below the cable hole. Mark four positions for the screw holes and drill four 6 mm (15/64 in) diameter holes at the marked positions.
- Insert the plastic wall anchors into the 6 mm diameter holes.

- Secure the mounting bracket to the wall by driving the self-tapping screws into the anchors. Make sure that the shoulders of the mounting bracket are on the outside.
- Connect the Ethernet cable to the Ethernet port on the AP.

- Attach the AP to the mounting bracket by rotating it until it locks into place, as shown on the left.

Junction Box Mounting
Prepare the cables and the junction box in advance. Ensure that the mounting holes align to your junction box.
Compatible wall junctions:
Route the cables through the square cable hole on the mounting bracket, and secure the mounting bracket to the junction box using screws. Then follow Step 4 and Step 5 of Option 2 to complete the installation.

Power Supply
The AP can be powered via a power adapter or a PSE device (such as a PoE switch) which complies with Power Source Class 2 (PS2) or Limited Power Source (LPS) of IEC 62368-1.
Option 1: Via PoE Switch (Compliant with 802.3at)

Connect an Ethernet cable from the PoE switch (compliant with 802.3at ) to the Ethernet port.
Option 2: Via Power Adapter

Plug one end of the power adapter into the power port of the AP and the other end to a standard electrical wall outlet.
Note: Power adapter is not provided. For power supply specifications, please refer to the label at the bottom of the product.
Software Configuration
Choose from the following methods to set up your APs:
- Method 1: Standalone Mode
To configure and manage APs separately (Convenient for a small network with only a few devices) - Method 2: Controller Mode
To configure and manage APs in batches on a central platform, namely Omada Controller.
Method 1: Standalone Mode

Note:
- Before you start, be sure to power up and connect your devices according to the topology figure.
- A DHCP server (typically a router with DHCP function enabled) is required to assign IP addresses to the APs and clients in your local network.
Via Omada App
- Download the TP-Link Omada App on your mobile device. It can be downloaded from App Store or Google Play:

- Connect your mobile device to the AP by using the default SSID (format: TP-Link_2.4GHz/5GHz_XXXXXX) printed on the label at the bottom of the product.
- Open the Omada App, and wait for the AP to appear on the Standalone APs page. Tap on the AP you want to configure.
The Omada App is designed to help you quickly configure the common settings. If you want to configure advanced settings, use the web page of your AP or use Controller Mode.
Via Web Browser
- Connect wirelessly by using the default SSID (format: TP-Link_2.4GHz/5GHz_XXXXXX) printed on the label at the bottom of the product.
- Launch a web browser and enter http://tplinkeap.net in the address bar. Use admin for both Username and Password to log in.
- Set up a new Username and Password for secure management purpose. Modify the wireless parameters and reconnect your wireless devices to the new wireless network.
- To configure other APs, connect your device to the AP by the corresponding default SSID and repeat the steps listed above. You can configure some basic functions in Standalone Mode. If you want to configure advanced functions, use Controller Mode.
Controller Mode
Choose from the following two types of Omada Controller On a PC with Windows OS or Linux OS, go to https://www.tp-link.com/support/download and
search for “controller” to download the Omada Software Controller. Then run the file and follow the wizard to install and launch the Omada Software Controller. To manage your devices, Omada Software Controller needs to keep running on your computer.

Type 2: Omada Hardware Controller (OC200/OC300)
Omada Hardware Controller (OC200/OC300) is a good alternative if you have no spare PC to keep running Omada Software Controller in the network. It needs to be purchased additionally. For more details, refer to the Installation Guide of OC200/OC300.

Note:
- Before you start, be sure to power up and connect your devices according to the topology figure.
- A DHCP server (typically a router with DHCP function enabled) is required to assign IP addresses to the APs and clients in your local network.
- Omada Controller must have network access to your Omada devices (the router, switch, and APs) in order to find, adopt, and manage them.
Via Omada App
- Download the TP-Link Omada App on your mobile device. It can be downloaded from App Store or Google Play:

- Launch your Omada App and configure the controller at a local site or remote site. Local Management
- a. Connect your mobile device to the AP by using the default SSID (format: TP-Link_2.4GHz/5GHz_XXXXXX) printed on the label at the bottom of the product.
- b. Launch Omada App and go to Local Access, tap the + button on the upper-right corner to add the controller. Then you can further configure the controller.
- Remote Management
Note: Before you start, make sure that both your controller and mobile device can access the internet.
For Omada Software Controller
- a. Make sure that Cloud Access is enabled on your controller and your controller has been bound with your TP-Link ID.
- b. Launch Omada App and log in with your TP-Link ID. Then go to Cloud Access. A list of controllers that have been bound with your TP-Link ID will appear. Then you can further configure the controller.
For Omada Hardware Controller
- a. Make sure that Cloud Access is enabled on your controller. By default, Cloud Access is enabled. Make sure that the Cloud LED is flashing slowly.
- b. Launch Omada App and log in with your TP-Link ID. Then go to Cloud Access. Tap the + button on the upper-right to add your controller. Then you can further configure the controller
Via Web Browser
- Open the Omada Controller’s web page. For Omada Software Controller Launch the Omada Software Controller on your PC. After the initiation process, the controller automatically opens its web page. If not, click Launch a Browser to Manage the Network. For Omada Hardware Controller As Omada Hardware Controller gets its IP address from the DHCP server of the router, we don’t know its IP address explicitly. However, we can find it out on the router’s DHCP client list.
- a. You need first find the IP address of the router. Open the command line on your PC and enteripconfig. In the result list, find the Default Gateway, which is also the IP address of the router.
- b. Launch a web browser and enter the IP address of the router. Log into the router’s web page, and both the username and password are admin by default. Then go to Network > LAN > DHCP Client List to find the IP address of your controller according to its MAC address.
- c. Enter the IP address of the your controller in the address bar to open its web page. 2. On the Omada Controller’s web page, follow the wizard to complete the quick setup.
- After the quick setup, the login page appears. Enter the username and password you have created and click Log in. Then you can further configure the controller.
- (For Remote Management) You can remotely access and manage your controller via Omada Cloud Service.
Note: Before you start, make sure that both your controller and your PC can access the internet.
For Omada Software Controller
- Make sure that Cloud Access is enabled on your controller and your controller has been bound with your TP-Link ID. On the Omada Controller’s web page, go to Settings > Cloud Access to enable Cloud Access and bind your TP-Link ID. If you have set it up in the quick setup, skip this step.
- Launch a web browser and enter https://omada.tplinkcloud.com in the address bar. Enter your TP-Link ID and password to log in. A list of controllers that have been bound with your TP-Link ID will appear. Then you can click Launch to further configure the controller.
For Omada Hardware Controller
- a. Make sure that Cloud Access is enabled on your controller. By default, Cloud Access is enabled. Make sure that the Cloud LED is flashing slowly.
- b. Launch a web browser and enter https://omada.tplinkcloud.com in the address bar. Enter your TP-Link ID and password to log in. Click + Add Controller and choose Hardware Controller to add your controller. Then you can further configure the controller.
For the detailed configurations, refer to the User Guide of the controller and APs. The guides can be found on the download center of our official website: https://www.tp-link.com/support/download/. To ask questions, find answers, and communicate with TP-Link users or engineers, please visit https://community.tp-link.com to join TP-Link Community. For technical support, the user guide and other information,
please visit https://www.tp-link.com/support, or simply scan the QR code.

Safety Information
- Keep the device away from water, fire, humidity or hot environments.
- Do not attempt to disassemble, repair, or modify the device. If you need service, please contact us.
- Do not use the device where wireless devices are not allowed.
- Do not use damaged charger or USB cable to charge the device.
- Do not use any other chargers than those recommended.
- Adapter shall be installed near the equipment and shall be easily accessible.
The products of TP-Link partly contain software code developed by third parties, including software code subject to the GNU General Public License (“GPL”). As applicable, the terms of the GPL and any information on obtaining access to the respective GPL Code used in TP-Link products are available to you in GPL-Code-Centre under (https://www.tp-link.com/en/support/gpl/). The respective programs are distributed WITHOUT ANY WARRANTY and are subject to the copyrights of one or more authors. For details, see the GPL Code and other terms of the GPL.


























