tp-link Omada Wireless Wall Plate Access Point Installation Guide

https://www.tp-link.com/support/setup-video/
Note: The image may differ from the actual product.
1 Hardware Overview
Front Panel & Rear Panel

LED Indicator
On: Working normally/Initializing.
Off: Working abnormally/Power off/LED is turned off. Flashing:
- Initialization: The LED flashes twice after initialization is completed.
- Upgrade: The LED flashes once per second while upgrading.
- Reset: The LED flashes quickly during the reset. The EAP will then reboot.
- Locate: When the Locate feature is activated in the Omada controller, the LED flashes quickly to locate and identify the device. The LED will flash for 10 minutes, or you can disable the feature manually to stop it flashing.
ETH0 (PoE IN) Port
Connected to a PSE (Power Sourcing Equipment), such as a PoE switch, for both data transmission and Power. The device supports 802.3af/at inputs.
LED Button
Press the LED button to turn on/off the LED.
Bottom View

RESET Button
With the device powered on, press and hold the button for about five seconds until the LED flashes, then release the button. The device will restore to its factory defaults.
ETH1 & ETH2 Port
Connected to a client device to transmit data.
ETH3 (PoE OUT) Port
Connected to a client device to transmit data and supply power (PoE Passthrough). The PoE OUT feature requires 802.3at PoE+ input and the maximum output is 13 W.
Note: To power an 802.3af device in the LAN, you must use 802.3at PoE+ input.
2 Pre-Installation Checklist
Before installation, be sure that you have the following items:
- A pre-installed wall junction box
- An RJ45 plug
- A Phillips screwdriver
- A PoE switch
3 Installation Steps
The EAP can be mounted into an 86 mm wall junction box, a standard EU wall junction box, or a standard US junction box. The junction box should be pre-installed with a running-in-wall Ethernet cable connected to a PoE switch.

1. Detach the faceplate of the junction box with a Phillips screwdriver.

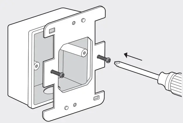
2. Insert the enclosed screws and tighten them with a Philips screwdriver to secure the mounting bracket.

Note:
- Do not over tighten the screws.
- If the enclosed screws do not fit the junction box, use the screws attached to the junction box instead.
- When mounting the bracket to a standard US junction box, use the holes on the top and bottom sides.
3. Connect the Ethernet cable inside the junction box to an RJ45 plug. Then connect the cable to the ETH0 (PoE IN) port. Position the Ethernet cable to ensure it is not strained.

Note:
If the junction box does not have enough room to accommodate the EAP, replace the junction box with an opened junction box or a deeper one.
4. Attach the EAP to the mounting bracket by aligning the two mounting studs on the mounting bracket with the large opening of the slots on the EAP. Press and slide the EAP down until it locks into place.

Tip:
To remove the EAP from the mounting bracket, insert a paper clip into the hole next to the LED button to release the Locking Tab. Slide the EAP upwards and pull it out to detach it from the mounting bracket, as shown below.

4 Software Configuration
A DHCP server (typically a router with DHCP function enabled) is required to assign IP addresses to the EAPs and clients in your local network.
The EAP supports two configuring options:
- To configure and manage EAPs singly (usually suitable for a small network with a few EAPs), Standalone Mode is recommended. Please refer to Option 1.
- To configure and manage EAPs in batch, Controller Mode is recommended. Please refer to Option 2.
Option1: Standalone Mode

Via Omada App
- Download the TP-Link Omada App on your mobile device. It can be downloaded from App Store or Google Play:
- Connect your mobile device to the EAP by using the default SSID (format: TP-Link_2.4GHz/5GHz_XXXXXX) printed on the label at the bottom of the product.
- Open the Omada App, and wait for the EAP to appear on the Standalone APs page. Tap on the EAP you want to configure.
The Omada App is designed to help you quickly configure the common settings. If you want to configure advanced settings, log in to the web page of your EAP or the controller.
Via a Web Browser
- Connect wirelessly by using the default SSID (format: TP-Link_2.4GHz/5GHz_XXXXXX) printed on the label at the bottom of the product.
- Launch a web browser and enter http://tplinkeap.net in the address bar. Use admin for both Username and Password to log in.
- Set up a new Username and Password for secure management purpose. Modify the wireless parameters and reconnect your wireless devices to the new wireless network.
To configure other EAPs, connect your device to the EAP by the corresponding default SSID and repeat the steps listed above. You can configure some basic functions in Standalone Mode. If you want to configure advanced functions, use Controller Mode.
©2021 TP-Link 7106509116 REV2.5.0
Option2: Controller Mode
Controller Mode applies to the large scale network with mass devices. All devices can be centrally configured and monitored via Omada Software Controller, Omada Hardware Controller or Omada Cloud-Based Controller

Via Omada Software Controller
- On the PC with Windows OS or Linux OS, download the Omada Software Controller installation file from https://www.tp-link.com/support/download/omada-software-controller/.
- Run the file and follow the wizard to install the Omada Software Controller.
- Launch the Omada Software Controller and follow the step-by-step instructions to complete the Quick Setup. After the wizard is finished, a login screen will appear.
- Enter the username and password you created and click Log in. Then you can further configure the network.
* Omada Cloud Portal
After installing Omada Software Controller, you can remotely access the controller through Omada Cloud Portal. Follow the steps below.
- Enable Cloud Access on the setting page on the controller and bind a TP-Link ID to your controller. If you have configured this in the setup wizard, skip the step.
- Launch a web browser and enter https://omada.tplinkcloud.com in the address bar.
- Enter your TP-Link ID and password to log in. A list of controllers that have been bound with your TP-Link ID will appear. Then you can click Launch to further configure the controller.
* Omada App
With Omada App, you can also manage your Omada Software Controller at a local site and remote site. Note that Omada Software Controller needs to be kept running when using Omada App.
- Download the TP-Link Omada App on your mobile device. It can be downloaded from App Store or Google Play:

- Launch your Omada App and configure the controller at local a site or remote site.
• Local Management
a. Connect your mobile device to the EAP by using the default SSID (format: TP- ink_2.4GHz/5GHz_XXXXXX) printed on the label at the bottom of the product.
b. Launch Omada App and go to Local Access, tap the + button on the upper-right corner to add the controller. Then you can further configure the controller.
• Remote Management
a. Make sure Cloud Access is enabled on your controller and your controller has been bound with your TP-Link ID.
b. Launch Omada App and log in with your TP-Link ID. Then go to Cloud Access. A list of controllers that have been bound with your TP-Link ID will appear. Then you can further configure the controller.
Via Omada Hardware Controller (OC200/OC300)
Omada Hardware Controller (OC200/OC300), which is pre-installed with Omada Software Controller, is a good alternative if you have no spare PC to keep running Omada Software Controller in the network. It needs to be purchased additionally. For more details, refer to the Installation Guide of OC200/OC300.

Via Omada Cloud-Based Controller
Before managing the devices via Omada Cloud-Based Controller, make sure they can access the internet.
- Launch a web browser and enter https://omada.tplinkcloud.com in the address bar. Enter your TP-Link ID and password to log in.
- Click Add Controller and register for an Omada Cloud-Based Controller. Follow the instructions to complete the setup process.
- Add devices with the serial number, make sure the devices are online and in factory default.
- Assign appropriate licenses in order to manage and configure the devices on the cloud-based controller. Then wait until your controller is deployed.
* Omada App
With Omada App, you can also manage your Omada Cloud-Based Controller.
- Download the TP-Link Omada App on your mobile device. It can be downloaded from App Store or Google Play

- Launch Omada App and log in with your TP-Link ID. Then go to Cloud Access. A list of controllers that have been bound with your TP-Link ID will appear. Then you can further configure the controller.
For the detailed configurations, refer to the User Guide of the controller and EAPs. The guides can be found on the download center of our official website: https://www.tp-link.com/support/download/.
To ask questions, find answers, and communicate with TP-Link users or engineers, please visit https://community.tp-link.com to join TP-Link Community.
For technical support, the user guide and other information, please visit https://www.tp-link.com/support, or simply scan the QR code.
If you have any suggestions or needs on the product guides, welcome to email [email protected].
Safety Information
- Keep the device away from water, fire, humidity or hot environments.
- Do not attempt to disassemble, repair, or modify the device. If you need service, please contact us.
- Do not use the device where wireless devices are not allowed.
![]()
The products of TP-Link partly contain software code developed by third parties, including software code subject to the GNU General Public License (“GPL”). As applicable, the terms of the GPL and any information on obtaining access to the respective GPL Code used in TP-Link products are available to you in GPL-Code-Centre under (https://www.tp-link.com/en/support/gpl/). The respective programs are distributed WITHOUT ANY WARRANTY and are subject to the copyrights of one or more authors. For details, see the GPL Code and other terms of the GPL.





















