IDTRONIC ID GATE 7700 Turnstile User Manual
Product Instruction
Note
- Before installation, operation or maintenance, please turn off the power.
- Please do not change the inside wiring, take a photo before any disconnection.
- Do not use the power supply inside the turnstile to connect another third-party device.
- The turnstile should not be operated during thunderstorms or lightning strikes, as this may damage the electrical parts of the turnstile.
Functional features
- compact and cost-effective security solutions
- stainless-steel body
- Turnstile with a standard open/close relay signal, which can be integrated with any type of third-party access control system. (e.g.: RFID, QR-Code and barcode reader).
- In case of an emergency, the turnstile will automatically open and allows for free passage.
- Anti-tailing function: only one person passes at a time.
- Anti-impact function: The rotating rod will lock automatically, when the opening signal is not received.
- Automatic reset function: turnstile arm will lock automatically within 5s if passengers enter too late.
- Working way: Single directional or Bi-directional
- LED indicator (red means no entry; green means entry; blue means normal close)
- Easy to install and maintain
Structures and dimensions
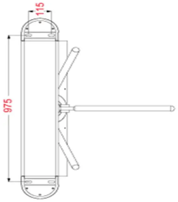
The ID Gate 7700 is made of 304 stainless steel which is robust, rigid, anti-rust, waterproof and durable, it is ideal for both indoor and outdoor settings.
Appearance and dimensions are as shown in figure 1:
Technical parameter
| Item | Description |
| Frame | 304 Stainless Steel with rubber seal |
| Dimension | L1200*W230*H980(mm) |
| Weight | 50Kg |
| Pass Width | 1 lane, 550mm (Arm length: 500mm) |
| Power supply | AC230V/110V, 50/60Hz |
| Working voltage | 24V DC |
| Emergency | Arms will drop down automatically |
| Power consumption | 20W |
| Working environment | Indoors or outdoors, IP65 |
| Working temperature | -15 °C – 60 °C |
| Humidity | 0 ~ 95% (no freeze) |
| Control interface | Dry contact/Relay signal |
| Opening time | 0.2 seconds |
| Passing speed | 35~40 persons/min |
Product Structure and Working Principle
Tripod turnstile mechanical system
The turnstile’s mechanical system is divided into a frame and a movable part.
The frame includes direction indicators and read-write device.
The main components of the movements are the motor, the motor frame, the drive shaft and the arms.
Movement structure
Tripod turnstile electric control system
The electronic control system consists of card reader, main control board, direction indicator board, transformer and so on.
- Card reader (self-provided): After reading the card’s information and processing the information, the card reader will send an application pass signal (switch signal) to the main control board.
- Main control board: The system’s control, which receives the signals from the card reader, processes these signals and then issues execution commands to the flashing light, the motor, the counter and the alarm.
- Direction indicator light: Display the status of the passage signs and guide pedestrians through the gate in a safe and orderly manner.
| Item No. | NAME | FUNCTION |
| 1 | Entrance access system | IC/ID card access control, 1/2D barcode reader, gate opening signal on the control board of gate machine, remote control, button to open the gate(optional) |
| 2 | Control board | The system’s control, which receives the signals from the card reader, processes these signals and then issues execution commands to the flashing light, motor, counter and alarm. |
| 3 | Direction indicator | The directional indicator light shows the status of the passage sign and guides pedestrians through the gate |
| 4 | Limit switch | Check opening and closing position |
| 5 | Switch | Supply power to control board |
Operating principle of the system
- After 3 seconds, the system will enter working state if you turn on the power.
- When the card reader detects a valid card, the loudspeaker emits a sound indicating that the card has been read successfully.
Further more, it evaluates and processes the information read from the card and sends an approval signal to the main controller. - The main control receives the signals from the card reader.
After thorough processing, it sends effective control signals to the direction indicator and motor, so that the direction indicator sign turns into the green arrow pass sign. - After the pedestrian passes through the gate according to the direction indicator, the infrared sensor senses the entire process of the pedestrian passing through the gate and continuously sends signals to the main control panel until the pedestrian has passed through the gate completely.
- If a pedestrian forgets to read his card or reads an invalid card and enters the gate, the system will forbid the pedestrian to pass through.
Rereading a valid card allows passage
Install Instruction
Installation notes & suggestion
Note: During installation and construction, relevant circuits should be completely disconnected.
Please check all connections and correct installation before applying power.
Installation Suggestion:
- It is recommended to lay the cables 60 mm deep, at least 50 mm, into the ground.
- If the turnstiles are installed outdoors, it is recommended that they be secured with 100- 200 mm deep anchors in concrete.
- All operations should be carried out with the power off.
- Power cable and normal electric cable are carried in a 3/4″ PVC pipe and buried in cement in the appropriate place.
- After adjusting the foundation area, place the devices in the correct order.
- After the hole’s position has been determined, drill the holes, and insert the anchor bolt or expansion screw M12.
Figure 3
Figure 4
- Open the casing, select one of the units as a reference (preferably the middle one), align the hole of the bottom screw with the corresponding anchor screw and pre-tighten the nut.
- Connect the power line and the control line according to the wiring diagram and connect the ground cable to the system
- Check the main wiring according to the wiring diagram, check that the power wiring and other wiring of the entire unit are correct, and then adjust the power after confirmation.
- After the installation is complete, check the connection condition of the earth wire, connector assembly for the connecting line and all moving parts with the device.
Make sure the connection is firm in order to prevent failure caused by long time operation.
If any screw or part is not tightened, please tighten. - After the check of the unit status has proceeded normally, the function can be tested.
Figure 5
Turnstile cable drawing
Figure 6
Turnstile circuit board wiring diagram
- Connect the turnstile to a 110V/230V power supply.
- Any type of third-party access control device can be connected to the “OP-L”,” COM” and “OP-R” terminals.
Figure 7
Button introduction
Control board: “ENT”, “INC”, “ESC”, and “DEC”
ENT: Enter ENT setting or to determine the current modified value
ESC: Back to previous menu
Menu setting
- Step1: Press “ENT “for 3s to enter, press “INC”, “DEC” to choose F01 menu list
- Step 2: Press “ENT” to enter the time setting
- Step 3: Press “INC”, “DEC “to set the numbers
- Step4: After finish setting, press “ENT “to save
- Step 5: Press “ENT”to quit from main menu
Parameter setting instruction
If the Control board is connected to power, the LED display shows
[F 0 1] Set the passage time:
Within this time, pedestrian can pass the gate.
If no pedestrian pass, the gate will close automatically after times up(default time is 5s )
[F 0 2] Access is permitted and prohibited:
0: R&L all prohibited 1: All permitted
2: Left prohibited, right permitted
3: Right prohibited, left permitted. (Default is 0)
[F 0 3] Turnstile working mode:
0: Free passage
1: Arm down when power off (default 1)
[F 0 4] Memory function:
When the entrance gate is opened or closed, if there is a memory function, the gate can normally store the information of other pedestrians’ cards if a pedestrian swipes the card but does not have a pass.
Prohibited: 00 – if the first pedestrian swipes the card and passes, the second pedestrian must also swipe the card.
Allowed: 01- means that the number of people allowed to swipe the card is the number of people allowed to pass in succession.
Allowed” means that anyone who swipes a valid card may pass (default is prohibited: 00).
[F 0 5] Repeatedly open and close the switch testing:
It is mainly used for testing the stability and aging of brake control panel.
Note: in test mode, press the ESC key to exit the test
[F 0 6] Zero signal setting:
0: close the gate/ channel immediately if the zero signal is detected (tripod turnstile standard mode, the main board is set to 0 by default)
1: zero signals are detected, and then the gate is closed after waiting for the zero signals to disappear (commonly used at full height turnstile).
[F 0 7] Normally open setting of turnstile:
This parameter is used to detect the continuous opening signal.
When the continuous opening signal exceeds the set parameter, the system enters the normally open state.
If it is a continuous signal, the gate will always be open.
After the continuous signal is disconnected, the gate will resume the standard mode.
(The default parameter is 6 seconds, that is, press the “left open” or “tight open for more than 6 seconds, the gate is normally open, release the “open” button, and the gate is restored.)
[F 0 8] Opening time delay:
This parameter can only be effective when the memory function is turned on.
After the memory function has been turned on, the time delay of opening the gate for more than one person can be prevented from opening the gate again when the previous person has not passed the channel.
[F 0 9] Back to factory settings:
All main board parameters are restored to factory settings.
Product Maintenance
Daily maintenance
- To avoid the risk of electric shock, always switch off the unit before inspecting it.
- Check the appliance at regular intervals to ensure that all parts are working properly.
- The material is stainless steel, do not use hard materials for cleaning.
- Clean fingerprints or stubborn stains with soapy water or alcohol, rinse with clean water and wipe dry if necessary.
Tips and troubleshooting
- Tripod turnstile stays closed after a card has been swiped
- Check whether the main board receives the opening signal.
- Check whether the opening signal lead or the solenoid valve lead is loose.
- Measure with a multimeter whether there is a voltage of 24 V on the solenoid valve terminal the main board and assess whether the solenoid valve is damaged.
- Tripod turnstile arms do not fall down in case of power failure
- Check if the support of the electromagnet is loose, readjust it and fix it.
- When the arm is connected to the power supply, it cannot be lifted manually.
- Check if the pole drops support of the electromagnet is loose, test if the electromagnet is magnetic with a metal object.
- Use a multimeter to measure whether there is 24V at the electromagnet terminal of the main board, and asses whether the main board has normal voltage output.
- The main board is not supplied with power after switching on
- Check with a multimeter to check whether there is 24V voltage input at the input port.
- Check whether the fuse has blown
- Check whether there is 24V at the output end and assess whether the power supply is damaged
Drawings


CUSTOMER SUPPORT
Ludwig-Reichling-Straße 4
67059 Ludwigshafen am Rhein
+49 621 669 009 20
[email protected]






















