HP 1,5
HP 2
GRATER
03.2022
USE AND MAINTENANCE MANUAL
Delivery and warranty
1.1 – Introduction ATTENTION!
The purpose of the symbols used in this manual is to draw the reader’s attention to points and operations that can endanger the personal safety of the operators or risk damaging the machine. Do not use the machine unless you are certain that you have correctly understood these warnings.
ATTENTION!
For greater clarity some illustrations in this manual show the machine or parts of it with the panels or carters removed. Do not use the machine in such conditions; all protections must be correctly fitted and in perfect working order. This manual cannot be reproduced, even partially, and its contents cannot be used for purposes other than those permitted by the manufacturer. Any violations of the above will lead to punishment according to law.
1.2 – How to keep and use this manual
The purpose of this manual is to instruct the user, through texts and figures, on transport, handling, use, and maintenance of the machine; the manual must therefore be carefully read before using the machine. Carefully keep this manual near the machine in an easily and quickly accessible place for future reference. If the manual is misplaced or damaged, ask your dealer or manufacturer for a copy. If the machine is sold, inform the manufacturer of the name and address of the new owner. The manual reflects the state of technology at the moment the machine is sold and cannot be considered inadequate if it is subsequently updated due to newly gained knowledge. In this regard the manufacturer reserves the right to update its products and manuals without being obliged to update previous products or manuals apart from exceptional cases. If in doublt consult the nearest servicing center or the manufacturer. The manufacturer aims to continuously optimize its product. For this reason any comments or suggestions on how to improve the product and/ or manual are welcome. The machine has been delivered to the user under the warranty conditions in force at the time of purchase. Contact your supplier for any clarifications needed.
1.3 – Warranty
The user is not authorized to tamper with the machine for any reason. If there is a fault contact the manufacturer. Any attempts at dismantling or tampering with any component of the machine in general by the user or unauthorized personnel will cause the lapse of the declaration of conformity according to the EEC Directive 2006/42, will render the warranty null and void and the manufacturer will be exempt from any responsibility for damage to people or things due to such tampering. The manufacturer is also exempt from all responsibility in the following cases:
– Incorrect installation;
– Improper use of the machine by inadequately trained personnel;
– Failure to comply with the regulations in force in the country in which the machine is used;
– Lack of or insufficient maintenance;
– Use of unoriginal spare parts or spare parts not specifically designed for the model;
– Total or partial failure to follow the instructions.
1.4 – Description of the machine
The grater you have purchased is a simple, compact and powerful machine, with a high yield.
– Since it must be used to grate food products the components that can come into contact with the product have been carefully chosen to guarantee maximum hygiene.
– The base is made of micro shot-peened AISI 304 stainless steel.
– The inlets in aluminum G-AlMg3 have been treated with a buffering procedure to facilitate cleaning.
– The roller is made of AISI 304 stainless steel to guarantee maximum hygiene and make it last longer.
– The motor is self-ventilated to keep yield constant during the prolonged use of the machine.
– The AISI 304 stainless steel extractable sieve (provided upon request) is used to grate the dry bread uniformly.
The models represented in this manual have been manufactured in compliance with the EEC Directive 2006/42 and modifications thereafter.
In case of an accident the manufacturer cannot be held responsibile if the machine has been modified or tampered with, if the safety protections have been removed, or if the machine has been used for purposes prohibited by the manufacturer.
1.5 – Use
The machine has been designed and built to grate aged cheese, dry bread (only if equipped with a sieve) or similar products.
It must be used in professional environments and by skilled personnel who are trained to operate in the sector and have read this manual.
Use the grater only when it is securely placed on a solid work table. The dimensions of the product must enable it to fit in the loading inlet.
1.6 – Forbidden uses
The machine must only be used for the purposes expressly intended by the manufacturer. In particular:
– Do not use the machine to grate food products other than aged cheese, dry bread (only if equipped with a sieve) and the like.
– Do not use the machine if it has not been correctly installed with all the protections intact and correctly assembled to avoid the risk of severe injury.
– Do not access electrical components without having previously disconnected the machine: risk of electrocution.
– Do not work products that are bigger than what can be totally contained in the feeding inlet.
– Do not wear clothes that do not comply with safety regulations. Consult your employer for safety regulations and the safety devices required. – Do not use the machine if it is not working correctly.
Before starting the machine make sure that any dangerous condition has been appropriately eliminated. If a fault occurs, stop the machine and notify persons in charge of maintenance.
– Do not allow unauthorized personnel to carry out work on the machine.
In the event of emergency treatment due to an accident caused by electrical shock, first remove the victim from the conductor (as he will be unconscious).
This operation is dangerous as the victim is a conductor in this case and touching him could cause electrocution.
Therefore disconnect the contact directly from the power supply valve or, if this is not possible, distance the victim using insulating material (wooden or pvc sticks, fabric, leather, etc.).
A doctor should be promptly called and the patient should be taken to the hospital.
1.6.1 – Lighting
Sufficient natural and artificial lighting must be provided around the machine. Lighting must be disposed of in compliance with the laws in force of the country the machine is installed in. In any case, lighting must be uniform and guarantee operator visibility in every point of the machine and it must not create dangerous reflections. The lighting must enable a clear reading of the control panels and the individuation of emergency pushbuttons.
1.7 – Identification
An exact description of the “Model”, the “Serial number” and the ‘”Year of Construction” of the machine will enable our servicing department to provide rapid, efficient responses. Always indicate the above information whenever you contact the servicing department. Use the data on the plate shown in fig. 1.7.1.
As a memorandum we suggest filling in your machine data in the following box.
Grater model…….…………
Serial N°………………….
Year of construction…………….
Type………………………………
ATTENTION!
Do not, for any reason, alter the data given on the plate.

A = Machine model
B = Power source
C = Motor power
D = Motor frequency Hz
E = Weight
F = Amperes
G = year of construction
H = Serial number
I = Manufacturer
L = Barcode
1.7.1 – Safety and warning plates (fig. 1.7.2)
ATTENTION!
Do not intervene on electrical parts while the machine is connected to the power supply. Risk of electrocution.
Observe the warnings on the plates. Failure to observe them can cause serious injury.
Make sure the plates are always fitted and readable. If not, fit or replace them.
1.8 – Protections and safety devices
ATTENTION!
Before using the machine make sure that the devices are correctly positioned and in perfect working order.
At the beginning of each work shift check that they are fitted and working properly; if not, notify the head of maintenance.
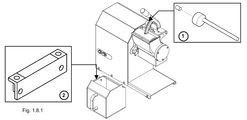
- Microswitch on the lever
The machine is outfitted with a microswitch on the lever of the inlet. This works by blocking the machine when the lever remains lifted or the inlet is completely disassembled. - Microswitch on the container
The machine is outfitted with a microswitch on the plexiglass container. When the container is extracted the machine stops fig..1.8.1.
ATTENTION!
Do not tamper with the safety devices in any way.
1.9 – Working positions
The correct working position for the operator to optimize the running of the grater is indicated in fig. 1.9.1.
1.10 – Vibrations
The vibrations that the machine transmits to the table are not important.

Technical features
2.1 – Main parts
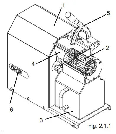
To facilitate the understanding of the manual the main machine components are listed below and shown in fig. 2.1.1.
- Machine body in AISI 304 stainless steel
- Grater roller in AISI 304 stainless steel
- Plexiglass container (optional in AISI 304 stainless steel)
- Grater inlet in polished G-AlMg3 aluminum
- Inlet lever in polished G-AlMg3 aluminum
- Pushbutton panel

2.2 – Technical features
| MODELLO | HP 1,5 | HP 2 | |
| Motor | Hp | 1,5 | 2 |
| Feed | V | 230-400V/50Hz | 230-400V/50Hz |
| Roller revs | R.P.M. | 1.4 | 1.4 |
| Inlet dimensions | mm | 140 x 80 | 190 x 95 |
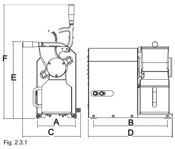
2.3 – Machine dimensions and weight
| HP 1,5 | HP 2 | ||
| A | mm | 202 | 228 |
| B | mm | 395 | 475 |
| C | mm | 310 | 330 |
| D | mm | 448 | 528 |
| E | mm | 412 | 520 |
| F | mm | 610 | 730 |
| Net weight | kg | 27 | 37 |
2.4 – Noise level
Testing of the level of noise emitted from the machine indicates that the level is lower than 70 dBA.
2.5 – Electrical diagrams
2.5.1 – 230 V – 50 Hz single-phase electrical diagram
2.5.2 – 400-V three-phase electrical diagram 
Testing, transport, delivery, and installation
3.1 – Testing
The machine in your possession has been tested in our facotry to ensure it runs properly and is correctly regulated.
3.2 – Machine delivery and handling

| Overall dimensions (mm) | ||
| HP 1,5 | HP 2 | |
| A | 660 | 800 |
| B | 470 | 600 |
| C | 610 | 520 |
| Gross weight (Kg) | |
| HP 1,5 | HP 2 |
| 30 | 39 |
All the forwarded material has been accurately chec-
ked prior to delivery to the shipping agent.
Unless otherwise stipulated by the client or hindered by particularly burdensome transport, the machine is wrapped with nylon and carboard.
The packaging dimensions are shown in fig. 3.2.1 When the machine is received check that the packaging is intact. Should the packaging be damaged sign the transport documents, noting that: ” I accept, but …” and the reason.
Once the package has been opened, if machine components are found to have been genuinely damaged, declare such damage to the shipping agent within three days of the date indicated on the transport documents.
3.3 – Installation
ATTENTION!
The area where you intend to install the machine must be flat and solid.
Furthermore, the machine must be positioned with ample space around it.
This enables greater maneuverability during working phases and guarantees access for periodic maintenance. Ensure sufficient lighting around the machine to guarantee correct visibility for the machine operator.
3.3.1 – Package disposal
The components of the packaging such as cardboard, nylon and wood can be freely disposed of as they are compatible with solid urban waste.
Nylon is a pollutant if it is burned because it produces toxic fumes. Do not burn and do not throw away but dispose of it according to the laws in force.
If the machine is delivered in countries in which there are particular laws, dispose of the packaging according to the presciptions of these laws in force.
3.3.2 – Moving the machine
ATTENTION!
Lift the machine with a forklift of suitable capacity.
Check the stability and positioning of the weight on the forks, especially along uneven, slippery or inclined paths. When moving the machine 5keep the load as low as possible to guarantee greater stability and visibility. Stabilize the grip by widening the forks of the forklift.
3.4 – Connection to the electrical system
ATTENTION! Make sure the electrical source corresponds to the value reported on the identification plate of the machine. Each operation should be carried out only by specialized personnel authorized by the appropriate supervisor. Connect the machine to a network with an efficient floor plug.
3.4.1 – Three-phase machines at 400 V / 50 Hz and at 230 V / 50 Hz
In these set ups the machine is outfitted with a feeding cable with a section of 4 x 1.5 and a length of about 1.5 meters. Connect the cable to the three-phase electrical supply network, inserting a 16-Amp magnetothermic differential switch.
3.4.2 – Single-phase machine at 230 V / 50 Hz
In this set up the machine is outfitted with a feeding cable with a section of 3 x 1.5 and a length of about 1.5 meters. Connect the cable to the 230 V 50 Hz single-phase electrical supply network, inserting a 16-Amp magnetothermic differential switch.
For machines with voltages different from those mentioned consult the manufacturer. If the feeding cable needs to be extended, use a cable with the same section as the one supplied by the manufacturer.
Commands
4.1 – List of commands
- – Stop button
– Raised Stop button: Press to stop the machine - – Start Button
– Bright Start button: Press to start the machine - – Indicator light
– Green.
– It lights up when pressing the start button, it indicates that the machine is in operation.

Start up and stop
5.1 – Checking the correct electrical connection
ATTENTION!
Check that the feeding line corresponds to the value reported on the identification plate of the machine and that it is outfitted with an efficient floor plug.
- Insert the plug into the power supply.
- Turn the differential switch to pos. “I”.
- Press the start button “2” fig. 4.1.1.
The indicator light “3” fig. 4.1.1 comes on.
Check the direction of rotation of the roller. - Press the stop button “1” fig. 4.1.1
The indicator light “3” fig. 4.1.1 turns off.
Note
The presser must be in a low position.
The roller rotation direction must be the same as the one indicated by the arrow fig. 5.1.1
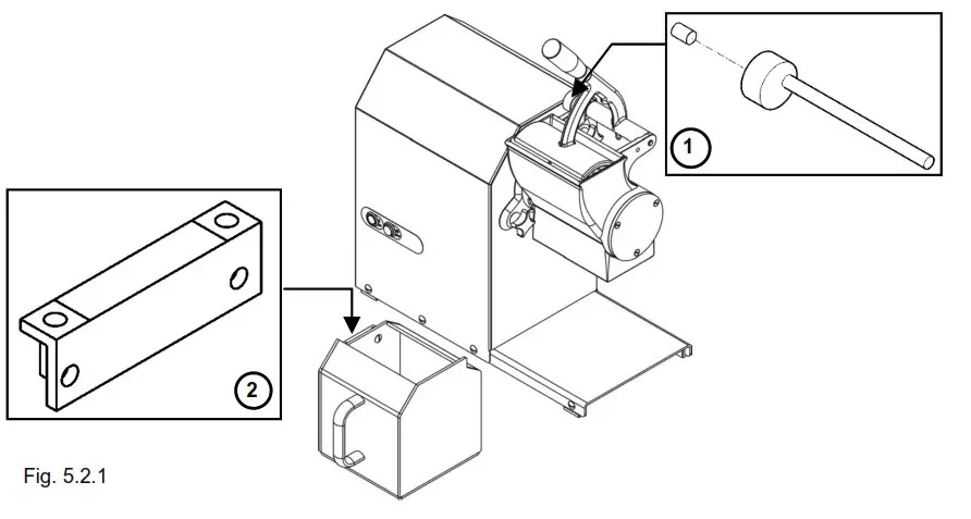
5.2 – Checking the presence and efficiency of protections and safeties
Microswitch on the lever
While the machine is running lift the presser until the microswitch ntervenes and stops the machine.
Keep the presser still in the point in which the microswitch interve nes and check that the space between the loading inlet and the presser is such to block fingers from entering.
If this is not the case contact an authorized reseller or the manufac turer.- Microswitch on the container
While the machine is running extract the plexiglass container and make sure that the machine stops.
5.3 – Checking the efficiency of the stop pushbutton (fig. 4.1.1)
While the machine is connected to the power supply and the utensil is moving press the pushbutton “2” fig. 4.1.1
5.4 – Start up
– Set the differential switch fitted upstream at “I”.
– Press the start pushbutton “2” (fig. 4.1.1) to start the machine.
The light indicator “3” fig.4.1.1 will light up.
Note If the presser is in an “open” position the machine will not run, therefore it will have to be lowered.
5.5 – Stop
– Press the stop pushbutton “1” fig 4.1.1 to stop the running of the machine; The indicator light “3” fig. 4.1.1 turns off.
– Then set the differential switch installed upstream at “0”, in this way disconnecting the machine.
Note Each time a work shift finishes or the machine is left to rest, the differential switch must be left set at “0”.
Using the machine
6.1 – Foreward
ATTENTION! Only authorized personnel can use the machine.
Before beginning work the operator must make sure that all the protections are in place and that the safety devices are fitted and working properly. If not, switch off the machine and contact the head of maintenance.
6.2 – Using the sieve
The extractable sieve “1” in stainless steel AISI 304 enables obtaining a uniformly grated product, avoiding sieving.
It must be requested upon ordering the machine.
Maintenance
7.1 – Foreward
ATTENTION!
Every maintenance and cleaning operation on the grater must only be done with the machine at a standstill, disconnected from the power supply.
The area where maintenance operations are carried out must always be kept clean and dry. Do not allow unauthorized personnel to work on the machine.
Any replacement of parts must be made with original spare parts at authorized work shops or directly by the manufacturer.
ATTENTION!
Disconnect the machine from the electrical supply before cleaning it.
Do not clean the machine with jets of water. Only use non-toxic detergents, designated for cleaning components for use with food products.
7.2 WEEE Waste of Electric and Electronic Equipment
This symbol, crossed out wheelie bin, on the product or on its packaging indicates that this product must not be disposed of with your other household waste.
Separate waste collection of this appliance is organised and managed by the manufacturer. It is the user’s responsibility to contact the manufacturer and follow the waste treatment system the manufacturer has adopted for separate waste collection.
The separate collection and recycling of your waste equipment at the time of disposal will help to conserve natural resources and ensurethat it is recycled in a manner that protects human health and the environment.
Problems and solutions
8.1 – Problems, causes and solutions
| Problems | Causes | Solutions |
| The machine does not start | The differential switch is not set at “0” The presser is in a high position The microswitch installed on the grater inlet does not work The start pushbutton does not work The electrical motor or the electronic card are faulty | Put the switch at “I” Lower the presser Call technical assistance Call technical assistance Call technical assistance |
ASSISTANCE CENTER
AUTHORIZED DEALER
Microswitch on the lever


















