Professional slicer CE
GRAVITA’
PLD 300-330-350
Operating and Maintenance Manual
Palladio 350 Heavy Duty Slicer
INTRODUCTION
This manual has been re-presented to provide the Client with all the information on the machine and its safety regulations, and also the use and maintenance instructions which permit using the machine in the best way and maintaining its efficiency throughout time.
This manual must be kept in its entirety until the machine is disposed of.
This manual should be given to personnel in charge of the use and periodic maintenance of the
CHAP. 1 – RECEIVING THE MACHINE
1.1 – PACKAGE
The slicer is shipped in a package which consists of (Fig. n°1): cardboard box, wooden pallets and protective nylon. They should be disposed of separately and according to the norms in force in the country of installation.
| Dimensions AxBxC mm | Gross weight (Kg) | |
| PLD 300 | 760x640x700 | 44 |
| PLD 330 | 760x640x700 | 45 |
| PLD 350 | 760x640x700 | 46 |
WARNING!
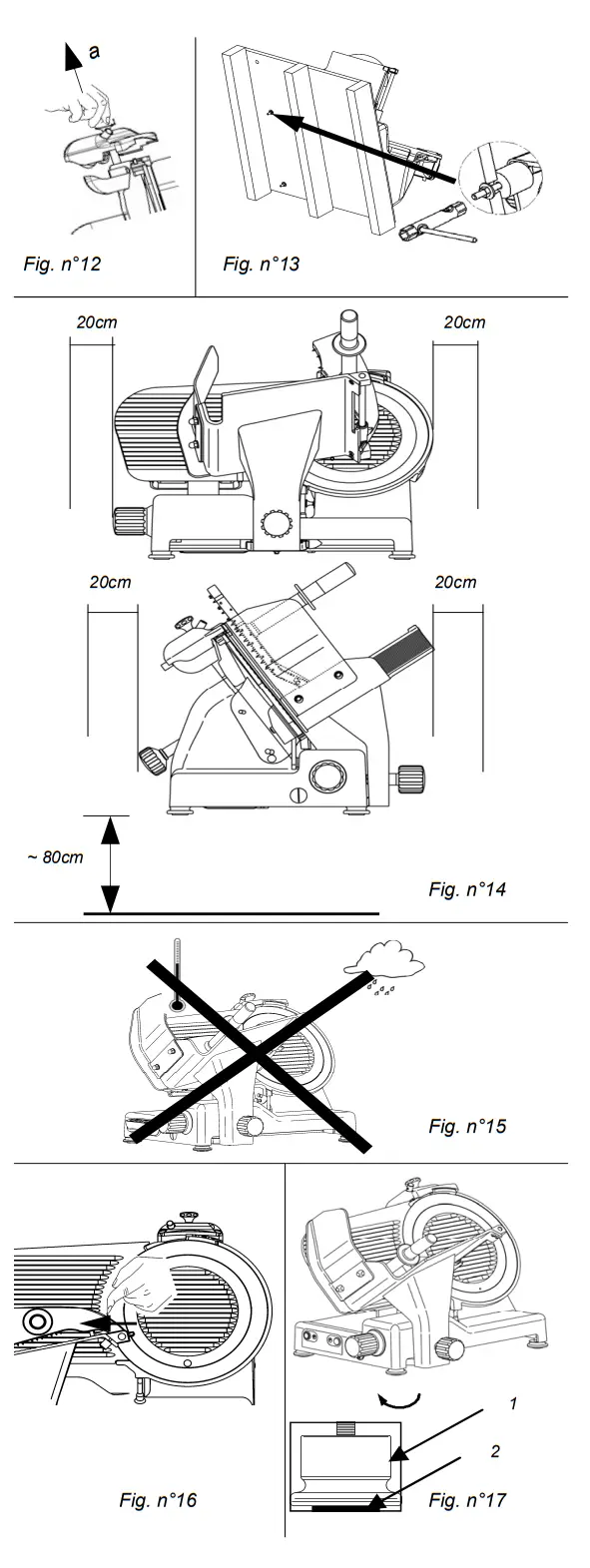
Do not place more than one of the same package on top (Fig. n°3). 
Do not expose the package to humidity or rain (Fig. n°4).
Heavy package. Do not lift manually unless with help of at least three people (Fig. n°5).
Move the package only by electrical trolleys or manually, equipped with lifting straps (Fig. n°6).
Since the center of gravity is not in the middle of the package, moving it suspended by chords or similar systems is not advisa-ble (Fig. n°7).
1.2 – CHECKING THE PACKAGE UPON DELIVERY
When the package is received, if there is no external damage proceed to opening it, making sure that all material is inside. If the package upon delivery shows signs of tampering (Fig. n°8), impact or fall, it is necessary to present the damage to the carrier, and within 3 days of the delivery date, indicated on the documents, make a precise report of the damage. Do not over- turn the package!! When transporting it make sure that it is firmly held by the four corners (keeping it parallel to the floor).
CHAP. 2 – INSTALLATION
WARNING!
All operations must be carried out by specialized personnel (Fig. n°9).
2.1 – UNPACKING
Remove the straps from the package (Fig. n°10) and lift the cardboard (h).
The package should be:
a) the machine on the pallet (Fig. n°11 de-tail a);
b) blade extractor (Fig. n°11 detail e);
c) 4 feet (Fig. n°11 detail f);
d) Case, if present (Fig. n°11 detail b).
Check inside the suitcase if it present, find the following components:
(Fig. n°11):
- Instruction booklet (detail d) ;
- CE compliance certificate (detail c);
- Au o-visual cassette;
- Liquid detergent with sprayer;
- Oi tube;
- Sharpening and burring grinders;
- Socket wrench to remove grinders;
- Grinder brush;
- Large and small screwdrivers;
- Pliers.
2.2 – POSITIONING
Position the pallet, with the slicer, on a flat surface and take off (a) the sharpener from the slicer (Fig. n°12). At this point turn the machine on its side (Fig. n°13) and unscrew, with the proper wrench provided, the 4 nuts which fasten the slicer. Remove the 4 washers and un-screw the 4 fastening tie rods on the woo-den pallet. Take off the pallet and fasten the 4 feet provided. Finally, put the sharpener in its place. Position the slicer in the predestined place. The dimensions indicated in Tab. 1 (according to the model) must be kept in mind for the plane where the slicer will be installed, therefore it must be wide enough, welllevelled, dry, smooth, robust, stable about 80 cm high off the ground and at least 20 cm from walls, objects, shelves, etc. (Fig. n°14) in respect to the space necessary for its use and safeguarding. Furthermore the machine must be placed in an environment with a maximum humidity of 75%, not salty and with a temperature be-tween +5°C and +35°C; in any case in environments which do not lead to deviations of the above.
Make sure the graduated handgrip is in posiion “0”. Check the alignment of the blade-plane thi-ckness gauge by running a finger (Fig. n°16)6) from the ade towards the thickness gauge plane (never in the opposite direction). Unscrew and screw the foot (1) until the correct alignment is found (Fig. n°17), then screw the rubber part (2) to fix e-verything (Fig. n°17).
2.3 – ELECTRICAL CONNECTION
Check that the data reported on the techni-calpart number plate (Fig. n°18), the delivery documents and the order, corre-spond; contactthe supplier for clarification if they do not. At this point make sure that the system is standard and that the cable and grounding system perfectly operate.
2.3.1 – Slicer with single-phase motor
The slicer is equipped with a feeding cable with a cross section area of 3x1mm²; length ≅1.5m and a “SHUKO” plug. Connect the 230 V. – 50 Hz slicer, interposing a magnetother-mic differential switch of 10A,Ι∆ = 0.03A.
2.3.2 – Slicer with 400 V. three-phase motor
The slicer is equipped with a feeding cable with a cross section area of 5x1mm², length≅ 1.5m and a red 15A 3F + T CEI plug. Connect the slicer to the 400 V. – 50Hz three-phase supply mains, interposing a magnetothermic differential switch of 10 A, Ι∆=0.03A.
2.3.3 – Slicer with 230 V. three-phase motor
The slicer is equipped with a feeding cable with a section area of 5x1mm²; length ≅1.5m and a blue 15A 3F + T CEI plug.
Connect the slicer 230 V. – 50 Hz three-phase supply mains, interposing a magnetothermic differential switch of 10A,Ι∆ = 0.03A.
Check that the direction of the blade rotation is counter-clockwise looking at the slicer from the side of the blabe cover. If not proceed as in par. 2.3.4.
2.3.4 – Blade rotation direction
Check the direction of the blade rotation with a pulse of the “I” push-button (ON), im-mediately followed by the “0” push-button OFF.
The direction of the blade rotation must be counter-clockwise when looking at the slicer from the blabe cover side (Fig. n°19). In the case that the rotation direction is not exact, invert (Fig. n° 20) the position of two of the three phase wires (black, gray or brown) in the plug. 
2.3.5 – Electrical connection modification
Unless otherwise specified, the slicers are equipped with 400 V. three-phase connection. To modify the connection carefully follow these instructions:
- remove the plug from the electric network;
- turn the slicer on the side opposite the trolley;
- take off the yellow cover from the electrical box;
- remove the motor cables from the electronic card;
- connect wires from the motor that have the same colour (white-white, blue-blue, etc.);
- reconnect them to the electronic card;
- check the positioning of the feed selection plugs on the electronic card (Fig. n°21);
- close the box, reposition the slicer and proceed as in par. 2.3.3.
2.4 – PRELIMINARY CHECK
Before testing make sure the goods holder plate is well-blocked, after which test functioning with the following procedure:
- Push the “ON” push-button and the “OFF” push-button (Fig. n°22);
- check if by unscrewing the blabe cover tie rod the machine stops working (Fig. n° 30);
- Check if the machine does not start automatically by removing the plug and reinserting it while the machine is running.

CHAP. 3 – INFORMATION ON THE MACHINE
3.1 – GENERAL PRECAUTIONS
The general precautions, even though they appear obvious, are fundamental for the installation, use, maintenance and possible inconveniences with their respective solu-tions.
- The slicer is designed for cutting fresh, seasoned and cooked meats, cured meats and vegetables, non-frozen and boneless, up to maximum 20°C (Fig. 23). other use must be regarded as im-proper and thus dangerous.
- The Manufacturer is not responsible in thefollowing cases:
⇒the machine is tampered with by u- nauthorized personnel;
⇒components are substituted with unoriginal parts;
⇒the instructions in this manual are not followed carefully;
⇒the surfaces of the machine are treated with inappropriate products.
Keep this manual in a safe place for future information or consultation (Fig. n°24).
The slicer must only be used by trained personnel who know the safety norms contained in this manual perfectly.
In the case of an alteration in personnel, give time for training.
Do not allow the slicer to be used by chil-dren or by untrained people (Fig. n°25).
Before carrying out any cleaning ormaintenance operation, disconnect the machi-ne plug from the electrical network.
When carrying out routine maintenance or cleaning of the slicer (and therefore the guards are removed), carefully evaluate the residual risks .
During maintenance or cleaning stay concentrated on the operations.
Do not use corrosive or flammable substances to clean the slicer (Fig. n°26); only use the product provided.
To clean the slicer carefully follow the instructions in the chapter: “Routine clea-ning”.
Do not wash the slicer in a dishwasher (Fig. n°27) or with water jets, do not immerge it in water or in other liquids.
Do not leave the slicer exposed to dama-ging agents: sun, rain, sprays, humidity, ice (Fig. n° 28).
Do not pull the slicer or the feeding cable (Fig. n°29) to unplug it.
Regularly check the state of the feeding cable; a worn out cable or in any case not intact represents a serious electrical dan-ger.
If the machine remains unused for long periods of time, before using it again have it checked by a “Service Center”.
If the slicer should show signs of malfunctioning it is advisable to turn it off and to not use it, to not directly intervene for repairs, and to contact the “Service Center”, shown on the back of this manual.
Do not leave the slicer uselessly plugged in.
Unplug the machine when it is not being used.
Even if safety devices are installed on dangerous points of the machine, avoid placing hands near the blade and other moving parts.
Never cut the product, by now finished, without the aid of the goods pressing arm.
Do not assume positions that bring bo-dy parts in direct contact with the bla-de.
CHAP. 4 – GETTING TO KNOW THE SLICER
4.1 – CONSTRUCTION FEATURES
The slicer is made of an anodized alluminum alloy (alloy AlMg3). It guarantees contact with food-stuffs (hygienic) and is resistant to acids and salts apart being highly resistant to oxidation.
The blade is in 100 Cr6 rectified, chromium-plated and hardened steel assuring a precise and net cut of the product even after being sharpened. Most of the other components pre-sent are made of:
- ABS plastic suitable for contact with foodstuffs;
- AISI steel;
- aluminium.

LEGEND:
| 1 Sharpener handgrip 2 Sharpener 3 Thickness gauge plane 4 Handguard 5 Push-button panel 6 Foot 7 Graduated handgrip 8 Stem 9 Stem knob 10 Goods holder plate | 11 Blade protection 12 Base 13 Extract able pin 14 Blade cover 15 Goods presser 16 Goods presser hand-grip 17 Blabe cover tie rod knob 18 Lifeguard 19 Thickness gauge plane sharpener hand-grip 20 Thickness gauge plane sharpener |
4.2 – SAFETY DEVICES INSTALLED ON THE MACHINE
4.2.1 – Mechanical safety
As far as mechanical safety is concerned, the slicer described in this manual responds to: – CEE 2006/42 machine directives.
Safety is made possible by the:(Fig. n°31 )
- Thickness gauge plane (ref. n°1);
- Ring (ref. n°2);
- Sharpener (ref. n°3);
- Goods presser (ref. n°4);
- Goods presser handspring (ref. n°5);
- Hand-guard (ref. n°6);
- Trolley transported only when thick-ness gauge plane is at “0”, at the end of the run and towards operator side.

4.2.2 – Electrical safety
As far as electrical safety is concerned, the slicer described in this manual responds to:
- the 2014/35/UE low tension directive;
- the electromagnetic compatibility directive 2004/30/UE.
The slicer is therefore provided with:
- a microswitch on the bladecover that causes the machine to stop in case of the removal of the blabe cover tie rod, and prohibits it from turning on if the device is not closed
(Fig. n° 32); - A relay in the control circuit, that requires the machine to start up again in case of an accidental loss of electricity (Fig. n°33).

Even though the professional CE slicers are equipped with the standard mea-sures for electrical and mechanical protection (both while operating and during cleaning and main-tenance), RESIDUAL
RISKS which cannot be completely eliminated in any case exist, highlighted in this manual under the form of WARNING. They concern the danger of cutting, bruising and other caused by the blade or by other machine parts.
4.3 – DESCRIPTION OF THE MACHINE
Professional CE slicers have been designed and made by our company with the precise purpose of cutting food products (like salami, meats and vegetables) and they guarantee:
- maximum safety in use, cleaning and maintenance;
- maximum hygiene, thanks to a meticulous selection of materials that come in contact with the food products, and with the elimination of the edges in the parts of the slicer that come into contact with the product, in a way that it can be easily and totally clea-ned not to mention easily disassembled;
- maximum cutting precision thanks to the cam mechanism;
- all components are robust and stable;
- maximum silence thanks to the belt transmissions;
- very easy to handle.
4.4 – OVERALL DIMENSIONS, WEIGHT, FEATURES … 
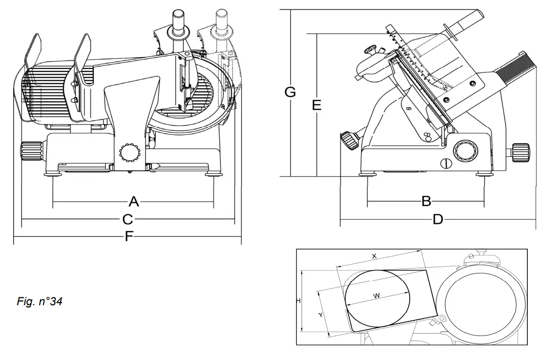
TAB. n°1 – DIMENSION MEASUREMENTS AND TECHNICAL FEATURES
| Model | UU | mod. 300 – 330 – 350 | ||
| Diameter blade | mm | 300 | 330 | 350 |
| Motor | Watt/Hp | 275/0,37 | 275/0,37 | 370/0,50 |
| Cut thickness | mm | 23 | 23 | 23 |
| Run of carriage | mm | 310 | 310 | 310 |
| Hopper | mm | 305×270 | 305×270 | 305×270 |
| A x B | mm | 465×340 | 465×340 | 465×340 |
| CxDxE | mm | 615x547x465 | 645x570x455 | 660x575x455 |
| FxDxG | mm | 710x547x545 | 710x570x535 | 710x575x530 |
| X Y H W | mm | 270190240220 | 270210260240 | 270225275250 |
| Net weight | Kg | 35 | 36 | 37 |
| Power source | 1 ph 3ph | 230V / 50 Hz 230-400V / 50 Hz | ||
| Noise level | dB | 60,± | ||
WARNING:
The electrical features of the machine are shown on a plate on the back of the machine.
CHAP. 5 – MACHINE USE
5.1 – OPERATIONAL CHECK
For the 1° use follow these instructions:
- check that installation has been carried out correctly as in chapter 2;
- check that the plate is well fastened with the lock handgrip (Fig. n°35 ref.1);
- check the sliding of the plate and that it is free of obstacles on the work counter for all of its run (Fig. n°36 ref.a);
- check that the goods pressing arm easily rises and lowers so that it is not impeded in all its movement (Fig. n°36 ref.b);

- check the opening of the thickness gauge plane by making the numbered handgrip turn clockwise and counterclockwise (Fig. n°37 ref.c);

- check that the sharpener is well fastened to the machine and that it is easy to extract and free of obstacles (Fig. n°38 ref.d).
5.2 – LOADING AND CUTTING THE PRODUCT
WARNING: The goods to be cut are loaded on the plate only with the graduated handgrip at “0” and the motor stopped, being careful with the blade and the points.
Adhere to the following procedure:
- Lift the goods presser, load the goods on the plate, bringing it close to the thi-ckness gauge, block it with the proper toothed arm;
- regulate the desired thickness of the cut with the graduated handgrip;
- assume a correct position to avoid acci-dent: place the right hand on the goods presser handgrip and, then the left hand next to the slice guard to take the cut product (without touching the blade); the body must be perpendicular to the work plane (Fig. n°39).
WARNING: Do not assume positions which bring body parts in direct contact with the blade (ex. Fig. n°40); - then push the “ON” push-button;
- push the carriage (plate + goods pres-ser arm + stem) gently towards the bla-de, without applying excessive pressure on the product with the goods presser arm. The goods will easily enter the bla-de, and the slice guided by the proper sliceguard will detach and fall on the plane (Fig. n°40);

- avoid running the slicer when empty ;
- at the end of the cutting operation, stop the machine by putting the switch in the “OFF” position and put the graduated handgrip at “0”;
- after slicing, do not leave the food lying on the product. Store the food that has just been sliced in a place suitable for its preservation;
- Carry out resharpening the blade as soon as the cut product has a threaded or rough surface, therefore the cutting effort increases (chapter 5.3).

5.3 – SHARPENING THE BLADE
WARNING: Before starting to sharpen the blade, pay attention to RESIDUAL RISKS (chapter 4.2.2) concerning the dangers of cutting without having followed the in-structions listed below.
To sharpen the blade, which needs to be done periodically as soon a decrease in cutting is noticed, the following directions must be adhered to:
- disinsert the plug from the outlet and carefully clean the blade with denatured alcohol so it is degreased;
- lift (a) the sharpener (1) and turn it 180°(b Fig. n°43);

- let it go in a way that the sharpener (c) fits on the locator pins (d Fig. n°43);

- check also that the blade stays between the two grinders;
- insert the pin and start the machine, by pressing the “ON” push-button;
- press the push-button (2 Fig.n°44), let the blade rotate in contact with the grin-der for about 30/40 sec. so that a slight burr forms on the blade edge;
- press the 2 push-buttons (1 and 2) contemporaneously for 3/4 sec. and relea-se them in the same instant (Fig. n°45); after
- having completed the sharpening it is advisable to clean the grinders and the blade (chapter 6.2.3);
- once the operation is finished, replace the sharpening device in its original position, doing the procedure in rever-se.

N.B.: Do not carry on the deburring operation for more than 1-2 sec. to avoid the damaging bending of the blade edge.
CHAP. 6 – ROUTINE CLEANING
6.1 – GENERALITIES
Cleaning the machine must be carried out at least once a day or, if necessary, more fre-quently .
All the parts of the slicer that come in direct or indirect contact with the food to be cut must be scrupulously cleaned.
The slicer must not be cleaned with water cleaning machines or water jets, but with the product provided and/or with neutral detergents (pH 7). The use of any other detergent is prohibited. Utensils, brushes and whatever else could damage the machi-ne surface must not be used.
Before carrying out any cleaning operation it is necessary to:
- disconnect the plug from the electrical network to completely isolate the machine from the rest of the system;
- Bring the graduated handgrip which regulates the thickness gauge to “0”. WARNING: Be careful of residual risks from sharp and/or pointed parts.
6.2 – CLEANING THE MACHINE
6.2.1 – Cleaning the goods holder plate
The trolley (plate + arm + stem) is easily transportable:
- bring the graduated handgrip to “0” (1 Fig. n°46);
- bring the trolley (2) to the end of its run (a) from the controls side; partially unscrew the plate lock handgrip (3), pull the trolley towards the operator; completely unscrew the plate lockhandgrip, therefore lift the trolley up (b -Fig. n° 46);
- having taken off the trolley, the goods holder plate can be carefully cleaned with warm water, the equipped detergent or neutral detergent (pH 7) Fig. n°47.

6.2.2 – Cleaning the blade, the blabe cover and the ring
WARNING: a pair of metallic gloves must be worn while cleaning the blade (1) (Fig. n°48) ed utilizzando un panno umido.and a damp cloth must be used.
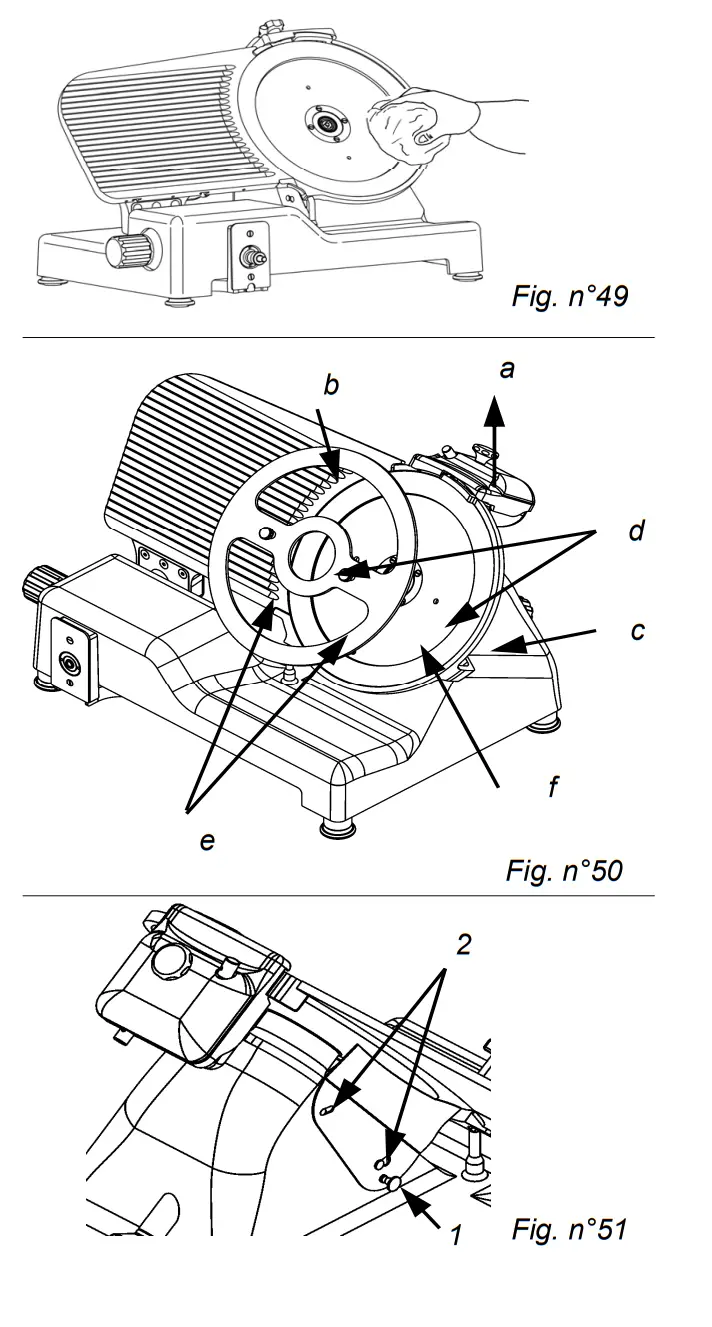
Unscrew the handgrip from the bladecover tie rod (1) and extract the bladecover (2) using the proper grip to hold it (Fig. n°48). At this point it is possible to clean the blade a Fig. n°49. To clean the surfaces opposite the blade and the ring, the blade must be extracted in the following way:
- unhook the blabe cover (Fig. n°48);
- take out the sharpening device (Fig. n°50 ref.a) and open, by using the graduated handgrip, the thickness gauge enough to make the jig (Fig. n°50 ref.b) stick to the blade;
- unscrew the three or four screws i (Fig. n° 50 ref.f), depending on the model, which fasten the blade;
- rest the jig (b) on the blade, so that the split in the jig fits in the ring (Fig. n°48 ref.c);
- match the axes of the two holes (Fig. n°50 ref.d) on the blade with the twoknobs (Fig. n° 50 ref.e) on the jig, simply making the blade turn to the desired position;
- screw the two knobs (e) without excessively tightening them.

N.B. The blabe cover must be cleaned with warm water, the equipped detergente or with neutral detergent (pH 7).
6.2.3 – Cleaning the sliceguard (Fig. n°51)
To remove the sliceguard simply grasp the handgrip (1) and pull up so that the two pins unhook (2), and then extract the sliceguard. At this point clean the sliceguard with warm water, the equipped detergent or with neutral detergent (pH 7).
6.2.4 – Cleaning the sharpener
To clean the sharpener it is necessary to adhere to the following instructions:
- lift (a) the sharpener up to the top;
- loosen the knob (1);
- lift (b) the cup (2) and extract it so that the knob (1) passes through the larger opening in the cup (2);
- rub the grinders with a brush, while cleaning the other components with warm water, the equipped detergent or with neutral detergent (pH 7).

6.3 – SLIDE GUIDES LUBRICATION
The slide guides on the carriage (1-2) must lubricated periodically with the equipped oil (a).
CHAP. 7 – MAINTENANCE
7.1 – GENERALITIES
Before carrying out any maintenance operations it is necessary to:
a) disconnect the feed plug from the electrical network to completely isolate machine from the rest of the system.
b) bring the graduated handgrip which regulates the thickness gauge to “0”. 7.2 – BELT
The belt does not need to regulated. Generally after 3/4 years it must be replaced, in this case call the “SERVICE CENTER”. 7.3 – FEET
The feet could deteriorate in time and lose their elasticity, therefore decreasing the stability of the machine. Replace them by calling the “SERVICE CENTER”.
7.4 – FEEDING CABLE
Periodically check the state of wear and tear of the cable and call the “SERVICE CENTER” for its replacement.
7.5 – BLADE
Check that the diameter of the blade, after many sharpenings, has not been reduced more than 10 mm. compared to the original diameter. For its replacement call the
“SERVICE CENTER”.
7.6 – GRINDERS
Check that the grinders continue to have their abrasive property during the sharpening. When they are no longer abrasive they must be replaced as to not damage the blade, therefore call the “SERVICE CENTER”.
7.7 – SLIDING GUIDES LUBRICATION
Occasionally put a few drops of oil (from the tube that is provided) on the round bar that the trolley slides back and forth on, through the hole (OIL) located on the side of the graduated handgrip.
7.8 – PUSH-BUTTON PANEL
The push-button panel label can be marked and/or consumed with time. In such a case call the “SERVICE CENTER” to replace it.
CHAP. 8 – DISMANTLING
8.1 – OUT OF SERVICE
If for some reason it is decided to put the machine out of service, make sure that it cannot be used by anyone: detach or cut the electrical connections.
8.2 – WEEE Waste of Electric and Electronic Equipment
Directive 2002/95/EC, 2002/96/EC and 2003/108/EC on the restriction of the use of certain hazardous substances in electrical and electronic equipment, and waste lectrical and electronic equipment
This symbol, crossed out wheelie bin, on the product or on its packaging indicates that this product must not be disposed of with your other household waste. Separate waste collection of this appliance is organised and managed by the manufacturer. It is the user’s responsibility to contact the manufacturer and follow the waste treatment system the manufacturer has adopted for separate waste collection.
The separate collection and recycling of your waste equipment at the time of disposal will help to conserve natural resources and ensure that it is recycled in a manner that protects human health and the environment. (see chap. 4 par. 4.1).
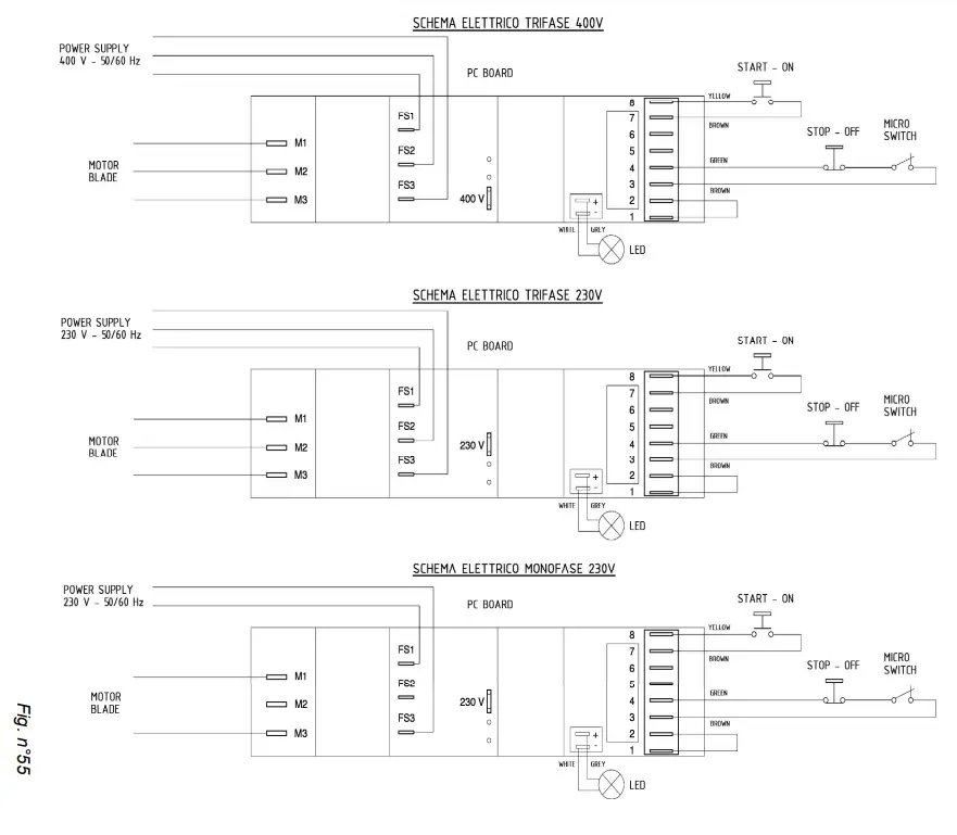
CAP. 9 – ELECTRICAL DIAGRAM
9.1 – 115 V. – 230V. SINGLE-PHASE – 230V. THREE-PHASE – 400V. THREE-PHASE 
SERVICE CENTRE AUTHORIZED DEALER



WARNING: Do not assume positions which bring body parts in direct contact with the blade (ex. Fig. n°40);
























