H Koenig MSX252 Meat Slicer 
SAFETY INSTRUCTION
PLEASE READ AND KEEP THIS INSTRUCTION
Please read this user instruction carefully before connecting the appliance to prevent damage
due to improper use. Take particular care of the paragraphs with the safety and danger symbols. Operators should be trained in the dangers associated with the use and cleaning of slicers and with the precautions to be observed.
IMPORTANCE OF THE INSTRUCTION
- The instruction is integral part of the machine. It includes important information regarding safety and dangers, pointed out with symbols.
- The information included will allow you to use the machine in perfect safety conditions and to have a result of maximum satisfaction
- The aim of this instruction is to provide the customer with as much information as possible about our food slicer and with the instructions for its use and maintenance in order to keep it working efficiently.
- This instruction should be given to those responsible for the use and periodical maintenance of the slicer.
- The instruction should be kept in good condition and stored in an easily accessible place for rapid reference.
- The slicers are subjected to revision and may, therefore, bear details differing from those shown; this possibility has no effect on the information in this instruction.
WARNING: PRECAUTIONS TO BE TAKEN
- To protect against any risk of electrical shock, do not put the appliance in water or in any other liquid. Do not clean the machine using a lot of water.
- Unplug when the appliance is not in use. Remove the plug before the maintenance and disassembly operations for the cleaning of the protections.
- Always use completely assembled slicers with food tray and food holder arm and with all the protections. Do not use the machine with the protections removed.
- Avoid contacting moving parts.
- Never push food by hand.
- Blade is sharp, handle carefully when cleaning.
- Do not use any appliance with a damaged cable or plug.
- Return appliance to the nearest authorized service facility for examination and all possible and necessary electrical or mechanical adjustments.
- The use of spare-parts not recommended or sold by manufacturer may cause fire, electric shock or injury.
- Do not use outdoors.
WARNINGS AND SAFETY RULES
The maker declines all responsibility in the case of improper use of the machine.
- Do not use the food slicer for frozen food, boned meat, vegetables or anything other than foodstuffs.
- Periodically check the state of the cable; should it be damaged, it must be replaced by qualified staff.
- Do not submerge the food slicer in water when cleaning.
- The slicer has not to be washed by jet of water.
- Do not use extension cables.
- Do not unplug by pulling the cable.
- Do not use the machine with wet hands or bare feet.
- Put the slicer distant from sources of heat.
- Do not put the hands near the parts in movement even if there are safety devices. Even though the machine is equipped with safety devices, keep your hands away from the blade and moving parts.
During maintenance or cleaning operations (therefore, having removed the protections), the remaining risks should be carefully considered. Before carrying out any maintenance operation, unplug the machine and make sure that the graduated knob is in “0” position. Remove the knife guard periodically, unscrewing the screw (in the centre of the knife guard), then clean both the blade and the inside of the knife guard with alcohol or warm water. - The device must not be used if it has been dropped, it obvious signs of damage are visible or if it has leaks.
- Keep the appliance and its power cord out of reach of children under 8 years of age.
- When using electrical equipment, safety precautions must always be taken to prevent the risk of fire, electric shock and/or injury in the event of misuse.
- Never leave the unit unattended while in operation.
- Cleaning and maintenance should not be carried out by children unless they are at least 8 years of ageand are supervised by an adult
- This appliance may be used by children of at least 8 years of age, as long as they are supervised and have been given instructions about using the appliance safely and are fully aware of the dangers involved.
- When using electrical equipment, safety precautions must always be taken to prevent the risk of fire, electric shock and/or injury in the event of misuse.
- Make sure that the voltage rating on the typeplate corresponds to your main voltage of your installation. If this is not the case, contact the dealer and do not connect the unit.
- Please keep this document at hand and give it to the future owner in case of transfer of your device.
Warning
- This appliance may be used by persons with reduced physical, sensory or mental capabilities or lack of experience or knowledge, provided that they are supervised or instructed in the safe use of the appliance and that they fully understand the potential hazards. This operation must be carried out with the utmost care as it concerns a cutting device.
- The machine and all its parts should be cleaned with soft cloths moistened with standard neutral detergents.
- Use soft cloths for drying.
- Do not operate this appliance if it has a damaged cord or plug, if it is not working properly or if it has been damaged or dropped. If the supply cord is damaged, it must be replaced by the manufacturer or its service agent or a similarly qualified person in order to avoid a hazard.
- Your appliance has been designed for domestic use only.
It is not intended for use in the following situations which are not covered by the warranty:- in staff kitchen areas in shops, offices and other professional environments,
- in farm hostels,
- by guests in hotels, motels and other residential environments,
- in bed and breakfast type environments.
MAINS VOLTAGE
Before plugging in, check that the mains voltage corresponds to the voltage indicated on the food slicer (data plate). The power supply shall have overloading protection to this appliance.
Make sure the connection cannot result in tripping over or falling.
INSTRUCTIONS FOR USE
- Once unwrapped, place it so that the on/off switch is in front of the operator.
- Check the graduated knob on position “0”, plug in, switch on, check the blade turn fluently, check the sound of blade turning, check the “on” indicator works well. Switch off, check the blade stop working.
- Regulate the thickness of the slice desired by turning the graduated knob.
- Place the food to be sliced on the sliding carriage pushing against the food holder arm facing the blade, making sure that the food is resting against the movable bulkhead.
- Switch on, thus activating the blade.
- After use, turn the graduated knob back to position “0”.
The food grip should not be removed unless the shape and size of the food does not allow its use.
TRANSPORT – HANDLING – STORAGE
- The machine is packed in a cardboard box with plugs inserted.
- The packaging is proper to travel by all means of transport.
- It can be put a carton on another for a maximum of 3-4 cartons.
- The packaging must be: kept dry.
- The appliance weight more than 15kg, it must be handled by 2 person carefully.
- When on pallets, handle only with traspallets or electric lifters.
INSTALLATION
It is recommended that operating personnel should be instructed during installation by a representative of the manufacturer or the supplier of the slicer.
Environmental conditions:
- Temperature Minimum/ Maximum : + 8 °C/ + 38 °C
- Moisture Minimum/ Maximum : 30% / 80%
- The slicer has to be put on a stable support to avoid its moving.
- The cable has to be connected to avoid to trip or to slide.
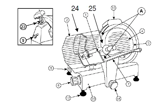
- Assemble the sharper group(10), thumb protection device(24), round protection handle(25) in place. The parts can protect user. When take away the sharper group, don’t work any more, because of dangerous sharpen blade. When the holder pushing device (24) is not in place , don’t use the appliance to slice meat that has not been deboned and other non food products.
- There is a micro switch on the knife guard blockage knob(9), when the knob is turned off, the machine will stop working automatically. It ensure the safety of user. Please see below picture.
Levelling
Check that the movable bulkhead (2) with the graduated Knob (6) in “0” position is aligned to the blade in the zone (A).
If it is not aligned act on the feet (12) unscrewing or screwing the right one.
Necessary space for use.
Part Number
- Food holder arm
- Movable bulkhead
- Blade
- Knife guard
- On/Off switch
- Graduated knob
- Sliding carriage or sliding food tray
- Knife guard blockage knob
- Sharpener group
- Feet
- 15. Food tray fixing knob (BLC)
- 22. Blockage food tray / movable bulkhead (BLC) hole
- 23. Sharpener group blockage knob
- 24. thumb protection device
- 25. round protection handle
MACHINE CLEANING AND MAINTENANCE
- Before making the cleaning operation, remove the plug from the current socket and make sure that the graduated knob (6) is in position “0”. The gauge plate or guard plate shall be closed during the cleaning of the blade;
- Do not use jets of water.
- Do not use brushes that can deteriorate the surface of the machine.
- Use a soft cloth moistened with a normal neutral detergent (see for example the type included in the accessories box).
- Do not move the machine to clean it. There are available and it is recommended to use the proper anti-cut gloves to act where there is danger of cut.
As you can notice, the slicer has been realized taking into the maximum consideration the easiness, the swiftness and the perfect possibility of cleaning it in all its parts. The cleaning of the machine has to be made at least once a day or with more frequency if necessary (by each change of the type of product), paying attention to make a scrupulous cleaning of all the surfaces which are in contact with food to be sliced.
If the appliance is dirty, please clean the appliance.
If the slicer stop slicing, it may caused by overheated motor, please return appliance to the nearest authorized service facility for examination. It is not necessary to disassemble the blade for cleaning as it could be cleaned in all its parts without having to disassemble it.
- Use anticutting gloves.
Disassembly of the blade-cover (4). - Loosen the knob (9) unthread it and remove the blade-cover disk (4).
- Clean the blade (3) on both faces as indicated in the drawing.

If the sliding carriage stops sliding smoothly, lay the machine on its side.
Cleaning the slide bar (29) and lubricate it with Vaseline or industrial oil. 
BLADE SHARPENING
If the appliance does not slice well and blade is blunt, blade should be sharpened by qualified staff. 
N.B. it should be noted that the blade is highly resistant, therefore it needs to be sharpened only when the capacity of cut decreases. The gauge plate or guard plate shall be closed on slicers with an integral blade sharpener during the sharpening operation.
- Unplug.
- Check that the movable bulkhead is closed (graduated knob (6) in position “0”).
- Carefully clean the part of the blade to be sharpened.
- Reinsert the plug.
- Loosen the locking knob (23) of the sharpener group (10).
- Raise the sharpener group (10), turning it by 180° so that both wheels are in working position. See Fig. 1.
- Lower the sharpener group (10) until it locks.
- Secure the group by turning the locking knob (23). See Fig. 2.
- Switch on.
- Press button (26) and let the blade turn for about 1 minute. When the blade is still, check to see if any burr has formed on the edge.
- After having verified the presence of burr, switch (5) on and gently press button (27) for about 3 seconds to remove the burr produced during sharpening. Put the graduated knob (6) back to “0” position.
- After sharpening, move the sharpener group (10) back to its original position, see Fig. 3 and clean the edge of the blade and the wheels by alcohol.
- After several sharpening operations, remove any residue from the sharpening wheel with alcohol and a brush.
BLADE REPLACING
The blade has to be replaced when it is no more possible to sharpen it or when the distance between the cutting part of the blade and the blade protector is more than 6 mm. Return appliance to the nearest authorized service facility to replace the blade.
WARRANTY
The warranty period for our products is 2 years unless otherwise stated, starting from the date of initial purchase or the date of delivery.
If you have any problems or questions, you can easily access our help pages, troubleshooting tips, FAQ, and user manuals on our service site: https://sav.hkoenig.com.
By typing the reference name of your device in the search bar, you can access all available online support, designed to best meet your needs.
If you still cannot find an answer to your question or problem, then click on “Did the answer solve your problem?”. This will direct you to the Customer Support Request Form, which you can fill out to validate your request and get help.
WARRANTY CONDITIONS
The warranty covers all failures occurring under normal use, in accordance with the usage and specifications in the user’s manual.
This warranty does not apply to packaging or transportation problems during the shipment of the product by the owner. It also does not include normal wear and tear of the product, nor maintenance or replacement of consumable parts.
EXCLUSION OF WARRANTY
- Accessories and wearing parts (*).
- Normal maintenance of the device.
- All breakdowns result from improper use (shocks, failure to comply with power supply recommendations, poor conditions of use, etc.), insufficient maintenance or misuse of the device, as well as the use of unsuitable accessories.
- Damage of external origin: fire, water damage, electrical surge, etc.
- Any equipment that has been disassembled, even partially, by persons other than those authorized to do so (notably the user).
- The products whose serial numbers would be missing, deteriorated or illegible would not allow its identification.
- The products subject to leasing, demonstration, or exhibition.
(*) Some parts of your device, called wear parts or consumables, deteriorate with time and frequency of use of your device. This wear and tear are normal but can be accentuated by poor conditions of use or maintenance of your device. These parts are therefore not covered by the warranty.
The accessories supplied with the device are also excluded from the warranty. They cannot be exchanged or refunded. However, some accessories can be purchased directly through our website: https://sav.hkoenig.com/.
ENVIRONMENT
CAUTION:
Do not dispose of this product as it has with other household products. There is a separation of this waste product into communities, you will need to inform your local authorities about the places where you can return this product. In fact, electrical and electronic products contain hazardous substances that have harmful effects on the environment or human health and should be recycled. The symbol here indicates that electrical and electronic equipment should be chosen carefully, a wheeled waste container is marked with a cross.
Adeva SAS / H.Koenig Europe – 8 rue Marc Seguin, 77290 Mitry-Mory, France www.hkoenig.com – https://en.hkoenig.com – Tél: +33 1 64 67 00 05






















