JENSEN® Bluetooth® 3 Speed Stereo Turntable 3 CD Changer

Specifications
- Product Dimensions
15.04 x 12 x 16.14 inches - Item Weight
27.5 pounds - Batteries
2 AAA batteries - Connectivity Technology
Wireless - Material
Music - Motor Type
DC Motor - Signal Format
Digital - Voltage
120 Volts - Brand
Jensen
Introduction
Jensen can offer you an all-inclusive music solution. Your record collection can be played on this system’s 3-speed stereo turntable, 3-CD changer, and auto-stop dual cassette deck. The player is compatible with MP3, CD, and CD-R/RW if you wish to listen to digital music and mix CDs. You can listen to the radio with an AM/FM stereo receiver that features PLL digital tuning. You can modify different audio channels using a preset EQ with five modes. Finally, this system supports playing audio using the A2DP and HFP protocols provided you have a Bluetooth 3.0 device. There are a tonne of choices.
WARNING
TO PREVENT FIRE OR SHOCK HAZARDS, DO NOT USE THIS PLUG WITH AN EXTENSION CORD, RECEPTACLE, OR OTHER OUTLET UNLESS THE BLADES CAN BE FULLY INSERTED TO PREVENT BLADE EXPOSURE. TO PREVENT FIRE OR SHOCK HAZARDS, DO NOT EXPOSE THIS APPLIANCE TO RAIN OR MOISTURE.

The Caution Marking is located at the back enclosure of the apparatus. The Rating plate is located at the back enclosure of the apparatus
IMPORTANT SAFETY INSTRUCTIONS
- Read these instructions.
- Keep these instructions.
- Heed all warnings.
- Follow all instructions.
- Do not use this apparatus near water.
- Clean only with dry cloth.
- Do not block any ventilation openings. Install in accordance with the manufacturer’s instructions.
- Do not install near any heat sources such as radiators, heat registers, stoves, or other apparatus (including amplifiers) that produce heat.
- Do not defeat the safety purpose of the polarized or grounding-type plug. A polarized plug has two blades one wider than the other. A grounding-type plug has two blades and a third grounding prong. The wide blade or the third prong is provided for your safety. If the provided plug does not fit into your outlet, consult an electrician for the replacement of the obsolete outlet.
- Protect the power cord from being walked on or pinched particularly at plugs, convenience receptacles, and the point where they exit from the apparatus.
- Only use attachments/accessories specified by the manufacturer.
- Use only with a cart, stand, tripod, bracket, or table recommended by the manufacturer, or sold with the product. When a cart is used, use caution when moving the cart/apparatus combination to avoid injury from tip-over.
- Unplug this apparatus during lightning storms or when unused for long periods of time.
- Refer all servicing to qualified service personnel. Servicing is required when the apparatus has been damaged in any way, such as power-supply cord or plug is damaged, liquid has been spilled or objects have fallen into the apparatus, the apparatus has been exposed to rain or moisture, does not operate normally, or has been dropped.
- This appliance shall not be exposed to dripping or splashing water and no object filled with liquids such as vases shall be placed on the apparatus.
- Do not overload wall outlet. Use only power source as indicated.
- Use replacement part as specified by the manufacturer.
- Upon completion of any service or repairs to this product, ask the service technician to perform safety checks.
- Power Sources – This product should be operated only from the type of power source indicated on the marking label. If you are not sure of the type of power supply to your home, consult your product dealer or local power company. For products intended to operate from battery power, or other sources, refer to the operating instruction.
- Object and Liquid Entry – Never push objects of any kind into this product through openings as they may touch dangerous voltage points or short-out parts that could result in a fire or electric shock. Never spill liquid of any kind on the product.
- Damage Requiring Service – Unplug this product from the wall outlet and refer servicing to qualified service personnel under the following conditions:
When the power-supply cord or plug is damaged,
If liquid has been spilled, or objects have fallen into the product,
If the product has been exposed to rain or water,
If the product does not operate normally by following the operating instructions. Adjust only those controls that are covered by the operating instructions as an improper adjustment of other controls may result in damage and will often require extensive work by a qualified technician to restore the product to its normal operation.
If the product has been dropped or damaged in any way, and
When the product exhibits a distinct change in performance – this indicates a need for service. - The main plug is used as a disconnect device and it should remain readily operable during intended use. In order to disconnect the apparatus from the mains completely, the mains plug should be disconnected from the mains socket outlet completely.
- The battery shall not be exposed to excessive heat such as sunshine, fire, or the like.
- Excessive sound pressure from earphones and headphones can cause hearing loss.
This symbol indicates that this product incorporates double insulation between hazardous mains voltage and user-accessible parts.
CAUTION
TO PREVENT ELECTRIC SHOCK, MATCH WIDE BLADE OF AC PLUG TO WIDE SLOT. FULLY INSERT.

COMPLIANCE WITH FCC REGULATIONS
This device complies with Part 15 of the FCC Rules. Operation is subject to the following two conditions
- This device may not cause harmful interference, and
- This device must accept any interference received, including interference that may cause undesired operation.
This equipment has been tested and found to comply with the limits for a Class B Digital Device, pursuant to Part 15 of the FCC Rules. These limits are designed to provide reasonable protection against harmful interference in a residential installation. This equipment generates, uses and can radiate radio frequency energy and, if not installed and used in accordance with the instructions, may cause harmful interference to radio communications. However, there is no guarantee that interference will not occur in a particular installation. If this equipment does cause harmful interference to radio or television reception, which can be determined by turning the equipment off and on, the user is encouraged to try to correct the interference by one or more of the following measures:
- Reorient or relocate the receiving antenna.
- Increase the separation between the equipment and receiver.
- Connect the equipment into an outlet on a circuit different from that to which the receiver is connected.
- consult the dealer or an experienced radio/TV technician for help.
WARNING
Changes or modifications to this unit not expressly approved by the party responsible for compliance could void the user’s authority to operate the equipment.

Follow the advice below for safe operations.
ON PROTECTION AGAINST LASER ENERGY EXPOSURE
- As the laser beam used in this compact disc player is harmful to the eyes, do not attempt to disassemble the casing.
- Stop operation immediately if any liquid or solid object should fall into the cabinet. Do not touch the lens or poke at it. If you do, you may damage the lens and the player may not operate properly.
- Do not put anything in the safety slot. If you do, the laser diode will be ON when the CD door is still open.
- If the unit is not to be used for a long period of time, make sure that all power sources are disconnected from the unit. Remove all batteries from the battery compartment.
- This unit employs a laser. The use of controls or adjustments or performance of procedures other than those specified here may result in exposure to hazardous radiation.
Should any trouble occur, remove the power source and refer servicing to qualified personnel.
PROTECT YOUR FURNITURE
This system is equipped with non-skid rubber ‘feet’ to prevent the product from moving when you operate the controls. These ‘feet’ are made from non-migrating rubber material specially formulated to avoid leaving any marks or stains on your furniture. However certain types of oil-based furniture polishes, wood preservatives, or cleaning sprays may cause the rubber ‘feet’ to soften, and leave marks or a rubber residue on the furniture.
To prevent any damage to your furniture we strongly recommend that you purchase small self-adhesive felt pads, available at hardware stores and home improvement centers everywhere, and apply these pads to the bottom of the rubber ‘feet’ before you place the product on fine wooden furniture.
DEAR JENSEN® CUSTOMER
Selecting fine audio equipment such as the unit you’ve just purchased is only the start of your musical enjoyment. Now it’s time to consider how you can maximize the fun and excitement your equipment offers. This manufacturer and t h e Electronic Industries Association’s Consumer Electronics Group want you to get the most out of your equipment by playing it at a safe level. One that lets the sound come through loud and clear without annoying blaring or distortion and, most importantly, without affecting your sensitive hearing. Sound can be deceiving. Over time your hearing “comfort level” adapts to higher volumes of sound. So what sounds “normal” can actually be loud and harmful to your hearing. Guard against this by setting your equipment at a safe level BEFORE your hearing adapts.
To establish a safe level
- Start your volume control at a low setting.
- Slowly increase the sound until you can hear it comfortably and clearly, and without distortion.
- Once you have established a comfortable sound level: Set the dial and leave it there.
Taking a minute to do this now will help to prevent hearing damage or loss in the future. After all, we want you to listen for a lifetime.
We Want You Listening For a Lifetime
Used wisely, your new sound equipment will provide a lifetime of fun and enjoyment. Since hearing damage from loud noise is often undetectable until it is too late, this manufacturer and the Electronic
Industries Association’s Consumer Electronics Group recommends you avoid prolonged exposure to excessive noise.
Customer’s Record
The serial number of this product is found on its bottom cover. You should note the serial number of this unit in the space provided as a permanent record of your purchase to aid in identification in the event of theft or loss.

LOCATION OF CONTROLS


- DUST COVER
- LCD DISPLAY
- VOLUME UP/DOWN BUTTON
- X-BASS BUTTON
- STANDBY LED INDICATOR
- FM MODE / DUBBING SPEED SELECTOR
- POWER ON/STANDBY BUTTON
- STOP
- REP/RAN BUTTON
- CD BUTTON
- SLEEP/TIMER BUTTON
- SKIP / TUNE DOWN
- -10 / PRE-DN BUTTON
- MEM/CLK-ADJ BUTTON
- CASSETTE DOOR (1)
- DECK 1 CONTROL KEY
RECORD KEY
PLAYBACK KEY
REWIND KEY
FAST FORWARD KEY
STO/EJECT KEY
PAUSE KEY - CD DOOR
- BLUETOOTH INDICATOR
- HEADPHONE JACK
- REMOTE SENSOR
- PRE-SET EQ BUTTON
- PLAY/PAUSE BUTTON
- DISC SKIP BUTTON
- PHONO/BLUETOOTH/AUX BUTTON
- TUNER/BAND BUTTON
- TAPE BUTTON
- CD DOOR OPEN/CLOSE BUTTON
- SKIP / TUNING UP BUTTON
- +10 / PRE-UP BUTTON
- CASSETTE DOOR (2)
- DECK 2 CONTROL KEYS
PLAYBACK KEY
REWIND KEY
FAST FORWARD KEY STO/EJECT KEY
PAUSE KEY - SPINDLE ADAPTOR
- TURNTABLE SPEED SELECTOR
- AUTO STOP SWITCH
- PICK-UP HOLDER
- SPEAKER WIRE TERMINALS
- AUX IN JACK
- FM ANTENNA
- AC CORD
REMOTE CONTROL
BUTTON DESCRIPTION



BATTERY INSTALLATION
The battery compartment is located on the back of the remote control.
- Remove the battery compartment door by pressing in on the tab and lifting it off.
- Insert two AAA-size batteries (not included) into the battery compartment following the polarity markings inside the battery compartment.
- Replace the battery compartment door.

BATTERY WARNING
- Be sure that the batteries are installed correctly. The wrong polarity may damage the unit.
- Use only the size and type of batteries specified.
- Do not mix old and new batteries.
- Do not mix alkaline, standard (carbon-zinc) or rechargeable (nickel-cadmium) batteries.
- If the unit is not to be used for an extended period of time, remove the batteries. Old or leaking batteries can cause damage to the unit and may void the warranty.
- Do not try to recharge batteries not intended to be recharged; they can overheat and rupture. (Follow battery manufacturer’s directions).
- Do not dispose of batteries in fire, batteries may leak or explode.
GETTING STARTED
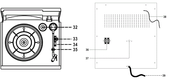
- Connect the speaker wires to the speaker terminals (#36) located on the back of the unit.
- Plug the AC POWER CORD (#39) into a 120V AC ~ 60Hz outlet.
- The unit will go into standby mode. The STANDBY LED INDICATOR (#5) will turn on.
- Press the POWER ON/STANDBY BUTTON (#7) once to turn on the JMC-1250. The STANDBY LED INDICATOR (#5) will turn off. Press POWER ON/STANDBY BUTTON (#7) again to turn off the JMC-1250. The STANDBY LED INDICATOR (#5) will turn on.
SETTING THE CLOCK
The clock has to be set before using the system for the first time. When you plug the system into an AC outlet for the first time, the LCD DISPLAY (#2) will show 12:00 and need to be set.
- Press MEMORY / CLOCK-ADJUST BUTTON (#14), and the Hour digits will flash. Press OR BUTTON (#12 or #28) to select the correct hour. Press the MEMORY / CLOCK-ADJUST BUTTON (#14) to confirm.
- The Minute digits will flash, Press OR BUTTON (#12 or #28) to select the correct minute. Press the MEMORY / CLOCK-ADJUST BUTTON (#14) to confirm.
- Press and hold the STOP BUTTON (#8) to change the 12/24 hours clock display.
Note
The clock settings may be lost if the main power switch is turned off. If this occurs, you will need to reset the clock.
LISTENING TO THE RADIO
- Press the POWER ON/STANDBY BUTTON (#7) to turn on the JMC-1250.
- Press the TUNER/BAND BUTTON (#25) repeatedly to enter tuner mode and desired band. The radio frequency will show on the LCD DISPLAY (#2).
- Press and hold the button (#28) or button (#12) to search for the next/previous available station. If the reception is poor, try Manual Tuning to fine-tune the station.
- Adjust the volume control to the desired volume level.
- Press the POWER ON/STANDBY BUTTON (#7) to turn the JMC-1250 to standby mode after listening.
Setting the Radio Station Presets
The JMC-1250 allows you to store up to 40 stations presets ( AM-20 and FM-20 ) for easy recall at any time.
- Press the POWER ON/STANDBY BUTTON (#7) to turn on the JMC-1250.
- Press the TUNER/BAND BUTTON (#25) repeatedly to enter tuner mode and select the FM band.
- Tune to the radio station you want to store in memory.
- Press the MEMORY / CLOCK-ADJUST BUTTON (#14), and the preset number “00” will be flashing on display.
- Press +10 / PRE-UP BUTTON (#29 or -10 / PRE-DN BUTTON (#13) to select the desired preset number ( 00–20 ).
- Press the MEMORY / CLOCK-ADJUST BUTTON (#14) to confirm.
- To store up to 20 station presets, repeat steps 3 to 6 above.
- Press the TUNER/BAND BUTTON (#25) repeatedly to enter tuner mode and select AM band.
- To store up to 20 station presets, repeat steps 3 to 6 above.
Note
- If no buttons are pressed after 5 seconds when setting the Radio Station Presets, the JMC-1250 will return to tuner mode
- The Radio Station Presets may be lost if the main power switch is turned off. If this occurs, you will need to reset the Radio Station Preset.
- You can overwrite a preset station by saving the new frequency in its place.
FM and FM Stereo Reception
- Release the FM Mode button (#6) to select Stereo Mode. The LCD display (#2) will show “ST” when receiving a stereo program.
- Press down the FM Mode button (#6) to select Mono Mode. The LCD display (#2) will not show “ST” even receiving a stereo program.
Note
It is preferable to receive the program in Mono Mode when you are receiving a weak station.
TIPS FOR BEST RECEPTION
AM
The AM antenna is located inside the cabinet of the main unit. If AM reception is weak, change the position of the cabinet until the internal antenna picks up the strongest signal,
FM
During FM reception, always keep the FM Wire Antenna (#38) fully extended. If FM reception is weak try repositioning the FM Wire Antenna until you find the strongest signal.
PHONO OPERATION
Noted
- Remove the stylus protector.
- Be sure that the tone arm is detached from the tone arm rest before operating and re-secured again afterward.

- Press the PHONO/BLUETOOTH/AUX BUTTON (#24) repeatedly to select Phono Mode. The LCD DISPLAY (#2) will show PHONO.
- Set the Speed selector (#33) to the proper position depending on the record to be played.
- Place the record on the platter; use the SPINDLE ADAPTOR (#32) when playing 45 RPM records.
- Lift the tone arm from the rest and slowly move it to the record side. The platter will start to rotate.
- Place the tone arm to the desired position of the record.
- Adjust the volume to the desired level.
- At the end of the record, the platter will automatically stop rotating. Lift the tone arm from the record and return it to the rest.
- To stop manually, lift the tone arm from the record and return it to the rest.

Remark
The auto-stop may not work on some records because the play area is out of the preset adjustment, so it may stop before the last track finishes. When this happens disable the auto-stop feature by placing the auto-stop switch (#34) in the “ off “ position, then it will run to the end of the record but will not stop automatically (turn off the unit by power button or switch back the auto-stop switch (#34) to “on“ position to stop the platter rotate). Then put back the tonearm to the rest position.
BLUETOOTH OPERATION
Pairing a Bluetooth-enabled device with the JMC-1250.
- Press the POWER ON/STANDBY BUTTON (#7) to turn on the JMC-1250.
- Press the PHONO/BLUETOOTH/AUX BUTTON (#24) repeatedly to select Bluetooth Mode. The LCD DISPLAY (#2) will show BT.
- The BLUETOOTH INDICATOR (#18) will flash. The JMC-1250 will go into Pairing/Discoverable mode.
- Turn on the Bluetooth function for the device you want to link to, and enable the search or scan function to find the JMC-1250.
- Select “JMC-1250” from the device list when it appears on your device screen. If required, enter the passcode “0000” to pair (link) JMC-1250 with your device.
- If you are pairing (linking) your computer to the speaker using Bluetooth, you may need to set the JMC-1250 as your computer’s default sound device.
- After successfully pairing the JMC-1250 with your Bluetooth device, The BLUETOOTH INDICATOR (#18) will stop flashing and remain lit.
- If you want to pair (link) the JMC-1250 with another Bluetooth device, press and hold Play/Pause button (#22) a few seconds. The BLUETOOTH INDICATOR (#18) will flash. The JMC-1250 will go into Pairing/Discoverable mode. Repeat steps 4 & 5.
Now you can play music from your Bluetooth device wirelessly to the JMC-1250.
- Select your favorite song, press the Play/Pause on your Bluetooth device or the Play/Pause Button (#22) on the JMC-1250 to play or pause the song from your Bluetooth device.
- Press the Skip Forward Button (#12) or Skip Backward Button (#9) to select the Next or Previous track.
(The SEARCH function does not apply to Bluetooth operation ) - Slowly adjust both the volume controls of your JMC-1250 and your Bluetooth device until you reach a comfortable listening level.
Note
- Refer to the manual of your cell phone, tablet PC, computer, or other Bluetooth-enabled devices for Bluetooth operation since it may vary from model to model.
- If your Bluetooth-enabled device does not support the A2DP profile, it will not play the music through the speaker, even if paired (linked).
- Remember to turn off the JMC-1250 when you have finished listening.
- Don’t forget to switch off the power of your Bluetooth device as well.
- The music playback will automatically be paused when you have an incoming call. When the call is ended, the JMC-1250 will start playing again.
AUX IN OPERATION
You can play other music sources (iPod, MP3 or other digital audio players) through the speakers of the JMC-1250 by connecting the AUX IN Jack (#37) to your external player’s audio out jack or headphone jack.
- Plug one end of an audio cable (not included) into the AUX IN Jack (#37) and the other end of the cable to the headphone jack of your digital audio player.
- Press POWER ON/STANDBY BUTTON (#7) to turn on the JMC-1250.
- Press PHONO/BLUETOOTH/AUX BUTTON (#24) repeatedly to select AUX Mode. The LCD DISPLAY (#2) will show AUX.
- Start playing the device you plugged into the AUX IN Jack (#37)..
- Slowly adjust both the volume controls of your JMC-1250 and the external device until you reach a comfortable listening level.
Note
- If you connect the JMC-1250 to the Line-Out Jack of your external device, you only need to adjust the VOLUME CONTROL of your JMC-1250. If you connect to the Headphone Jack of your external device, you may need to adjust both the volume controls of your external device and the JMC-1250 to obtain the desired listening level.
- Remember to turn off the JMC-1250 when you have finished listening. Don’t forget to switch off the power of your external audio device as well.
CD OPERATION
LOADING THE DISCS
- Press the POWER ON/STANDBY BUTTON (#7) to turn on the JMC-1250.
- Press the CD BUTTON (#10) to enter CD Mode. The LCD DISPLAY (#2) will show CD.
- Press the CD DOOR OPEN/CLOSE BUTTON (#27) to open the CD DOOR (#17).
- Place a CD with the printed side facing up inside the tray.
- Press the DISC SKIP BUTTON (#23) to select another location on the CD tray. Load another CD. You can load up to 3 CDs at a time by repeating the step.
- Press the CD DOOR OPEN/CLOSE BUTTON (#27) again to close the CD DOOR (#17).
- CD-search will be performed; the display will show the total number of discs, number of tracks and playing time of the disc.
Note
CD searching will be performed every time when you switch to CD mode or if you close the CD door. All CD functions will start responding when the CD searching is completed.
Troubleshooting

Frequently Asked Questions
The source of the sound such as a CD or a tape has nothing to do with Bluetooth and therefore does Need not be Compatible. Look at it this way. Normally if you wish to connect a headphone or a speaker to some device it must have a headphone jack or a place for speakers and then there would be a wire connecting the. Think of Bluetooth as an invisible wire connecting let’s say a CD player to a headphone. Yes, there is a connection but it’s invisible. The source, the music must be able to transmit Bluetooth and the headphones or speakers must be able to receive Bluetooth. So the headphones or the speaker must be Bluetooth Compatible and the tape plat or CD player needs to also be Bluetooth compatible. The CDs or the tapes themselves… do not require any compatibility.
The stereo is 12” wide- 16″ high and depth is 14″. The speakers are separate and they are 7″ wide and 14″ high. Hope this helps.
main unit is 14″ deep, 18″ tall and 12 ” across. Each of the two speakers are 14″ tall, 8″ deep and 8″ across. Hope this helps.
Yes, the Jensen can accept extra speakers, I added 2 of my own. One of the benefits of the system is the this ability.
The wires are permanent but you can splice them with electrical tape. I had to do this because the wires were too short.
I believe “Door Error” means something wrong with the CD tray mechanism. Just return it & order another one. I experienced the same problem.
They just lock in an ols way.
My daughter pairs her beats to this stereo.
Mine didn’t work out of the box. Got a ‘door error’. Promptly returned
I bought some cheap $10 blue tooth speakers and connected them, they sound great!! Without them, the system sounds bad. Get some inexpensive blue tooth speakers it will work wonders. Edward.
Only a cassette is designed to do the recording. CD doesn’t.
The height is 14 1/2″, Width is 8″ and the depth is 7″. I attached mine to the main unit so I suppose they would detach.




















