USER MANUAL
ELECTRIC CHEESE GRATER
348CG12 – 1/2 HP • 348CG1 – 1 HP • 348CG112 – 11/2 HP
SAFETY
When using electrical appliances, basic safety precautions should always be followed, including the following:
- Keep the working area around the machine clean and organized .
- Consider environmental conditions surrounding the machine . Do not use the machine in humid, wet or poorly lit environments . Do not use the machine close to lammable liquids or gas .
- Keep machine away from children and non-authorized personnel . Do not permit them to go near the machine or its working area .
- Do not touch the switch or cable with wet hands .
- Only utilize the machine with the correct voltage to achieve optimum results .
- Do not wear low-hanging clothing or items that may get caught in the machine . Wear non-slip shoes while working with the machine . For hygiene and safety, keep hair tied back and wear protective gloves .
- Do not tug on the cable to remove the plug from the outlet . Do not leave the cable near sharp objects, water or solvents .
- Remove the plug when you are cleaning the machine or need to move the machine .
- Check that the machine is not damaged prior to each use . Carefully check that all safety devices are working, that the removable parts are not blocked, there are no parts
damaged, that all the parts have been set up correctly and that all conditions that could influence the regular function of the machine are in working order . - If the machine is damaged or there are issues during its use, turn off the machine immediately and contact the manufacturer for assistance or repair . Repairs should only
be made by qualified technicians, using the correct manufacturer parts . Non-compliance with these rules may void the warranty .
NOTE: Save these instructions for future reference.
INTRODUCTION
The machine is made of aluminum alloy and is resistant to acids, salts and oxidation .
Service life length is closely related to compliance with the manual .
NOTE – This machine is used for grating hard cheese or stale bread .
Do NOT attempt to grate other products especially soft cheese. Doing so could damage the unit and void the warranty.
SPECIFICATIONS
| 348CG12 | 348CG1 | 348CG112 | |
| Voltage | 120V | 120V | 120V |
| Hertz | 60HZ | 60HZ | 60HZ |
| Phase | 1 | 1 | 1 |
| Amps | 3.17 amps | 6.25 amps | 9.17 amps |
| Wattage | 380W | 750W | 1100W |
| Horsepower | 1/2 HP | 1 HP | 11/2 HP |
| Speed | 1400 RPM | 1400 RPM | 900 RPM |
| Mouth Dimensions | 2 ½ x 4 1 /3″ | 3 ¹/8 x 5 ½” | 3 ¹/8 x 5 ½” |
| Length (A) | 11 ‘A” | 15 %” | 18%z” |
| Width (B) | 2 ½ x 4 1 /3″ | 3 ¹/8 x 5 ½” | 3 ¹/8 x 5 ½” |
| Height (C) | 14Y.” | 15 %” | 20 3/2.’ |

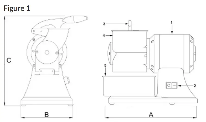
- Machine Body
- Control Switch ON/OFF
- Pressure Handle
- Grater Mouth
- Collect Container
OPERATION
- Position the grater with the switch (2 in figure 1) in front of the operator . Make sure that the power supply voltage corresponds to the figure indicated on the serial plate
- Insert the plug into the outlet, place the product to be grated into the grater mouth (4 in figure 1), close the pressure handle (3 in figure 1) and press the green ON button to turn the machine on .
NOTE: The pressure handle is equipped with a micro switch which stops the machine when the lever is opened. Closing the lever resumes operation automatically without having to press the switch again. If the pressure handle is kept raised for more than 30 seconds the machine stops automatically. To resume operation, press the ON button. - Do not operate the grater when it is empty .
- To prevent motor overheating, do not operate the machine for more than 15 minutes at a time .
- Press the handle gently and uniformly for the best results .
- Press the OFF button to stop processing .
CLEANING
NOTE – Please unplug the unit before cleaning
- Use a hard-bristled brush to remove any cheese from the roller teeth
- Peel off all the excess cheese with scrapers
- Use a clean cloth with hot water mixed with neutral soap to clean any parts that come in contact with food . (i .e . pressure handle, grater mouth and grater roll)



















