
CORDLESS RECHARGEABLE GRATER
WITH FINE AND COARSE STAINLESS-STEEL GRATING CYLINDERS

Model: CCG300
Batch: PR4383
PLEASE READ AND RETAIN THESE INSTRUCTIONS FOR FUTURE REFERENCE.
THIS APPLIANCE IS INTENDED FOR HOUSEHOLD USE ONLY.
The illustrations used in this manual are to illustrate the operation method and structure of the product. Where there is a small difference between the physical item and the illustrations, please take the physical as the standard.
ABOUT THE PRODUCT:
Effortless, quick, efficient, precise, and most importantly, safe grating is easy with this handy Cordless Rechargeable Grater.
Simply add your cheese, chocolate, nuts, or spices into its clasp and clamp down to create either fine or coarse results. The stainless-steel grating cylinders can be easily changed with the press of a
release button. Enjoy professional industry standard results and impress your guests at dinner parties and small gatherings.
This electric grater comes pre-packaged with fine and coarse grating cylinders with an additional shaving slicer cylinder available for purchase. Shaving slices are perfect to top off chocolate shavings
on a cake or fine cheese slices for crackers. With a removable and rechargeable 800mAh battery and a charge time of 4-5 hours with a run time of 45-60 minutes, this easy-to-use grater is the ideal solution for any household kitchen. Enjoy cordless convenience with packed-in power so hands and arms never get tired as opposed to traditional graters. The ergonomic comfort grip handle ensures ease of use with minimal strength required, practical for any adult age, including the older crowd. Enjoy fine chocolate topped on your dessert, or even coarse cheese on top of your pasta dish; the possibilities are endless with this Cordless Rechargeable Grater.
Specification:
- Features: Cordless Rechargeable Grater, fine and coarse stainless-steel grating cylinders, shaving slicer cylinder available for purchase, easy to use, grates cheeses, chocolates, nuts, and spices, removable and rechargeable 800mAh battery, power adapter, and charging base included, ergonomic comfort grip handle
- Charge Time: 4-5 hours
- Run Time: 45-60 minutes
- Colour: Black with Grey
- Measurements: 25.5cm x 9.5cm x 10cm
- Weight: 760g
SAFETY INSTRUCTIONS:
Before use, ensure the equipment is undamaged; if in doubt, do not attempt to use it and contact our customer service; do not leave packing materials (i.e., plastic bags, polystyrene foam, nails, staples, etc.) within the reach of children as they are potential sources of danger; always remember that they must be separately collected.
Ensure that the rating information given on the technical label on the charger’s power adaptor is compatible with those of the electricity grid; the installation must be performed according to the manufacturer’s instructions considering the maximum power of the appliance as shown on the label; an incorrect installation may cause damage to people, animals, or things, for which the manufacturer cannot be considered responsible thereof.
If it is necessary to use adapters, multiple sockets, or electrical extensions, use only those that comply with current safety standards; in any case, do not exceed the power consumption limits indicated on the electrical adapter and/or extensions, as well as the maximum power is shown on multiple adaptors.
Do not leave the battery connected to the charging dock. Remove the battery after the charging is complete. Ensure the charge time is monitored. The LED on the charging dock will not go out when charging is completed. it is better to remove the plug from the mains when the charger is not in use. Always disconnect from the power supply if you leave it unattended.
Do not allow the cord on the power adaptor to get closer to sharp objects or in contact with hot surfaces; do not pull it to disconnect the plug.
Do not use the appliance in the event of damage appliance itself, the grating cylinders, to the cord and plug on the power adaptor, charge dock, rechargeable battery. In the event of damage or malfunction to the unit of any parts, do not tamper. Repair on the appliance and its parts may only be done by a qualified repair agent.
Do not handle or touch the appliance, battery, charger components with wet hands or bare feet. Do not expose the appliance to harmful weather conditions such as rain, moisture, frost, etc. Always store it in a dry place.
This appliance can be used by children of 8 years and above and persons with reduced physical, sensory or mental capabilities or lack of experience and knowledge if they received supervision or instruction concerning use of the appliance in a safe way and understanding hazards involved; children shall not play with the appliance; cleaning and user maintenance shall not be made by children without supervision.
Children must not play with the appliance.
Keep the appliance and its cord out of reach of children less than 8 years of age.
This appliance is intended to be used in household and similar applications such as staff kitchen areas in shops, offices, and other working environments; by clients in hotels, motels, and other residential type environments; farmhouses, bed and breakfast type environments.
The appliance is not intended to be operated by means of an external timer or separate remote-control system.
Before every use, unroll the cord on the power adaptor.
Use original spare parts and accessories only.
Do not subject the product to strong impacts, serious damages may result.
Do not use near or under flammable materials (like curtains), heat, cold spots, and steam.
Never put your fingers inside the grater when in use.
Do not push the food to the roller with your fingers, always use the food presser.
Before first use, carefully wash the rollers (grating cylinders).
When you first use the appliance, remember to fully charge the battery, leaving it connected to the charger for about 5 hours.
Do not use the appliance continuously for more than 2 minutes. Then, wait for at least 2 minutes before resuming processing.
Before changing the roller, ensure the unit is not operating.
Before operating the grater, ensure that every part is correctly installed and that there are no heat sources nearby.
Regularly clean the unit for better performance and to ensure a longer life.
After use, always store the product out of the reach of children.
Do not immerse the appliance in water or other liquids but clean it with a damp cloth only.
Do not immerse the charger components and battery in water or any other liquid.
If the power adapter is broken or damaged, contact an authorized service centre for replacement.
Do not replace the original power supply adapter with any other.

CHARGING:
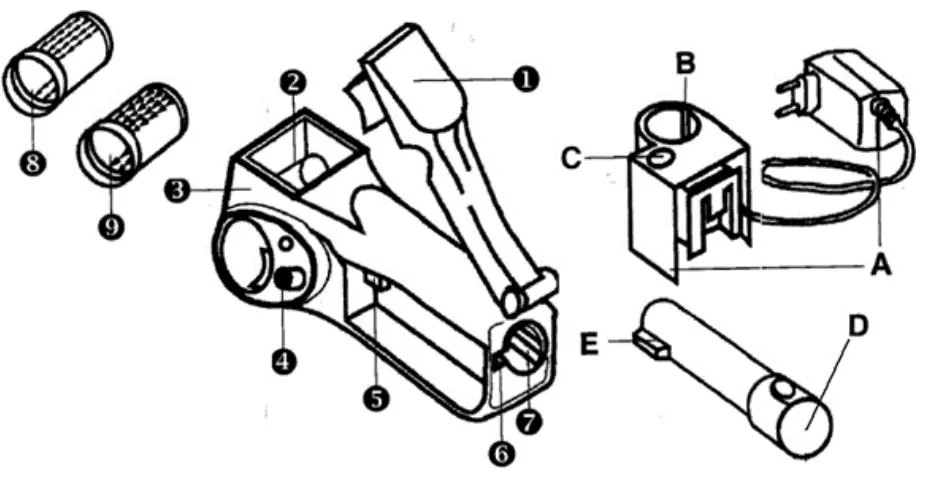
A. Power adapter
B. Battery dock
C. LED
D. Battery
E. Pin
CAUTION: Only use the original power adapter (A) to recharge the unit.
If the charger, battery compartment (dock), or battery are damaged or lost, please call our customer service to order the parts.
Charging must be done when the product loses power and efficiency during grating operations.
To recharge the unit, remove the battery pack (D) from the bottom of the grater and place it in the battery dock (B) of the charging base (A).
Connect the power adapter (A) to the electrical outlet.
The LED charging indicator (C) lights up when:
The battery is connected to the charging base. To see if the battery is properly connected.
The power plug is connected to the power supply.
At the end of charging, the LED will not go off, ensure the charging time is monitored.
The maximum charging time is about 4-5 hours.
When charging is finished, remove the battery pack from its charging dock and insert it again into the battery compartment located on the bottom of the grater.
The following measures will preserve battery life:
When you first use the unit, fully charge the battery by leaving it connected to the adapter for about 4 hours. Before you recharge, ensure the battery is fully exhausted.
For at least 2 times a year, fully discharge the battery and then recharge it for 4 hours.
When you are going not to use the unit for a long time (i.e., 2 months), it is recommended to charge the battery for about 4 hours before using it again.
If the battery life seems to lower after several uses, it is recommended to operate the grater until the battery is completely exhausted. At this point, charge it for 4 hours.
If the problem persists, the battery could be no longer capable of supplying power to the unit. In this case, please contact our customer service to order a new battery.
PRODUCT OVERVIEW:

- Food presser cover
- Opening for food
- Main body
- Roller lock/release button
- Power On / PULSE button
- Battery compartment track
- Battery compartment
- Roller (fine grating)
- Roller (coarse grating)
A. Power adapter
B. Battery dock
C. LED
D. Battery
E. Pin
The illustrations used in this manual are to illustrate the operation method and structure of the product. Where there is a small difference between the physical item and the illustrations, please take the physical as the standard.
ASSEMBLING AND OPERATING:
Insert the charged battery into the battery compartment (7). Follow the shape of the pin on the battery (E) and the battery compartment track on the unit (6).
Insert the roller (8 or 9) inside the housing, pressing the unlock button on the roller (4) and pushing until it snaps. Use the roller for fine grating (8) to grate the cheese and coarse one (9) to make
vegetable julienne, chocolate pieces, or more coarsely cheese.
Release the button to lock/unlock the roller (4) and check that it is inserted correctly.
Insert the battery already charged into the battery compartment (7) in the back of the unit, aligning the pin (E) with the track (6) and pushing inside the battery until it snaps.
Now the grater is ready for use: lift the food-pressing cover (1), insert the cheese or food you want to grate into the opening for food (2). Close the cover to push the food against the roller.
Press the Power on/ Pulse button (5) to start operation, The button needs to be pressed and held to operate. It will not operate if the button is not being pressed. Release the button to stop operation.
CLEANING AND MAINTENANCE:
Remove the battery pack before performing any cleaning or maintenance.
Do not perform any cleaning or maintenance while the unit is in operation.
CAUTION: Handle rollers with care to avoid the risk of cutting oneself.
The rollers can be treated as normal dishes. Wash them under the jet of tap water. For a more accurate cleaning, use a soft sponge and dishwashing detergents.
Always remove the remaining grated food by using a cloth or sponge.
Do not immerse the appliance in water or other liquids. Use a damp cloth to clean the outside of the unit.
Do not immerse the battery, charge dock, or power adaptor in water.
The grating rollers are dishwasher safe.
BATTERY DISPOSAL:
At the end of the battery’s life, it must not be thrown into household waste, in a fire, or put into water. The battery needs to be disposed of safely, please contact your local recycling authority or council
for further information on battery disposal in your local area.
SPECIFICATIONS:
Adapter power supply: IN AC 230V~50Hz – OUT DC 5V – 300mA
Battery: 800 mah
Charge time: 4 – 5 hours
Run time on a complete charge: 45 – 60 minutes
Run time and cool time: 2 minutes run time followed by 2 minutes cooling time
www.lenoxx.com.au
1300 666 848
LenoxxElectronics
LenoxxElectronics
@LenoxxAustralia


















