Estella 348CG12-1-2 HP Electric Cheese Grater

SAFETY
When using electrical appliances, basic safety precautions should always be followed, including the following:
- Keep the working area around the machine clean and organized.
- Consider environmental conditions surrounding the machine. Do not use the machine in humid, wet or poorly lit environments. Do not use the machine close to flammable liquids or gas.
- Keep machine away from children and non-authorized personnel. Do not permit them to go near the machine or its working area.
- Do not touch the switch or cable with wet hands.
- Only utilize the machine with the correct voltage to achieve optimum results.
- Do not wear low-hanging clothing or items that may get caught in the machine. Wear non-slip shoes while working with the machine. For hygiene and safety, keep hair tied back and wear protective gloves.
- Do not tug on the cable to remove the plug from the outlet. Do not leave the cable near sharp objects, water or solvents.
- Remove the plug when you are cleaning the machine or need to move the machine.
- Check that the machine is not damaged prior to each use. Carefully check that all safety devices are working, that the removable parts are not blocked, there are no parts damaged, that all the parts have been set up correctly and that all conditions that could influence the regular function of the machine are in working order.
- If the machine is damaged or there are issues during its use, turn off the machine immediately and contact the manufacturer for assistance or repair. Repairs should only be made by qualified technicians, using the correct manufacturer parts. Non-compliance with these rules may void the warranty.
NOTE: Save these instructions for future reference.
INTRODUCTION
The machine is made of aluminum alloy and is resistant to acids, salts and oxidation.
Service life length is closely related to compliance with the manual.
NOTE – This machine is used for grating hard cheese or stale bread.
Do NOT attempt to grate other products especially soft cheese. Doing so could damage the unit and void the warranty.
SPECIFICATIONS
| 348CG12 | 348CG1 | 348CG112 | |
| Voltage | 120V | 120V | 120V |
| Hertz | 60HZ | 60HZ | 60HZ |
| Phase | 1 | 1 | 1 |
| Amps | 3 .17 amps | 6 .25 amps | 9 .17 amps |
| Wattage | 380W | 750W | 1100W |
| Horsepower | 1/2 HP | 1 HP | 11/2 HP |
| Speed | 1400 RPM | 1400 RPM | 900 RPM |
| Mouth Dimensions | 2 ½ x 4 1/3″ | 3 1/8 x 5 ½” | 3 1/8 x 5 ½” |
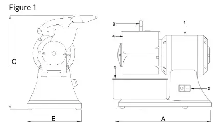
| Length (A) | 11 ¾” | 15 ¾” | 18 ½” |
| Width (B) | 10 ¼” | 12 ¼” | 11 ¾” |
| Height (C) | 14 ¼” | 15 ¾” | 20 ½” |
Figure 1

- Machine Body
- Control Switch ON/OFF
- Pressure Handle
- Grater Mouth
- Collect Container
OPERATION
- Position the grater with the switch (2 in figure 1) in front of the operator. Make sure that the power supply voltage corresponds to the figure indicated on the serial plate.
- Insert the plug into the outlet, place the product to be grated into the grater mouth (4 in figure 1), close the pressure handle (3 in figure 1) and press the green ON button to turn the machine on.
NOTE: The pressure handle is equipped with a micro switch which stops the machine when the lever is opened. Closing the lever resumes operation automatically without having to press the switch again. If the pressure handle is kept raised for more than 30 seconds the machine stops automatically. To resume operation, press the ON button. - Do not operate the grater when it is empty.
- To prevent motor overheating, do not operate the machine for more than 15 minutes at a time.
- Press the handle gently and uniformly for the best results.
- Press the OFF button to stop processing.
CLEANING
NOTE – Please unplug the unit before cleaning
- Use a hard-bristled brush to remove any cheese from the roller teeth
- Peel off all the excess cheese with scrapers
- Use a clean cloth with hot water mixed with neutral soap to clean any parts that come in contact with food. (i.e. pressure handle, grater mouth and grater roll)
EQUIPMENT LIMITED WARRANTY
1 YEAR PARTS AND LABOR WARRANTY
Select Estella Spiral Mixers, Dough Sheeters, and Bread Slicers are backed by a 1 year parts and labor warranty provided by Ready Kitchen Warranty. These select Estella products are warranted only to be free from defects in material and
workmanship for a period of 1 year from the date of delivery. Proof of purchase is required to obtain warranty service. This warranty is only valid to the original purchaser and only to equipment installed in the contiguous United States.
Estella and Ready Kitchen Warranty will only cover regular rate labor (no overtime or holiday hours) and travel up to 100 miles round trip.
COVERED EQUIPMENT:
This warranty is valid on:
Bread Slicer Models: 348BSLICE1, 348BSLICE12, 348BSLICE34, 348BSLICE58
Dough Sheeter Models: 348DSC67, 348DSC78, 348DSF78, 348DSF94, 348EDS12D, 348EDS12S, 348EDS18D, 348EDS18S
Spiral Mixer Models: 348SM40, 348SM50, 348SM60, 348SM80, 348SM100
Dough Press Models: 348DPC18P, 348DPC18T, 348DPC1620T
This warranty does not cover equipment used for residential or other non-commercial purposes.
1 YEAR REPLACEMENT WARRANTY
Select Estella Spiral Mixers are backed by a 1 year replacement warranty provided by Ready Kitchen Warranty. These select Estella products are warranted only to be free from defects in material and workmanship for a period of 1 year from the date of delivery. Proof of purchase is required to obtain warranty service. This warranty is only valid to the original purchaser and only to equipment installed in the contiguous United States.
COVERED EQUIPMENT:
This warranty is valid on:
Spiral Mixer Models: 348SM20, 348SM30
Countertop Mixer Models: 348EMIX8, 348EMIX8G
Cheese Grater Models: 348CG12, 348CG34, 348CG1, 348CG112
Dough Press Models: 348DPC18NH
This warranty does not cover equipment used for residential or other non-commercial purposes.
TO MAKE A WARRANTY CLAIM:
In order to make a claim against this warranty, please contact Ready Kitchen Warranty.
- Phone: 717-381-4844 – Please have your model number, serial number, and proof of purchase ready before calling.
- Email: [email protected] – Please include your name, model number, serial number, proof of purchase, and a brief description of the issue in your email. Including clear pictures of the issue will help expedite the process. Failure to include one or more of these things will extend processing time.
This Limited Warranty does not cover:
- Equipment sold or used outside of the contiguous United States.
- Equipment purchased used, or sold by an unauthorized reseller.
- Equipment that has been improperly installed, used, or maintained.
- Equipment that has been subject to abuse, misuse, harsh chemical action, modifications made without the approval of Estella, damage caused by flood, fire, or other acts of God.
- Equipment missing a serial number or proof of purchase.
- Equipment that has been serviced outside of the warranty, or by an unauthorized technician, without the approval of Ready Kitchen Warranty.
- Equipment that was damaged as part of shipping and handling. Please contact your authorized retailer for assistance.
- Equipment that has been changed, modified, or repaired with parts not authorized by Estella.
- Any adjustments, calibrations, leveling, tightening of fasteners, etc.
- Damage caused by unqualified operators. Estella products are designed for use by professionally trained bakers only.
- Any parts determined to be wearable items, such as belts, by Ready Kitchen Warranty or Estella.
This warranty provides the exclusive remedy against Estella relating to Estella products, whether in contract or in tort or under any other legal theory, and whether arising out of warranties, representations, instructions, installations or defects from any cause. Estella shall not be liable, under any legal theory, for loss of use, revenue or profit, or for substitute use or performance, or for incidental, indirect, or special or consequential damages or for any other loss of cost of similar type. The laws of some jurisdictions limit or do not allow the disclaimer of consequential damages. If the laws of such a jurisdiction apply to any claim by or against Estella, NO limitations and disclaimers contained here shall be the greatest extent permitted by law. Estella and Ready Kitchen Warranty shall not be liable for more than the purchase price of the equipment, inclusive of applicable freight and sales tax.
If required by Estella, customer shall return to Estella for examination any failed product or part to confirm that the part has failed as a result of material or workmanship.
The warranty is not transferable and cannot be changed for a previously purchased product.



















