CRYSTORAMA 9597-MK Hulton Six Light Chandelier

WARNING
All electrical components must be installed by a licensed electrician in accordance with the National Electric Code and the appropriate local electrical codes.

- You will need 6 – Cand.Bulb
- 40 Watts Recommended
- 60 Watts Max
- USE LED BULBS FOR EXTENDED USE This fixture is dry rated.
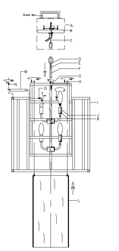
Part Number

- A. (1) -Mounting Hardware
- B. (1) – Canopy; W7 “XH0.75”; XSU9595MKCANTIN
- C. (1) – Chain; 72″; 4.0mm; XSU9595MKCHA4MM
- D. (1) -Top Loop
- E. (1) -Nipple
- F. (1) – Stem(XSU9597MKSTEM2IN)
- G. (1) -Inner Cage
- H. (3) -Nut
- I. (1) – Outer Cage
- J. (6) – Candle Sleeve; $0.75″X1.75″; XSU9595MKCDL1.75IN
- K. (6)-Socket
- L. (1) – Shade; $9.75″X19.25″; XSU9597MKSHA19.25IN
- M. (3) – Support bar
- N. (3)-8/32″ Screw
- O. (3) -M6 Screw
How to Install
- Place the frame on a soft cloth-covered table before installation.
- Screw the loop onto the top of frame.
- Attach the support bar onto the inner cage using M6 screws. Tighten the screws using a screwdriver.
- Align the hole on support bar on inner cage with the hole on the top of outer cage. Secure with 8-32 screws.
- Attach the shade onto the frame using a nut.
- Attach the fixture to the chain using the top loop then mount the canopy to the ceiling.
WARNING: This product can expose you to Lead, which is known to the State of California to cause cancer and or birth defects or reproductive harm. For more information go to www.P65Warnings.ca.gov.
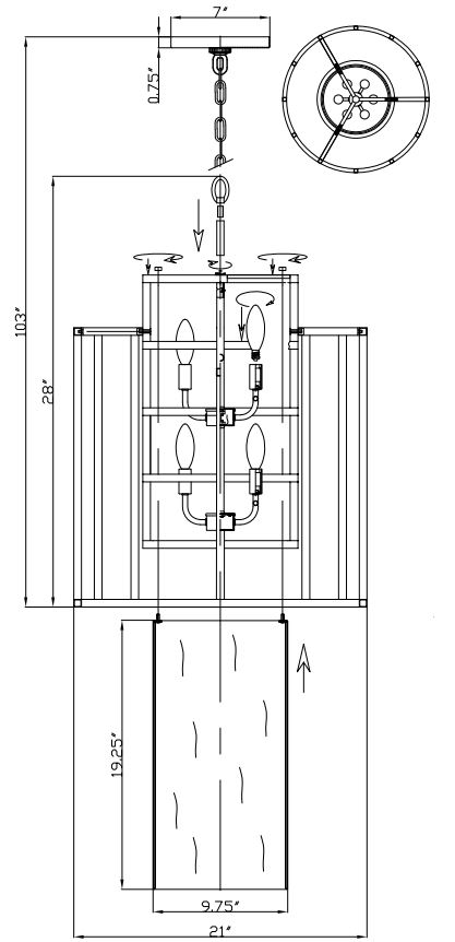
DIMENSION


















