VISUAL COMFORT PB 5046 Overture Medium Uplight Linear Chandelier

Product Information
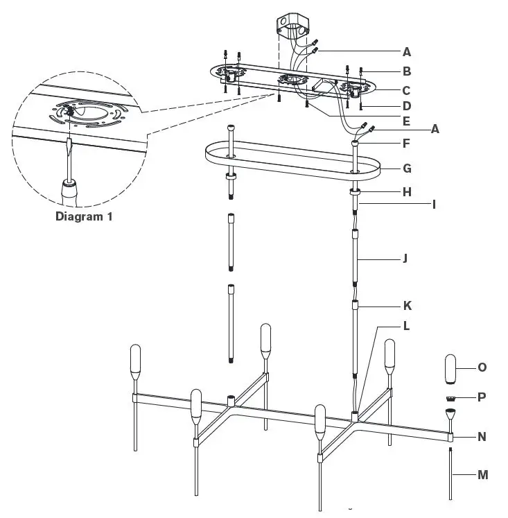
The Overture Medium Uplight Linear Chandelier is a stylish lighting fixture that adds elegance to any room. The chandelier comes with all parts required for assembly, including canopy, mounting plate, collar rings, bottom rods, middle rods, top rods, fixture, swivel balls, wire nut, wire cutters, wire strippers, pencil, drill hammer, and shades. The chandelier requires proper installation according to all applicable local installation codes by a person familiar with the construction and operation of it. Inspect the item and contents carefully before installation.
NOTICE: This light fixture should be installed in accordance with all applicable, local installation codes, and by a person familiar with the construction and operation of it, as well as the hazards involved. Inspect item and contents carefully. If any damage or defect is found, do not install. Retain all packaging material until installation is complete and approved.
TOOLS REQUIRED
- Phillips Screwdriver
- Slotted Screwdriver
- Wire Cutters
- Wire Strippers
- Drill
- Hammer
- Pencil
INSTALLATION INSTRUCTION

- Carefully remove all parts from the box. Place on a clean, soft surface.
- Remove canopy (G) from mounting plate (C) by removing collar rings (H).
- Using mounting plate (C) as a guide, line up with the ceiling and mark anchor positions.
- Using a drill bit slightly smaller than the anchor, drill holes in the marked positions. Install anchors (B) into the holes using hammer.
- Install mounting plate (C) to the junction box and secure with mounting screws (E), then secure wood screws (D) to anchors (B).
- Feed electrical wire through bottom rods (K) and connect to fixture (L). Repeat for middle rods (J), connecting to bottom rods (K).
- Continue feeding wire through collar rings (H), canopy (G) and top rods (I).
- Holding fixture upright, slide collar rings (H) and canopy (G) down and rest on fixture (L). Then connect top rods (I) to middle rods (J).
NOTE: Slide components down slowly to avoid damages. - Hang fixture swivel balls (F) to center of mounting plate (C).
- Cut excess wire, being sure to leave enough to reach the junction box. Separate wires, and strip insulation on each 5/8″.
- Connect supply ground wire (usually green or bare copper) around the green grounding screw (see diagram 1). Tighten.
NOTE: It is imperative that the fixture is grounded. - Connect driver input neutral wire (white) to the supply neutral wire (usually white) using wire nut (A).
- Connect driver input hot wire (black) to the supply hot wire (usually black) using wire nut (A).
CAUTION: Do not reverse the hot and neutral connections. - Connect fixture neutral wire (black) to driver output wire (black) using wire nut (A).
- Connect fixture hot wire (red) to driver output wire (red) using wire nut (A).
CAUTION: Do not reverse the hot and neutral connections. - Make sure all wire connections are tight, then carefully tuck into the junction box.
- Install canopy (G) to mounting plate (C) and secure with collar rings (H).
- Thread rods (M) to fixture arms (N).
- Remove protective covers (P) from sockets, then thread shades (O) to sockets.
NOTE: Do not overtighten otherwise shade could become damaged.
Care Instructions: Clean only with a soft dry cloth or feather duster. Do not use abrasive or chemical agents.









