
4 MC II Anolis LED Lighting
User Manual
ArcSource 4 MC II
The module generates colored light by means of RGBW LED multichip.The product was designed to use with the ArcPower drivers and for indoor use only.

Attention
- Do not install the module near high inflammable liquids or materials.
- Do not allow anything to rest on the module.
- Do not use the module near high humidity or water or expose to the rain.
- Do not install the module near the naked flames.
- Do not install the module in dirty,dusty or badly ventilated location.
- Sufficient air accessing to the cooling ribs of the module housing has to be ensured.
- Use the standard MR16 fittings to fix the modules on a suitable place.
Installation
The ArcSource unit should be connected to the ArcPower drivers as stated in technical specifications. See the ArcPower drivers user manuals for full details of mains power requirements and DMX operation.
ArcSource unit is supplied with 1.5 m of cable for direct connection to the ArcPower drivers.
CAUTION!
Avoid looking directly into the LED light beam at close range!
Maximum possible number of LED modules connected to the one ArcPower 36 (or one LED output of the ArcPower 72/144/360/16×6/RackUnit) is mentioned in the table below.
| LED module | LED multichips | Max.numberof connectedmodules | Compatible LED drivers |
| ArcSource 4 MC | 1 | 10 | ArcPower 36/72/144/360 |
| ArcSource 4 MC | 1 | 2 | ArcPower 16×6 |
| ArcSource 4 MC | 1 | 12 | ArcPower Rack Unit |
RJ45 pin connection

| Pin | Function | Wire |
| 1 | Red + | Orange/white |
| 2 | Green + | Orange |
| 3 | Blue + | Green/white |
| 4 | White + | Blue |
| 5 | Red – | Blue/white |
| 6 | Green – | Green |
| 7 | Blue- | Brown/white |
| 8 | White – | Brown |
Technical specifications:
| Max. power consumption: | 4.4W |
| Max input current per colour: | 350 mA |
| Recommended power supplies: | ArcPower 36/ 72/ 144/ 360, ArcPower Unit, ArcPower 16×6, DRS |
| Operating ambient temp.range: | -20°C/+40°C |
| Surface temperature: | +44°C@ambient 25°C |
| Cooling: | convection |
| LED device: | 1x multichip (RGBCW, WW) |
| Projected Lumen Maintenance: | L90B10 >90.000 hrs, Ta = 25°C / 77°F |
| Led life expectancy: | minimum 60,000 hours |
| Optical systems available: | 1 10°, 15°, 20°, 30°, 40°, 60°, 90°, 10°x30°, 10°x 60°, 35°x70°, 15°x90 |
| Construction: | precision turned alluminium |
| Weight: | 0.25 |
| Ingress protection: | IP 2X |
| Flammability: | 94V-0 flame class rating |
| Power /data plug: | RJ45 |
| Power /data cable: | 24 AWG x 4P,category 5e or other cable from 8x24AWG to 8x 20AWG |
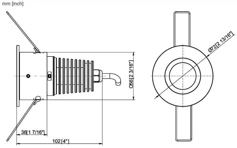
Dimensions:

Accessories
1 x Splitter (P/N 13050690)
Maintenance
- Keep the module dry.
- Operate only in places where the sufficient airflow to cool the module is present
- Periodically clean the front transparent cover.Use a moist, lint-free cloth. Never use alcohol or solvents!
QR code for user manual
https://www.anolislighting.com/resource/arcsourcetm-4mc-ii-user-manual-ce-
May 25, 2022
Specifications are subject to change without notice
Made in CZECH REPUBLIC by ROBE LIGHTING s.r.o.
Palackeho 416/20 CZ 75701
Valasske Mezirici
Version 1.2CE


















