FINER FORM FF-TB022302 Multi-Functional Adjustable Weight Bench User Manual
Thank You!
Before we get started, we want to thank you for choosing Finer Form for your new exercise bench. We know you have many choices for at-home exercise equipment, so thank you for joining so many others and choosing us!
Customer Service: Contact Us First!
- If you have any questions about assembling the bench, missing parts or pieces, or you need replacement parts, we want to help you!
- Email: [email protected]
- It helps if you can include a picture or video of any issues you may be having
- Please include your order ID so that we can help you even more quickly
For exercise instruction videos, please check out our Youtube Channel: Finer Form
Visit finerform.com for savings on more gym-quality fitness equipment.
Product Safety
WARNING: Please consult a physician before exercising or using this equipment. This equipment should not be used without your physician’s review and approval. If you have any of the following conditions or use any of the following medications, please do not use use this bench –
- High doses of aspirin or anti-coagulant medications
- Bone ailments that include fractures, unhealed fractures, Surgical pins, plates or supports, or Osteoporosis
- Hernias
- Heart conditions, heart weakness or circulatory issues that you are being treated for
- Ear infections or balance disorders
- Injuries to the back, spinal injuries, extremely swollen joints or cerebral sclerosis
- Pregnancy
- Obesity
The Maximum Weight Capacity for this product is 400 lbs. Only one person should use this piece of equipment at one time.
This equipment was designed to be used safely and responsibly. Please read all instructions and use caution before using this equipment. All nuts, bolts and screws included in the package should be used during assembly. Please consult the assembly instructions as you assemble the equipment, and then follow these safety instructions:
- Consult your doctor or a physician before using this exercise equipment.
- Use extreme care as you get on and off of the bench.
- Stop use of equipment if you experience dizziness, light-headedness or you feel faint. Then contact your doctor or a physician.
- Stop using this equipment if you feel any type of pain or discomfort.
- Wear clothing appropriate to exercise and fitness when using this piece of equipment.
- Do not allow children to operate this equipment.
- Keep pets away from equipment while exercising.
- Cease using this equipment if you feel nauseous or dizzy during a workout.
- Do not operate equipment if it is malfunctioning or is damaged.
- Place bench on a level surface. Do not place bench outside.
- Do not place hands, feet, fingers or toes near any moving parts.
- Do not insert any item into open parts of the bench.
- Do not wear long jewelry, baggy or loose clothing, or long hair while exercising on the bench.
- No individual under the age of 12 should attempt to operate this bench.
Product Diagram

PART LIST
![]() | Part 1
|
| Part 2
Front vertical frame x 1 | |
| Part 3
Front foot x 1 | Part 4
Leg lever x 1 |
| Part 5
Rear foot x 1 | Part 6
Connecting rod x 2 |
| Part 7
Seat assembly x 1 | Part 8
Adjustment plate x 1 |
| Part 9
Connecting plate x 1 | Part 10
Adjustment frame x 1 |
| Part 11
Knee pads x 2 | Part 12
Handles x 2 |
HARDWARE LIST
| Part 13
| Part 14
Curved washer 8 x 4 | Part 15
Cap nut M 8 x 4 | Part 16
Hex screw M 10*70 x 5 |
| Part 17
Hex screw M 10*60 x 1 | Part 18
Hex screw M 10*15 x 2 | Part 19
Washer 10 x 15 | Part 20
Washer 8 x 4 |
| Part 21
Lock nut M 10 x 7 | Part 22
Hex screw M 8*35 x 4 | Part 23
Hex screw M 8*15 x 2 | Part 24
Lock pin with ring 10 x 1 |
| Part 25
Casing x 4 | Part 26
Rotary knob x 1 | Part 27
Hex wrench 5mm x 1 | Part 28
Hex wrench 6mm x 1 |
| Part 29
Wrench 14-17 x 1 | |||
BEFORE ASSEMBLY
We recommend you to tighten all screws after all steps are done, instead of tightening screws at every step.
ASSEMBLY INSTRUCTIONS
Step 1
- Use carriage bolts (13), curved washers (14) and cap nuts (15) to secure front foot (3) onto front frame (2).
- Use carriage bolts (13), curued washers (14) and lock nuts (15) to secure rear foot onto main frame.
- Tighten all nuts and bolts for front and rear feet.
- Use round-head hex screws (16), washers (19) and lock nuts (21) to connect front frame (2) and main frame (1).
Note: DO NOT tighten these screws yet.
Step 2
- Use hex screw (18), rotary knob (26), washer (19) and lock nuts (21) as shown to connect ends of connecting rods (6) to main frame (1) and front frame (2).
- If the holes do not line up during assembly, raise the connection point between the main frame (1) and front frame (2) to adjust.
- Tighten screws. Then tighten all screws installed in step 1 that were not tightened at that time.
- Use hex screw (17), washer (19) and lock nuts (21) to attach leg lever (4) to front frame (2) and insert lock pin with ring (24).
Step 3
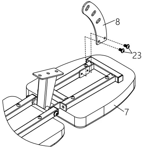
- Lay seat assembly (7) flat, and attach adjustment plate (8) to seat assembly (7) using hex screws (23). Tighten screws.
Step 4
- Pull the lock pin on main frame (1) and position the hole on adjustment plate (8) onto the lock pin.
- Line up holes on seat assembly (7) and main frame (1) as shown.
- Attach using hex screws (16), flat washers (19), connecting plate (9) and lock nuts (21), then tighten.
Step 5
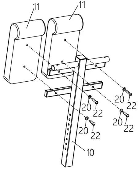
- Use hex screws (22) and washers (20) to attach knee pads to adjustment frame (10) and tighten.
Step 6
- Rotary knob (26) into front vertical frame (2). It need not be screwed in very deeply.
- Insert adjustment frame (10) into front frame (2) and use rotary knob (26) to adjust height of adjustment frame.
- Insert handles (12) into the openings on adjustment frame (10) as shown.
Congratulations. You’re Finished!
If you find the bench wobbling or unbalanced, try the following fixes:
- Loosen all screws, put some weight on the bench until it finds its own balance.
Then, tighten screws again. - Tighten screws in Step 1 (B) and Step 2 (A)
- The four rubber caps on the bench feet work as floor levelers. Rotate them to fit uneven surfaces.
LIMITED WARRANTY
Finer Form warrants that this product will be free from defects in materials and workmanship for One Year. This warranty is not transferable.
All Finer Form products are manufactured and tested with the highest quality standards and quality control processes. This warranty is limited to the non-commercial use of Finer Form products purchased in the United States.
Finer Form will not be liable for any loss or damage, including incidental or consequential damages of any kind, whether based upon warranty, contract or negligence, and arising in connection with the sale, use or repair of the product.
This warranty does not cover damage caused by accident (including in transit), repairs or attempted repairs by any person not authorized by Finer Form, or by vandalism, misuse, abuse, or alteration.
©Finer Form. All rights reserved.
![]()

Main frame x 1













































