NetWay4ES Series PoE Solutions
Installation Guide
NetWay4ES Series
PoE Solutions
Models Include:
NetWay4ES
– 4-Port PoE/PoE+ Switch
NetWay4ESK
– Kit includes: NetWay4ES and NetWay1D
(60W Midspan Injector, 115VAC / 230VAC input)
Installation Guide

Installing Company: _______________ Service Rep. Name: ____________
Address: ____________________________ Phone #: ________________
Overview:
Altronix NetWay4ES is a 4-Port PoE/PoE+ switch that is designed for installation at the IDF (Intermediate Distribution Frame). NetWay4ES allows for system expansion by accommodating up to four (4) IP cameras/devices over a single CAT-5e or higher structured cable. Power up to 60W is provided by NetWay1D midspan injector (included in NetWay4ESK Kit), or 30W by NetWay midspan/endspan, or any IEEE 802.3at standard midspan/endspan typically located at the MDF (Main Distribution Frame).
Features:
Agency Listings:
- UL 60950-1 Information Technology Equipment.
- CE European Conformity.
Input:
- Up to 60W is provided by NetWay1D midspan injector or 30W by NetWay midspan/endspan or any IEEE 802.3at standard midspan/endspan.
Power Output:
- Maximum power per port: PoE+ (30W).
- Total maximum power:
NetWay4ES – PoE+ (30W).
NetWay4ESK – 60W from Netway1D.
Ethernet:
- Connectivity: RJ45, auto-crossover.
- Wire type: 4-pair CAT5e or higher structured cable.
- Distance: up to 100m.
- Speed: 10/100BaseT, half/full duplex, auto negotiation.
LED Indicators:
- Yellow – IP Link status, Green – 10/100Base-T/active.
Environmental:
- Operating Ambient Temperature:
NetWay1D: 30W: -30ºC to 50ºC (-22ºF to 122ºF).
60W: -30ºC to 40ºC (-22ºF to 104ºF).
NetWay4ES: 60W: -40ºC to 75ºC (-40ºF to 167ºF). - Storage Temperature:
NetWay1D: -30ºC to 85ºC (-22ºF to 185ºF).
NetWay4ES: -40ºC to 75ºC (-40ºF to 167ºF). - Humidity: 20 to 85%, non-condensing.
Applications:
- Remote installation and powering of a 4-port PoE+ switch.
Star expansion of remote node to 4-PoE+ cameras/devices.
Mechanical:
- Dimensions (H x W x D approx.): NetWay1D: 1.75” x 4.125” x 7.25” (44.4mm x 104.8mm x 184.1mm).
NetWay4ES: 1.7” x 5.23” x 8.42” (43.18mm x 132.8mm x 213.9mm).
Installation Instructions:
Wiring methods shall be in accordance with the National Electrical Code/NFPA 70/ANSI, and with all local codes and authorities having jurisdiction. Wiring should be UL Listed and/or Recognized wire suitable for the application.
Midspan or endspan and NetWay4ES/NetWay4ESK are not intended to be connected to outside plant leads and should be installed indoors within the protected premises. The midspan or endspan injector and NetWay4ES/NetWay4ESK are intended for indoor use only.
- Midspan or Endspan installation: Please refer to the corresponding installation instructions.
- NetWay1D installation (Fig. 1, pg. 4):
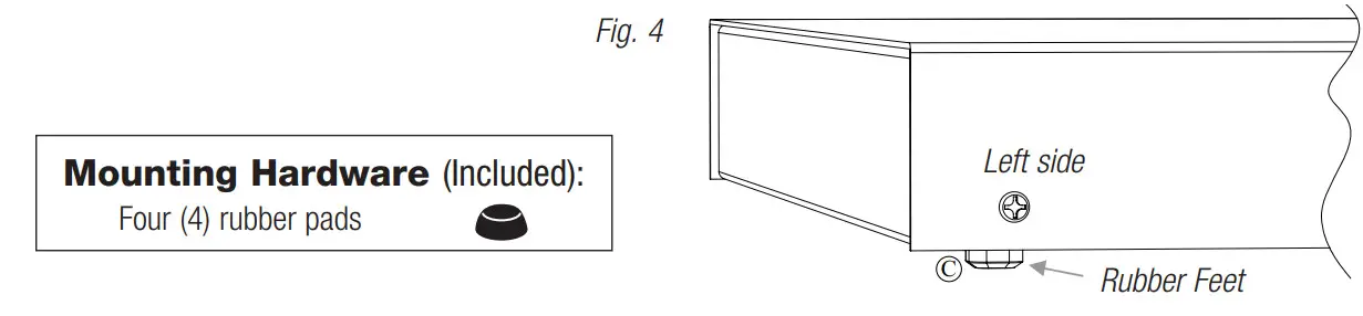
a. Affix rubber pads to NetWay1D for shelf installation (Fig. 4, pg. 8).
b. Plug the grounded AC line cord (included) into the IEC 320 connector of the NetWay1D unit.
Plug the unit into a reliable earth-grounded socket.
When using multiple units the sum of the individual nameplate ratings should not exceed the supply circuit rating.
Note: Do not connect to a receptacle controlled by a switch.
c. Connect the structured cable from UL Listed ethernet switch or video server to RJ45 jack marked [IN] on
NetWay1D (Fig. 2, pg. 6).
3. NetWay4ES installation:
a. Mounting: Affix rubber pads to NetWay4ES for shelf installation (Fig. 4, pg. 8).
b. Connect the structured cable from NetWay4ES to RJ45 jack marked [OUT] to NetWay1D (Fig. 2, pg. 6) or
midspan or endspan (Fig. 1, pg. 5).
c. PoE ON LED of the NetWay1D will illuminate indicating the PoE device is turned on (Fig. 2, pg. 6).
d. Connect IP cameras/devices to RJ45 jacks marked [1-4 PoE Output 10/100BaseT] (Figs. 1, 2, pgs. 5, 6).
Technical Specifications:
| Parameter | Description |
| Input Power Requirements | NetWayl D: 115VAC, 60Hz, 1.2A or 230VAC, 50/60Hz, 0.75A. NetWay4ES: Powered by NetWayl D. |
| Output | Maximum power per port: PoE+ (30W) Total maximum power: Dependent on power from midspan or endspan. |
| Indicators | NetWayl D: Red LED: PoE ON. Red LED: Power ON. NetWayl D and NetWay4ES: Yellow (RJ45 connector): On – Linked, Off – No Link, Blinking – Activity. Green (RJ45 connector): On – 100Base-TX, Off – 10Base-T. |
| Environmental Conditions | Operating Ambient Temperature (UL60950-1): NetWay1D: 30W: -30°C to 50°C (-22°F to 122°F). 60W: -30°C to 40°C (-22°F to 104°F). NetWay4ES: 60W: -40°C to 75°C (-40°F to 167°F). Relative humidity: 85%, +/- 5% Storage Temperature: NetWay1D: -30°C to 85°C (-22°F to 185°F). NetWay4ES: -40°C to 75°C (-40°F to 167°F). Operating Altitude: 304.8 to 2,000m (-1,000 to 6,561.679 ft.). |
| Regulatory Compliance | UL 60950-1 Information Technology Equipment. CE European Conformity |
| Weights (approx.) | Product: 2.9 lb. (1.32 kg) I Shipping: 3.9 lb. (1.77 kg). |
Typical Applications:
Fig. 1 – NetWay4ES powered by NetWay midspan/endspan

Fig. 2 – NetWay4ESK (Kit). NetWay4ES powered by NetWay1D midspan injector.

NetWay4ES Chassis Mechanical Drawing & Dimensions
(H x W x D approx.):
1.7” x 5.23” x 8.42” (43.2mm x 132.8mm x 213.9mm)

Shelf Installation
- Position and affix rubber pads (C) (included) at each corner on the bottom of the unit (Fig. 4).
- Place the unit in the desired location.

Altronix is not responsible for any typographical errors.
140 58th Street, Brooklyn, New York 11220 USA | phone: 718-567-8181 | fax: 718-567-9056
website: www.altronix.com | e-mail: [email protected] | Lifetime Warranty
IINetWay4ES H19U




















