Schneider Electric IMT47208 Mureva Floodlight User Manual
IMT47208
IMT47209

Model: IMT47208/IMT47209
Material : Aluminum+Glass
Watt : 20W
Voltage : 220-240V~50Hz
Input current: 0.092A
Lumen: 2000LM
CCT: 4000K/6500K
Size : 167x127x33mm
Net Weight : 530g
Beam Angle : 110°
PF : 0.9
Lighting area :0.021m²


Model: IMT47210/IMT47211
Material : Aluminum+Glass
Watt : 30W
Voltage : 220-240V~50Hz
Input current: 0.136A
Lumen: 3000LM
CCT: 4000K/6500K
Size : 193x145x35mm
Net Weight : 780g
Beam Angle : 110°
PF : 0.9
Lighting area :0.028m²


Model: IMT47212/IMT47213
Material : Aluminum+Glass
Watt : 50W
Voltage : 220-240V~50Hz
Input current: 0.223A
Lumen: 5000LM
CCT: 4000K/6500K
Size : 219x165x38mm
Net Weight : 1200g
Beam Angle : 110°
PF : 0.9
Lighting area :0.036m²


Model: IMT47214/IMT47215
Material : Aluminum+Glass
Watt : 100W
Voltage : 220-240V~50Hz
Input current: 0.446A
Lumen: 10000LM
CCT: 4000K/6500K
Size : 294x224x42mm
Net Weight : 1950g
Beam Angle : 110°
PF : 0.9
Lighting area :0.065m²

Impotant User Advice
This Product is Class I and must be Earthed. Always switch off mains supply before fitting. Replace any broken or damaged glass as soon as possible. Ensure all seals are intact and operational after fitting ormaintenance. Do not touch the lamp in use or just after use as there is a risk ofbeing burnt. Do not cover it with paper or cloth. Take off from flammable materials. Do not wash the lamp. Do not use the lamp where the ambient temperature is over 45°C. Keeping your eyes with a security distance,the light could causedamage. This product has no user serviceable parts. Clean with a damp cloth and dry with a lint free cloth or kitchen towel The light source of this luminaire is not replaceable; when the light source reaches its end of life the whole luminaire shall be replaced.
Installation
Only to be installed outside arms reach. prepare the mains wiring. Use the mounting bracket to mark the hole centres for fixing. Drill holes suitable to accept wall plugs.Insert wall plugs. Ensure mounting bracket. Terminate wiring.Pay particular attention to any markings forRepalce all covers. Fit the floodlight to the mounting bracket with the screws, Check seals,gaskets and cable gland operation before testing theluminaire. Turn on power supply and test luminaire. The installation height should be from 2.25 to 5 meter.
Important Infomation
It is recommend that luminaires installed and fitted by a qualified electrican ensuring the installation complies to the current building regulations.These products are designed for connection to a 230VAC 50Hz supply. Any broken or damaged parts should be replaced as soon as possible. Schneider will not accept responsibility for any claims arising from a poor installation.
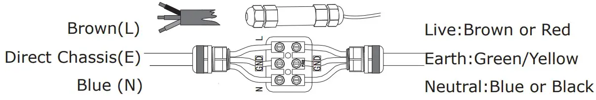
Wire connection guide
The brown wire is connected with the L wire of city electricity. The blue one is connected with the N wire of city electricity. The green/yellow one is connected with the earth wire. Power Cord type H05RN-F 3 x 1.0mm2, cable length 50cm Terminal block is not included. The external flexible cable or cord of this luminaire cannot be replaced; if the cord is damaged, the luminaire shall be destroyed.



Patented Product, Counterfeiting Not Allowed.
SCHNEIDER ELECTRIC INDUSTRIES SAS
35, RUE JOSEPH MONIER
92500 RUEIL-MALMAISON – FRANCE















