FL800R Rechargeable Floodlight
User Manual
FL800R Rechargeable Floodlight
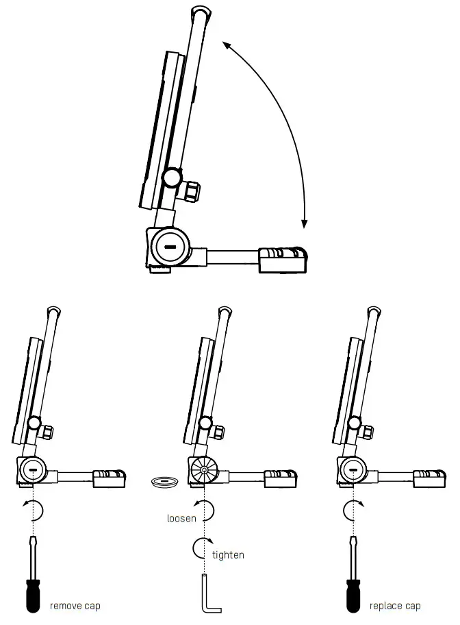
HOW TO FIX THE STAND FOLDING ISSUE
OPERATING INSTRUCTIONS
RECHARGEABLE LED SPOTLIGHT
FL800R | FL1600R | FL2400R | FL4500R
ELIVERY INCLUDES
- LED spotlight
- AC mains adapter
- Operating instructions
First unpack the product and check that everything is there and that nothing is damaged. Do not use damaged products. If you find damage to the product, contact your dealer.
PROPER INTENDED USE
The product serves as a mobile light source for working environments, open spaces, etc., and is not intended for use in other applications. The product can be set down, hung or carried by the handle. The product is intended exclusively for private household use and not for commercial use. Not suitable for household room lighting.
SIGNS AND SYMBOLS
Please take note of the following symbols and words used in the operating instructions, on the product and on the packaging.
=Information
Useful additional information about the product
=Caution
The caution warns you of possible damage of all kinds
= Warning
Attention – Danger! May result in serious injury or death
SAFETY INSTRUCTIONS
Read through the complete operating instructions carefully before using the product for the first time. They contain important information for handling the product.
If you pass on the product to third parties, pass on these operating instructions as well.
- Keep the product and the packaging away from children. This product is not a toy. Children should be supervised in order to ensure that they do not play with the product.
- The product protection class is IP54: Protected against the penetration of dust to hazardous and sensitive parts. Splash-proof. Do not immerse the product in water.
- Do not touch the product with wet or damp hands.
- Ensure that the connection cable is not pulled taut and that it does not come into contact with sharp objects, chemicals or solvents.
The product is categorised as protective class III
Do not look directly into the light beam. Do not shine the light in other people‘s faces. If this occurs for too long, the blue light portion of the beam can cause retinal damage
Replace any broken safety cover
Rough service
- Hazard-free operation is no longer assured if the product is visibly damaged. If the product is damaged, it must be disposed of or repaired.
- Do not repair the product yourself! Have the repair carried out exclusively by an electrical specialist.
Caution: The light source of this lamp cannot be replaced. If the light source has reached the end of its service life, the hole light must be replaced.
Caution: Risk of fire! Do not cover the product whilst in use and keep it away from easily flammable surfaces. - Never submerge the product in water or other liquids. Never touch a device that is connected to the mains if it has fallen into water. In this case, remove the mains plug immediately.
- Never open, crush or heat a rechargeable battery or set it on fire.
- If the lamp switches off automatically due to a low battery level and has not additionally been switched off with the switch, it will begin to illuminate after a short period of charging. In order to avoid overheating, the light must be upright whilst it is being charged, or the light source must be switched off. Do not cover the product.
- The product may only be charged in closed, dry and spacious rooms, away from combustible materials and liquids. Disregard can result in burns and fires.
- The product contains a non-replaceable li-ion rechargeable battery. Do not throw the product into a fire!
- Failure to observe the safety instructions can result in dangerous injuries to persons or damage to the device!
- The lamp shall not be placed face-down or allowed to topple face-down. There is a risk of fire with this. In order to prevent toppling, the lamp must be used only as intended.
- Information for the light, mains adapters and mains voltage on the socket must match with the type plate.
- This product is not to be used by persons (including children) who have restricted physical, sensory or mental capabilities or who do not have adequate experience and knowledgein handling this product. Such persons must be instructed beforehand by a supervisory person who is responsible for their safety or must be supervised during the use of the product!
- All illuminated objects must be at least 10cm away from the light!
PRODUCT DESCRIPTION
- Carry handle
- Adjusting screws
- Rechargeable battery capacity indicator
- On/off button
- Protective rubber coating
- Charge socket
- Base
HANDLING NOTES
- Always carry the product using the handle.
- Always set the product down on its stand.
- Always hang the product with the hanging eye.
- The joint has a resistance in order to prevent unintentional adjustment. Change the angle of the stand slowly and smoothly.
ADJUSTING THE SPOTLIGHT
- Loosen the two locking screws.
- Adjust the angle of the spotlight.
- Tighten the locking screws again.
FIRST USE
The on/off button is on the back of the housing.
| Press 1x: | 25% |
| Press 2x: | 50% |
| Press 3x: | 100% |
| Press 4x: | Off |
CHARGING
Before first use, charge the lamp fully with the mains adapter provided. Likewise, when storing over an extended period of time, charge beforehand and charge at least 1x per year during storage in order to prevent the rechargeable battery pack deepdischarging.
To do so, pull the sealing cap out of the charge socket on the rear of the housing and plug in the charge plug. Then plug the mains adapter into the mains outlet. Ensure that the site floodlight is not lying with the light-emitting side downwards.
LED RECHARGEABLE BATTERY INDICATOR ON THE REAR OF THE HOUSING VIA STATUS LEDS
Charge status:
The illuminated indicator LEDs show the charge status. The charging process is indicated by an LED flashing.
Remaining capacity indication:
The number of illuminated indicator LEDs indicates the remaining battery capacity.
SIMULTANEOUS CHARGING AND LIGHTING
The light can be used whilst it is charging. In doing so, please note that the lighting power is reduced when the mains adapter is connected, in order to protect the rechargeable battery from damage.
Note that the charge time is also significantly increased by this.
The lamp shall be set down only on stable and non-slip surfaces that are as close to horizontal as possible. When placing it on slight inclines ensure that the feet are arranged such that the lamp cannot topple over face-down, onto its light-emitting side.
HOLDING DEVICES (STANDS, MAGNETS, ETC.)
If the light is to be fastened with a holding device, ensure that the holding device is firmly/properly fastened in place in order to avoid possible damage due to the light falling.
CLEANING/MAINTENANCE
Carry out cleaning tasks only when the mains plug is removed from the mains power!
- Clean only with a slightly damp cloth, then rub it dry.
- Never submerge the product in water or other liquids.
- Do not allow fluids to enter the housing.
- Do not use hard brushes or sharp objects for cleaning.
Improper usage of the lamp may result in it being damaged:
- Do not throw or drop
- Use only in original condition
- Do not use while still in packaging
- Turn off after use
ENVIRONMENTAL INFORMATION DISPOSAL
Dispose of unserviceable lights in accordance with legal provisions. The „waste bin“ symbol indicates that, in the EU, it is not permitted to dispose of electrical equipment in household waste. Use the return and collection systems in your area or contact the dealer from whom you purchased the product.
or disposal, pass the device on to a specialist disposal point for old equipment. Do not dispose of the device via household waste as the device contains batteries / rechargeable batteries.
In this way you will fulfil your legal obligations and contribute to environmental protection.
LIMITATION OF LIABILITY
The information contained within these operating instructions can be changed without prior notification. We accept no liability for direct, indirect, incidental or other damage or consequential damage arising though improper handling or through disregard of the information contained within these operating instructions.
We accept no liability or warranty claims or guarantee claims in the event of incorrect use of the product.
WARRANTY INFORMATION
We provide a ten-year warranty for the device – battery excluded, with the exception of the rechargeable battery pack. The guarantee does not apply to damage to the device arising through a failure to comply with the operating instructions. Your statutory warranty rights are not affected by this. You can find our warranty terms online at www.ansmann.de
TECHNICAL DATA FOR LAMP
| Model | 1600-0274: FL800R | 1600-0275: FL1600R | 1600-0276: FL2400R | 1600-0402: FL4500R |
| Power in Watts | 10 W | 20 W | 30 W | 50W |
| Li-ion rechargeable battery pack | 7.4V 2200mAh 16.28Wh | 7.4 V 4400mAh 32.6Wh | 11.1V 4400mAh 48.9Wh | 11.1V 6600mA 73,26Wh |
| Input voltage | 12V DC | 12V DC | 13.5V | 13V |
| Input current | 0,5A | 1A | 1A | 1.8A |
| IP protection class | IP54 [splash-protected] | |||
| IK protection class | IKOS | |||
| Protection class | III | |||
| Illuminant type | SMD-LED | |||
| Colour temperature | 5000 K | |||
| Colour rendering index [CRI] | >80 Ra | |||
| Nominal luminous flux | 100%: 800 lm 50%: 400 lm 25%: 200 lm | 100%: 16001m 50%: 800 lm 25%: 400 lm | 100%:2400 lm 50%: 1200 lm 25%: 600 lm | 100%: 4500 lm 50%: 2500 lm 25%: 1200 lm |
| Battery life | 100%: 3h 50%: 6h 25%: 12h | 100%:3h 50%: 6h 25%:10h | 100%: 3h 50%: 6h 25%:10h | 100%:3h 50%: 6h 25%:12h |
| Charge time | 4h | 4-5h | 5-6h | 5-6h |
| Max. projection area | 474 cm² | 726 cm² | 797 cm² | 1053 cm² |
| Place of use | Indoors and out | |||
| Operating temperature | -20 to +45 °C | |||
| Dimensions of glass (H x W x D) – ca. | 90 x 124 x 4 mm | 128 x 178 x 4 mm | 147 x 202 x 4 mm | 114 x 90 x 4 mm |
| Dimensions (H x W x D) – ca. | 212 x 224 x 177 mm | 273 x 266 x 215 mm | 292 x 273 x 213 mm | 320 x 329 x 200 mm |
| Weight -ca. | 900 g | 1440g | 2130 g | 2305 g |
| Rough service | Yes | Yes | Yes | No |
Technical data for mains adapters
| Input voltage | 100V – 240V AC 60 Hz/50 Hz | |||
| Input current | 400mA | 400mA | 400mA | 0,75A |
| Output voltage | 12V DC | 12V DC | 13.5V DC | 13,0V DC |
| Output current | 500mA | 1000mA | 1000mA | 1,8A |
| Protection class | II | |||
| Storage temperature | -20C° to 60°C | |||
| Operating temperature | 0 to +40 °C | |||
The product complies with the requirements from the EU directives.
www.tuv.com
ID 1419068824
Kundenservice Customer service:
ANSMANN AG
Industriestrasse 10
97959 Assamstadt
Germany
Support & FAQ: ansmann.de
E-Mail: [email protected]
Hotline: +49 (0) 6294 / 4204 3400
MA-1600-0274/-0275/-0276/-0402/V4/04-2022



















