Mureva Lights
User Manual
IMT47216 Mureva Lights
| IMT47216 IMT47217 | ![]() | Model :IMT47216/IMT47217 Material : Aluminum+Glass Watt : 20W Voltage : 220-240V~50Hz Input current: 0.100A Lumen: 2000LM CCT: 4000K/6500K Size : 186x167x58mm Net Weight : 570g Beam Angle : 110° PF : 0.85 Lighting area :0.021m² | ![]() |
| IMT47218 IMT47219 | ![]() | Model :IMT47218/IMT47219 Material : Aluminum+Glass Watt : 30W Voltage : 220-240V~50Hz Input current: 0.141A Lumen: 3000LM CCT: 4000K/6500K Size : 204x193x58mm Net Weight : 820g Beam Angle : 110° PF : 0.9 Lighting area :0.028m² | ![]() |
| IMT47220 IMT47221 | ![]() | Model :IMT47220/IMT47221 Material : Aluminum+Glass Watt : 50W Voltage : 220-240V~50Hz Input current: 0.225A Lumen: 5000LM CCT: 4000K/6500K Size : 224x219x58mm Net Weight : 1100g Beam Angle : 110° PF : 0.9 Lighting area :0.036m² | ![]() |
Welcome to use KPR22-M9 Infrared motion sensor!
The product is a new saving-energy switch, it adopts good sensitivity detector, integrated circuit. It gathers automatism, convenient safe, saving-energy and practical functions. It utilizes the infrared energy from human as control-signal source, it can start the load at once when one enters detection field. It can identify day and night automatically. It is easy to install and used widely.
SPECIFICATION:
| Power Source: 220 -240V/AC | Detection Range: 120° |
| Power Frequency: 50Hz | Working Temperature: -30~+50℃ |
| Ambient Light: 5-2000LUX (adjustable) | Working Humidity: <93%RH |
| Time-Delay: min: 3 sec±3sec max: 8min±3sec | Installation Height: 1.8m~2.5m Detection Distance: 4~10m (<24℃) |
| Rated Load: 100W (led lamp) | |
FUNCTION :
- Can identify day and night: The consumer can adjust work ambient light. It can work in the daytime and at night when it is adjusted on the “sun” position (max). It can work in the ambient light less than 3LUX when it is adjusted on the “moon” position (min). As for the adjustment pattern, please refer to the testing pattern.
- SENS adjustable: It can be adjusted according to using location, Maximum 10m, it fits for large room.
- Time-delay is added continually: When it receives the second induction signals after the first induction, it will compute time once more on the rest of the first time-delay basic (set time).
- Time-delay adjustment: It can be set according to the consumer’s desire. The minimum time is 10sec±3sec. The maximum is 7min±3min.
TEST :
- Turn the SENS knob clockwise on the maximum, turn the TIME knob anti-clockwise on the minimum, turn the LUX knob clockwise on the maximum(SUN).

- When you switch on the power, the controlled load is not working. Preheat 30 seconds later, when the sensor gets the induction signal, the load will be turned on. After the load is turned off, it will be turned on again when the sensor gets induction signal within 5~15 sec.
- After the first is out, make it sense again after 5~10sec. The load should work. When there is no induction signals in the sensor, the load should be stopped working.
- Turn LUX knob anti-clockwise on the minimum. If it is adjusted in the less than 3LUX(dark), the load and sensor should not work when testing in daylight. If you cover the detection window with the opaque objects (towel etc), the load work. Under no induction signal condition, the load should stop working within 5-15sec.
Note: when testing in daylight, please turn LUX knob to (SUN) position, otherwise the sensor lamp could not work!
NOTE :
- Should be installed by electrician or experienced person.
- Avoid installing it on the unrest object.
- There should be no hindrance and moving objects in front of the detection windows to effect detection.
- Avoid installing it near air temperature alteration zones such as air condition, central heating, etc.
- Considering your safety, please do not open the cover when you find the hitch after installation.
- If there is difference between instruction and the function the product has, please give priority to product and sorry not to inform you additionally.
SOME PROBLEM AND SOLVED WAY :
- The load do not work:
a. please check if the connection-wiring of power and load is correct.
b. please check if the load is good.
c. please check if the working light set correspond to ambient light. - The sensitivity is poor:
a. Please check if there has hinder in front of the detection window to effect to receive the signal.
b. Please check if the ambient temperature is too high.
c. Please check if the induction signal source is in the detection fields.
d. Please check if the installation height corresponds to the height showed in the instruction.
e. Please check if the moving orientation is correct. - The sensor can not shut off the load automatically:
a. Please check if there is continual signal in the detection field.
b. Please check if the time delay is the longest.
c. Please check if the power corresponds to the instruction.
d. Please check if the temperature near the sensor changes obviously, such as air condition or central heating etc.
Impotent User Advice
This Product is Class I and must be Earthed. Always switch off mains supply before fitting. Replace any broken or damaged glass as soon as possible. Ensure all seals are intact and operational after fitting or maintenance. Do not touch the lamp in use or just after use as there is a risk of being burnt. Do not cover it with paper or cloth. Take off from flammable materials. Do not wash the lamp. Do not use the lamp where the ambient temperature is over 45°C. Keeping your eyes with a security distance,the light could cause damage. This product has no user serviceable parts. Clean with a damp cloth and dry with a lint free cloth or kitchen towel. The light source of this luminaire is not replaceable; when the light source reaches its end of life the whole luminaire shall be replaced
Installation
Only to be installed outside arms reach. prepare the mains wiring. Use the mounting bracket to mark the hole centres for fixing. Drill holes suitable to accept wall plugs.Insert wall plugs. Ensure mounting bracket. Terminate wiring.Pay particular attention to any markings for Repalce all covers. Fit the floodlight to the mounting bracket with the screws, Check seals,gaskets and cable gland operation before testing the luminaire. Turn on power supply and test luminaire. The installation height should be from 2.25 to 5 meter.
Important Infomation
It is recommend that luminaires installed and fitted by a qualified electrican ensuring the installation complies to the current building regulations.These products are designed for connection to a 230VAC 50Hz supply. Any broken or damaged parts should be replaced as soon as possible. Schneider will not accept responsibility for any claims arising from a poor installation.
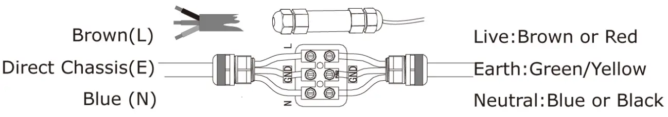
Wire connection guide
The brown wire is connected with the L wire of city electricity. The blue one is connected with the N wire of city electricity. The green/yellow one is connected with the earth wire. Power Cord type HOSRN-F 3 x 1.0mm2, cable length 50cm Terminal block is not included. The external flexible cable or cord of this luminaire cannot be replaced; if the cord is damaged, the luminaire shall be destroyed.
Diagram Showing

Patented Product, Counterfeiting Not Allowed.
SCHNEIDER ELECTRIC INDUSTRIES SAS
35, RUE JOSEPH MONIER
92500 RUEIL-MALMAISON – FRANCE

























