
SMART REVERSE OSMOSIS
UNIT
Installation &
Operating Manual
Congratulations on selecting a Dayliff Smart Reverse Osmosis. They are manufactured to the highest standards and if installed and operated correctly will give many years of efficient and trouble-free service. A careful reading of this Installation Manual is therefore important, though should there be any queries they should be referred to the equipment supplier.
SPECIFICATIONS

A five-stage water treatment purifier suitable for treating water from clean municipal sources or borehole water for under-sink installation that includes:
- Output 1,800L/day,
- Three-stage sediment & carbon cartridge pre-treatment with easy to replace cartridges and LED replacement reminder.
- Reverse osmosis purification using Hidrotek membranes with up to 50% recovery.
- Post Carbon stage for water conditioning.
- Supplied complete with 24VDC diaphragm pump
- Compact tankless design for installation within minimal space.
- Two outlet options – RO water and pre-treated water.
- Operating Parameters: Chlorine level <0.2ppm, TDS<250ppm, Water Temperature 5-45 C. 0
TECHNICAL SPECIFICATIONS
Feed Water Quality: Municipal tap water
Voltage and Frequency: 100~240V, 50/60Hz
PowerInput:96W
Purified Water Flow: 1.2L/Min
Feed Water Temperature: 5~45℃
Feed-water TDS: ≤ 250ppm
Feed-water Chlorine level: ≤ 0.2ppm
Rejection: 90~99%
Feed-Water Pressure: 0.1~0.4 Mpa
Water Treatment Process Flow Diagram Technological Process

WARNINGS & SYMBOLS
Wash and replace cartridges regularly.
Do not disassemble parts randomly, it may cause leakage or damage.
Do not use a power supply with disproportional rated voltage.
Please pull the power plug and cut off the feed water valve if long-term storage.
Do not store or explore in an environment of 0℃ or below. Handle with care when discharging, moving, and installing.
Please turn off the feed water ball valve and cut off the source water to avoid the “water hammer phenomenon” which may lead to leakage or damage to housings and filters if go out in the daytime or after the last use at night.
Please cut off power and source water at once in case of troubles occur and ask professional staff to repair.
Professional staff is advised to replace cartridges.
A water hammer is a pressure surge or wave caused when water in motion is forced to stop or change direction suddenly. When a resident in the building closes his valve suddenly, a pressure wave propagates in the pipeline of the building.
INSTALLATION
Product and Accessories

Main Body
Six Filter Cartridges
Includes spun PP filter ( PP ), Granular carbon filter(GAC), block carbon filter ( CTO), 2pcsx reverse osmosis membrane(RO), and post activated carbon filter(T-33).
One Accessory Box
Includes faucet, 3-way ball valve, three pipes, instruction book, adapter and drain clamp.

Functional Schematic Diagram

Installation Ball Valve and Tee Fittings
- Install Tee Fitting and 3-way ball Valve as per diagram.
- Wrap threads of 3-way ball Valve and Tee Fitting with Teflon tape.
- Connect inlet water pipe (3/8” white) from unit to Feed Water Valve.
- Install 3-way ball valve to Tee fitting, and then connect to source water.

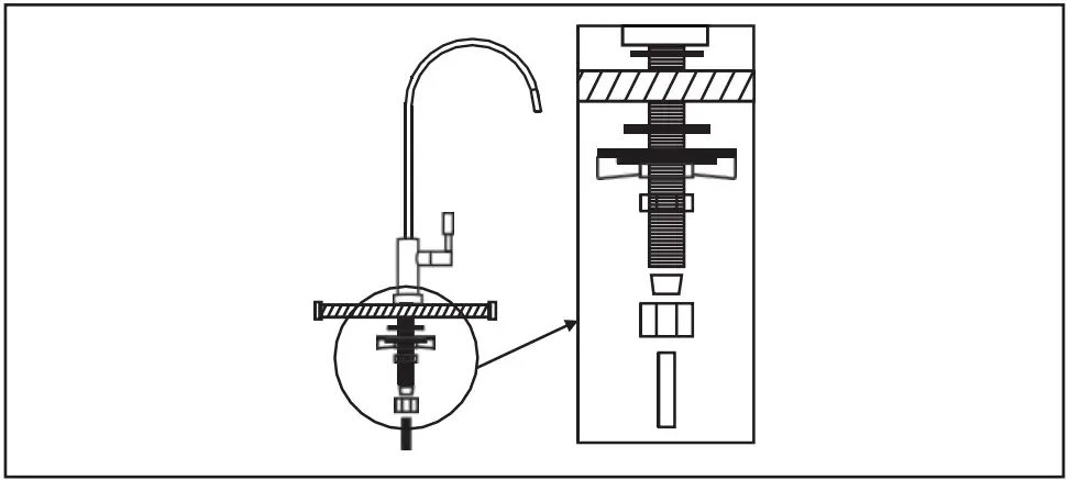
Installation for Goose Faucet
- Select a convenient location near your sink to place the faucet.
- Drill a hole 12mm in diameter in the countertop.
- Place washers, plates, seals, and nuts in order as per the diagram and tighten on to counter.
- Attach RO Water pipe (1/4” blue) to the bottom of the faucet and connect tubing to unit

Installation for Drain Clamp
- Place drain clamp-on drain pipe above the drain trap and tighten securely.
- Using the drain clamp as a guide, drill a 6mm hole, enough for the 1/4” tubing to pass through one side of the drain pipe. DO NOT drill through both sides.
- Connect Drain tubing (1/4” red) from unit to Drain Clamp

First Use Instruction
- Connect RO system with adapter, then the power indicator light is on, the buzzer rings three times, machine flushes for 90 seconds and indicator light is flashing in blue slowly.
- RO system begins making water and indicator light is flashing in blue slowly, the system is in standby mode and indicator light keeps in blue when water tank is full.
- The machine stops making water and the indicator light keeps in red, the buzzer rings 30 times after being working continuously for 6 hours, or water leakage is detected.
Cartridges Replacement and Reminder
Recommended Replacement Period for Cartridges
| STAGES | FILTER CARTRIDGE | FUNCTION | LIFESPAN (FOR REFERENCE ONLY) |
| The first stage | Spun PP filter | Removes larger suspended particles in water | 3-6 months |
| The second stage | Granular carbon filter | removes organics, chlorine, odor, and turbidity | 3-6 months |
| The third stage | Block carbon filter | Further removes organics, chlorine, odor, and turbidity | 3-6 months |
| The fourth stage | RO membrane | heavy metals Remove bacteria, dissolved matters, and salinity | 12-24 months |
| The fifth stage | Post Carbon filter | Adjusts the taste of purified water | 3-6 months |
Cartridges Replacement
Please cut off the water, turn off the power, open the RO water faucet, and discharge water in the pipeline before replacing cartridges.
- Push sideboard according to the arrow direction

- Lift up cartridge 30°, rotate anticlockwise then remove it.

- Install new cartridge by rotating clockwise according to specifications, then fix the side board.

NOTE: Please reset cartridges after replacement
TROUBLESHOOTING
| PROBLEM | POSSIBLE CAUSE | SOLUTION |
| The water pump is out of service and the system does not work | Insufficient feed water pressure | Increase feed water pressure |
| No power or power failure | Power-on | |
| The high-pressure switch is out of order | Replace high-pressure switch | |
| The pump is blocked and the adapter fuse burn-out | Replace adapter and repair water pump | |
| The water pump works but the system does not work | RO membrane is blocked | Replace RO membrane |
| Water pump pressure loss | Repair water pump | |
| The flush solenoid valve is damaged | Replace flush solenoid valve | |
| Constantly running water in downtime | Inlet water solenoid valve damaged | Replace inlet water solenoid valve |
| Cannot stop working when the pressure tank is full of repetitive starting | The high-pressure switch is damaged | Repair or replace the high-pressure switch |
| The check valve is damaged | Replace Check valve |
TERMS OF WARRANTY
i) General Liability
- In lieu of any warranty, condition or liability implied by law, the liability of Dayliff in respect of any defect or failure of equipment supplied is limited to making good by replacement or repair (at the Company’s discretion) defects which under proper use appear therein and arise solely from faulty design, materials or workmanship within a specified period. This period commences immediately after the equipment has been delivered to the customer and at its termination, all liability ceases. Also, the warranty period will be assessed on the basis of the date that the Company is informed of the failure.
- The warranty applies solely to the equipment supplied and no claim for consequential damages, however arising, will be entertained. Also, the warranty specifically excluded defects caused by fair wear and tear, the effects of careless handling, lack of maintenance, faulty installation, incompetence on part of the equipment user, Acts of God, or any other cause beyond the Company’s reasonable control. Also, any repair or attempt at repair carried out by any other party invalidates all warranties.
ii) Standard Warranty
If equipment failure occurs in the normal course of service having been competently installed and when operating within its specified duty limits warranty will be provided as
follows:-
- Up to 1 year – The item will be replaced or repaired at no charge.
- Over 1 year, less than two years – The item will be replaced or repaired at a cost to the customer of 50% of the Davis & Shirtliff market price.
The warranty on equipment supplied or installed by others is conditional upon the defective unit being promptly returned free to a Davis & Shirtliff offce and collected thereafter when repaired. No element of site repair is included in the warranty and any site attendance costs will be payable in full at a standard charge-out rate. Also proof of
purchase including the purchase invoice must be provided for a warranty claim to be considered.
DAY LIFE is a brand of Davis & Shirtliff
for inquiries contact
Davis & Shirtliff, Ltd.
P.O. Box 41762 – 00100, Nairobi, Kenya
Tel: 6968000/ 0711 079 000
or visit
www.davisandshirtliff.com
for details of the nearest branch or stockist
INS463A-09/20


















