
OWNER’S MANUAL

AQUAPHOR RO-101S, RO-102S,
RO-101S EU, RO-102S EU, RO-101S IL, RO-102S IL
(in further RO)
REVERSE OSMOSIS SYSTEM
RO-101S Reverse Osmosis System
WARNING
Please read this manual carefully before you proceed with the installation. Your failure to follow any of the attached instructions or operating parameters may lead to the product’s failure and possible property damage.
Save the manual for future reference.
Thank you for your purchase of this Aquaphor RO. With proper installation and maintenance, this system will provide you with premium quality drinking water. The technology used in the Aquaphor RO enriches the filtered water with minerals in controlled quantities.
This water is highly beneficial for the body as it helps to normalize the physiological processes.
If you have any questions or concerns, please contact our customer service department at email [email protected]. We are always happy to answer any questions you may have regar- ding our product.
Introduction
Aquaphor RO operates by removing contaminants from water at the molecular level. By using your household water pressure to squeeze the water against a special membrane, the water molecules are separated from any impurities that exist.
Rejected dissolved solids are automatically rinsed away through the drain leaving you with only high-quality, delicious water for your use.
Operational parameters
| Operating temperatures: | Maximum 38 °C (100.4 °F) | Minimum 5 °C (41°F) |
| Operating pressure: | Maximum 0.63 MPa (6.3 bar / 91.4 psi) | Minimum 0.19 MPa (1.9 bar / 27.6 psi) |
| The operating pressure in your home should be tested over a 24 hour period to attain the maximum pressure. If it is above 0.63 MPa (6.3 bar / 91.4 psi), then a pressure regulator is necessary, and will be required. | ||
| Dimensions (length x height x width): | 371 x 420 x 190 mm | |
| Maximum flow rate membrane cartridge (water temperature +25 °C (77 °F) with a constant pressure of 0.4 MPa (4 bar / 58.02 psi) | For Aquaphor RO-101S, Aquaphor RO-101S EU, Aquaphor RO-101S IL — 50 GPD For Aquaphor RO-102S, Aquaphor RO-102S EU, Aquaphor RO102S IL —100 GPD | |
| Cleaned water to drained water ratio (wa- ter temp. no less than +20 °C / 68 °F) | 1:4-1:6 | |
| Mass no more than | 6.2 kg /13.66 lbs | |
| pH parameters: | Maximum 10 | Minimum 4 |
| Iron: | Maximum 0.3 ppm | |
| TDS (Total Dissolved Solids): | Maximum 2000 ppm | |
| Turbidity: | Maximum 1 NTU | |
| Hardness: | Recommended water hardness should not exceed 350 ppm as CaCO3 (20.5 grains per gallon). The system will operate with hardness over 350 ppm (20.5 gpg), but the membrane cartridge life may be shortened. The addition of a water softener may lengthen the membrane cartridge life. | |
Table 1. The dependence of minimum necessary operating pressure of the water purifier from mineralization.
| Mineralization | Minimum pressure | |||
| mg/L, ppm | gpg | MPa | bar | psi |
| 100.1 | 5.8 | 0.2 | 2 | 29.01 |
| 200.2 | 11.7 | 0.25 | 2.5 | 36.26 |
| 300.3 | 17.5 | 0.3 | 3 | 43.51 |
| 400.4 | 23.4 | 0.4 | 4 | 58.02 |
| 501.5 | 29.2 | 0.6 | 6 | 87.02 |
ATTENTION!
The efficiency of RO depends on the incoming tap water mineralization and tap water pressure (please see Table 1). The recommended operation of RO requires tap water pressure of at least 0.2 MPa (2 bar / 29.01 psi).
When tap water pressure is less than illustrated in the Table 1, it is highly recommended to install a booster pump in order to obtain drainage ratio.
Safety instructions
WARNING: RO must be applied to potable water only.
It is highly recommended that a water treatment specialist be hired to install and maintain this appliance.
When installing the appliance into a local water supply, it is recommended that you conduct a full water analysis. If the water analysis does not correspond with the requirements, the life of the filtration and membrane cartridges may be significantly reduced. In this case, it is recommended to use auxiliary water treatment systems (e.g. mechanical filter, de-ironing filter with, or alongside a water softener). Only use microbiological safe water with your Reverse Osmosis system appliance.
CAUTION: Do not use water that is microbiologically unsafe or water of unknown quality without adequate disinfection before or after using the appliance.
CAUTION: Reverse Osmosis water should not be run through copper tubing as the purity of the water will leach copper and cause an objectionable taste in the water. Additionally, it will form pinholes in the tubing. Be sure to follow any state or local regulations.
CAUTION: The Reverse Osmosis system is designed to be connected to cold water only. Never run warm or hot water through your appliance.
Product assembly:
| N° | Component | Quantity | |
| 1 | RO Housing assembly (1) | 1 pc | |
| 2 | Cartridges: | ||
| 2. | Preliminary water treatment block: | ||
| Replacement filter cartridge K5 (for Aquaphor RO-101S, Aquaphor RO-102S, Aquaphor RO-101S IL, Aquaphor RO-102S IL) (3) | 1 pc | ||
| Replacement filter cartridge K1 (for Aquaphor RO-101S EU, Aquaphor RO-102S EU) (3) | 1 pc | ||
| Replacement filter cartridge K2 (2) | 1 pc | ||
| 2. | Reverse Osmosis membrane block: | ||
| Replacement membrane cartridge Aquaphor RO-50S (for Aquaphor RO-101S, Aquaphor RO-101S EU, Aquaphor RO-101S IL) (4) | 1 pc | ||
| Replacement membrane cartridge Aquaphor RO-100S (for Aquaphor RO-102S, Aquaphor RO-102S EU, Aquaphor RO-102S IL) (4) | 1 pc | ||
| 2.3. | Water conditioning block: | ||
| Replacement filter cartridge K7M (for Aquaphor RO-101S, Aquaphor RO-102S, Aquaphor RO-101S IL) (5) | 1 pc | ||
| Replacement filter cartridge K7BM (for Aquaphor RO-101S EU, Aquaphor RO-102S EU, Aquaphor RO-102S IL) (5) | |||
| 3 | JG connecting tubes (6): | ||
| JG tube 3/8″ (d 9,5 mm) | 1 pc | ||
| JG tube 1/4″ (d 6,35 mm) (drain) | 1 pc | ||
| JG tube 1/4″ (d 6,35 mm) with pressed metal bushing | 1 pc | ||
| 4 | Drain saddle (7) | 1 set | |
| 5 | Connection node (8) | 1 set | |
| 6 | Clean water faucet (9) | 1 set | |
| 7 | Service cap (pre-installed in housing) for: | ||
| Replacement filter cartridges K5 (for Aquaphor RO-101S, Aquaphor RO-102, Aquaphor RO-101S IL, Aquaphor RO-102S IL), K1 (for Aquaphor 1015 EU, Aquaphor 102S EU), K2, K7M (for Aquaphor RO-101S, Aquaphor RO-1025, Aquaphor RO-101S IL), K7BM (for Aquaphor RO-101S EU, Aquaphor RO-1025 EU, Aquaphor RO-102S IL) (10a) | 3 pc | ||
| Membrane cartridge (pre-installed in housing) (10b) | 1 pc | ||
| 8 | Slotted plug (under top lid) (11) | 3 pc | |
| 9 | Plastic key for JG tube (under top lid) (12) | 1 pc | |
| 10 | Operation Manual | 1 pc | |

During transportation, the component parts are located under the top lid. To open the lid, please turn the three plastic latch screws on the cover 90 degrees counterclockwise (figure 2).

RO design and operation principles
- RO housing (1) consists of an upper plate, with four collectors fixed onto it, to place the replacement cartridges and the RO-hydro automatic unit RO. The upper lid comes with a decorative cover, fixed in place with three plastic latches. An integral part of the RO housing is the treated water storage tank (6). Treated water goes into the storage tank upon exiting the membrane cartridge. This storage tank ensures availability of the required amount of filtered water always.
- Preliminary water treatment block (2, 3) includes replacement filter cartridge includes replacement filter cartridge K5 (for RO-101S, RO-102S, Aquaphor RO-101S IL, Aquaphor RO-102S IL) (3) or cartridge K1 (for RO-101S EU, RO-102S EU) (3) and K2 (2). The preliminary water treatment block removes any impurities that can damage membrane cartridge, such as ferric hydroxide and active chlorine.
- Reverse Osmosis membrane block (4) includes the replacement membrane cartridge Aquaphor RO-50S (for RO-101S, RO-101S EU, Aquaphor RO-101S IL) or Aquaphor RO-100S (for RO-102S, RO-102S EU, Aquaphor RO-102S IL) and purifies water by removing organic compounds, non-organic compounds, and salts while sof- tening water.
- Water conditioning block (5) includes the mineralizing cartridge K7M (for RO-101S, RO-102S, Aquaphor RO-101S IL) or K7BM (for RO-101S EU, RO-102S EU, Aquaphor RO-102S IL). The water conditioning block eliminates unwanted odors and flavors from water while mineralizing the water.
Figure 3. RO main components
1 – RO housing assembly;
2, 3 – Preliminary water treatment block;
4 – Reverse Osmosis membrane block;
5 – Water conditioning block;
6 – Storage tank

How RO works
The water coming from the cold water mains enters RO and passes through the preliminary water treatment block. From there, water enters the Reverse Osmosis membrane block via the automatic check valve. The unit housing the membrane cartridge has two outlets: the treated water outlet and the drain water outlet. On its way to the drain, the water will also pass through a flow restrictor. The flow restrictor flushes the drain water that goes down the drain. The treated water enters the storage tank that has a built-in membrane. This separates the tank into two chambers: storage and technical. The storage chamber contains the fully purified drinking water, while the technical chamber contains water from the mains. As clear water collects, water from the mains is forced from the technical chamber into the drain, also preventing the accumulation of clear water. When the storage tank is full, the automatic check valve cuts off the water intake into RO.

When the clean water faucet is opened, water from the mains enters the technical chamber via the shutoff valve and forces treated water from the storage chamber through the faucet via the conditioning block. The automatic check valve then triggers and opens water supply to the RO-storage tank.
RO installation
ATTENTION!
Only install your RO by a qualified plumber who is certified to perform the installation in accordance with state law. Locate the appropriate installation place for the faucet and RO. Take care to ensure that the delivery tubes are pulled freely, without over bending. RO must be installed on a flat, even solid surface as installation on an uneven surface may cause vibration or noise. Additionally, RO must be located away from heat sources, such as kitchen ovens, hot water supply pipes, dishwashers or washing machines, or at least isolated from such heat sources.
Picture 4. RO installation scheme

Connection node assembly
- Turn the water off at the cold water main.
- Open the kitchen faucet to discharge pressure into the water line.
- Unscrew the nut from the flexible line cap, leading to the faucet on the cold water main.
ATTENTION! Residual water will be left inside of the flexible JG tube after discharge of water.
When disconnecting the flexible line, please use a 200 ml or similar size container to drain the water left behind in the tube.
- Screw the cap nut off the connection node and on the cold water main thread.
- Screw the cap nut off the flexible line, and then on the connection node thread.
- Set the shutoff valve on the connection node to the closed position and then make sure that the connection is completely leak-proof by supplying water to the cold water
main. - Connect JG tube (follow the instructions below to correctly connect the JG tubes).
ATTENTION! Make sure that the sealing O-Ring is located correctly in its place and not damaged during installation.

Connection of JG tubes
Pull the locking clip (2) off the plastic plug (1). Then install the previously wetted end of the tube (3) into the fitting piece approx.15 mm up to the stop. Next, put the locking clip (2) back.
Make sure that the tube (3) is tightened correctly: the tube should not be pulled out by force greater than 8-10 kgf.
Figure 6. Connection of JG tubes

Disconnection of JG tubes
Pull the locking clip (2) off the plastic plug (1), then pull the tube (3) out by applying pressure on the face of the connecting piece. To apply pressure, use the tube disconnection key (4) included in the water filter set.
Figure 7. Disconnection of JG tubes

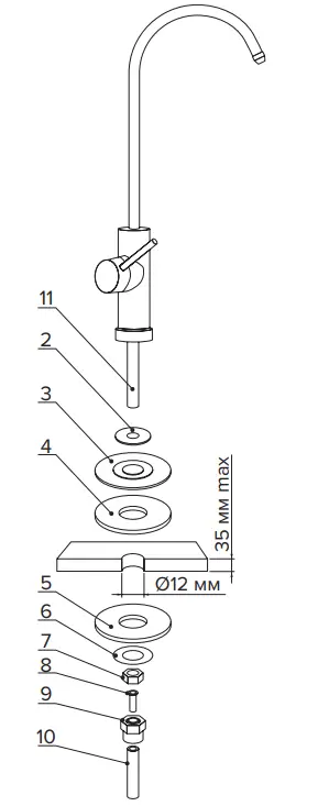
Clean water faucet installation
- Drill the hole in the sink (table top) 12 mm diameter;
- Put on the thread tail of the faucet (11) rubber gasket (2), decorative stand (3), rubber gasket (4) and insert the faucet into the hole in the sink;
- Underneath the sink, put plastic (5) and metal (6) lock washers on the thread bushing and screw on the fastening nut (7);
- Put on the captive-nut (9) on the plastic pipe (10) with pressed metal bushing (8) (fig. 8) and screw on the nut onto the tail end of the faucet.
ATTENTION!
- When you replace the original tap with a different one, there may be noise when you open it, and clean water flow reduction from the tap may occur.
- When you replace the original pipes with the longer ones, there may be noise and clean water flow reduction from the tap.
- If the water filter has not been used for a long time, the valves may turn on, making short-term noise. It is not a sign of the system malfunction.
- Open the clean water tap fully when you use the water filter, otherwise noise may occur. It is not a sign of the water filter malfunction.
Figure 8. Tube connecting to the clean water faucet procedure

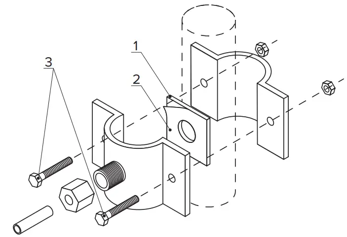
Drain saddle installation
Figure 9a. Drain saddle components

It is best install the drain saddle on the sink drain before the siphon trap or bend (the drain saddle on most drain pipes is of ~40 mm diameter).
- Apply the part of the collar with the fitting to the pipe to determine the optimal position of the collar and the pipe hole.
- Drill a 7 mm hole in the planned tube location on the tube pipe.
- Remove the cut circle from the sealing gasket (1).
- Remove the protective tape (2) from the sealing gasket (1). Place the sealing gasket (1) on the collar inner side, so that the hole in the gasket meets the hole in the collar fitting.
- Install the collar onto the pipe, carefully align- ing the hole in the fitting with the drilled hole; tighten the bolts (3). The bolts must be tightened evenly in such a way that the two parts of the collar are located in parallel.
- Put the plastic nut onto the JG drain tube (1/4”, black) so that the tube is protruding from the other side of the nut by a length of 20 mm (see figure 9b).
To eliminate any noise from the water in the drain saddle, push the JG tube deeper into the pipe.

Slotted plug installation
Figure 10. Slotted plug installation

- Install the slotted plug into the JG tube 3/8” (9.5 mm) tube to a stop, as shown on figure 10.
- Remove the clip from the JG tube 3/8” socket of the water filter, and then connect this tube end to it (see the connection of the JG tubes on figures 6 and 7).
ATTENTION! The set includes three slotted plugs: one for installation and two are for spares.
Starting RO
To start RO, you must connect the supply tube and carry out the flushing procedure of filter and membrane cartridges.
Step 1
Connect the incoming tubes according to thediagram below (figure 11). The tube connectionscheme is illustrated on figure 6
Figure 11. Incoming tubes connection

Step 2
Preparing RO for operation
- Rotate the three latches 90 degrees in a counterclockwise direction and remove the water filter cap (figure 2).
Table 2. Positions of RO cartridges in preparation for operation
| Stop button colors | Cartridge type |
| BLACK | K2 |
| BLUE | К5 / К1 |
| RED | Service Cap |
| WHITE | К7М / К7ВМ |
- Make sure the service cap is installed in the housing.
- Remove the shrink film from the cartridges.
- Rinse the sealing O-Rings of the cartridges and service cap.
- Remove service caps and install cartridgies according to table 2. For convenience, the stop buttons of the collectors have the different color.
- Set the shutoff valve on the connection node into the open position, as shown on figure 4.
- Leave the clean water faucet open for 10 minutes.
The noise during the flushing of the cartridges is not a defect. - Close the clean water faucet.
Step 3
Flushing the membrane cartridge unit
- Set the shutoff valve on the connection node into the closed position, as shown on figure 5.
- Remove the service plug and install membrane cartridge.
- Interchange the К5 / К1 and K2 cartridges.
- Turn the shutoff valve on the connection node into the open position.
- Open the clean water faucet, then wait for the water to start flowing.
- Let the water flush through RO for 1 hour.*
- Close the clean water faucet.
Step 4
Flushing the conditioning cartridge К7М / К7ВМ
- Close the clean water faucet and fill in the storage tank. This will take 30–50 minutes, depending on water pressure.
- Open the clean water faucet and then wait until all of the water flows out from the storage tank.
- Repeat these steps two more times.
- Close the clean water faucet.
- When the tank is full, RO is ready for operation.
NOTE: In total, the general flushing of filter and membrane cartridges and startup time will take you about 3 hours.
Replacing cartridges
The membrane cartridge service life directly depends on operation of the preliminary water treatment unit (cartridges К5 / К1 and K2). Therefore, it is always very important
to replace the filtering cartridges in a timely manner.
Replacing cartridges К5 / К1 and K2 (figure 12):
- Set the shutoff valve on the connection node into the closed position, and then open the clean water faucet to discharge any pressure.
- Press the button above the cartridge, and then rotate the used filter cartridges К5 / К1 and (or) K2 in a clockwise direction to remove the used cartridge.
- Install the new cartridges К5 / К1 and (or) K2 according to Table 2.
- Press the button above the cartridge, and then rotate the membrane cartridge in a clockwise direction to remove it.
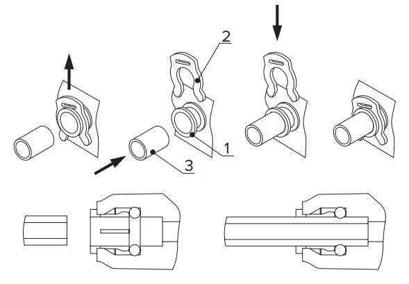
- Make sure the service cap is installed in the housing (figure 1, position 10b), figure 13.
- Set the shutoff valve on the connection node into the open position.
Figure 12. Cartridge installation
Figure 13. Installation of the membrane cartridge service plug
- Open the clean water faucet and flush the preliminary water treatment cartridges for around 20–30 minutes.
- Set the shutoff valve on the connection node into the closed position.
- Install the membrane cartridge instead of the service cap.
- Interchange the positions of К5 / К1 and K2 cartridges.
- Set the shutoff valve on the connection node into the open position and close the clean water faucet.
- Make sure that RO connections are sealed.
Replacing the conditioning cartridge K7M / К7ВМ
- Set the shutoff valve on the connection node into the closed position; then open the clean water faucet to discharge pressure.
- Press the button above the cartridge, and then rotate the used conditioning cartridge K7M / К7ВМ in a clockwise direction to remove it.
- Install a new conditioning cartridge.
- Set the shutoff valve on the connection node into the open position; then wait for all of the water to flow out from the storage tank through the clean water faucet.
- Then close the clean water faucet.
- When the tank is filled, your RO is ready for operation.
- Make sure that RO is properly sealed.
Replacing the membrane cartridge
- Set the shutoff valve on the connection node into the closed position, and then open the clean water faucet to discharge pressure.
- Press the button above the cartridge, and then rotate the used membrane cartridge in a clockwise direction to remove it.
- Install a new membranecartridge in place of the removed one.
- Turn the shutoff valve on the connection node to the open position.
- Flush the water through RO for duration of approximately 1 hour.*
- Close the clean water faucet.
- When the tank is filled, RO is ready for operation.
- Make sure that RO is properly sealed.
ATTENTION! To avoid any incorrect installation of the membrane cartridge and the resulting loss of sealing of the RO connections, it is not recommended to dissemble it without a fully qualified maintenance specialist. If the RO connections are leaking, immediately close the tap on the connection unit and check the cartridges for correct installation.
Recommended filter replacement
The frequency at which the filter and membrane cartridges should be replaced depends on the quality of the water that enters the appliance. Contact your water treatment specialist for replacement filters and parts.
NOTE: The installation of the RO appliance on a pre-treated water supply will greatly increase the life of its filters.
Table 3. Recommended filter replacement
| Filter Cartridges | Recommended Replacement (months) |
| Replacement filter cartridge K5 / K1 (1) | 6 |
| Replacement filter cartridge K2 (2) | 6 |
| Replacement membrane car- tridge RO-50S / RO-100S (3) | 12 |
| Replacement filter cartridge K7M (4) | 12 |
| Replacement filter cartridge K7BM (4) | 6 |
Once purchased, the cartridges can be stored for three years from the manufacturing date.
Recommended filter maintenance
The frequency at which the filter and membrane cartridges should be replaced depends on your tap water quality.
Note: Any filter that demonstrates reduced water production or a slower rate of flow is likely to be overdue for a change.
WARNING: Shut off the water to the appliance before beginning any maintenance work.
* Depending upon storage, transportation and operation conditions, complete flushing of the membrane cartridge may take up to 24 hours.
Replacement of filter cartridge К5 / К1 (1)
Reduces dirt and other sediment particle matter of 5 micron or larger in the incoming water. Replace the К5 / К1 filter cartridge every three months.
Replacement of filter cartridge K2 (2)
This reduces free chlorine from the incoming water and protects the membrane from any chlorine degradation. Changing frequency of the replacement filter cartridge K2 should be based on the free chlorine levels in the incoming water. If the free chlorine is 1 ppm or less, then the replacement filter cartridge K2 should be replaced once a year. If the free chlorine level is greater than 1 ppm, then the replacement filter cartridge K2 should be replaced once in every six months.
Replacement membrane cartridge RO-50S / RO-100S (3)
The semi-permeable membrane cartridge (3) separates the majority of the remaining suspended solids and most of the dissolved solids from the water molecules. These separated impurities are then washed down the drain. The membrane cartridge (3) is critical for the effective reduction of total dissolved solids (TDS). The treated water should be tested periodically to verify that the appliance is performing satisfactorily. A noticeable change in water quality and taste may occur. If this happens, it is an indicator that a filter change is needed. Replace the membrane cartridge at least once a year.
Replacement filter cartridge K7M / К7ВМ (4)
The replacement filter cartridge K7M or К7ВМ (4) is the final stage of filtration. It filters the water and enriches it with useful minerals that improve not only the taste, but also maintains the correct drinking water salt balance. You should replace the post filter every 6 months.
Warranty
Installation, operational, storage and transportation rules described in this manual should be maintained. The manufacturer is not responsible for operation of the Aquaphor
RO and possible consequences, in case if:
- RO or components have visible mechanical, thermal or chemical damages;
- requirements for installation and operation of the RO described in present manual were not carried out.
The lifetime of the parts of the RO is:
RO case – 5 years* starting from the manufacturing date;
Connecting pipes – 3 years* starting from the manufacturing date;
Purified water faucet – 3 years* starting from the manufacturing date;
The lifetime (capacity) of the replacement filter cartridges is:
| Name of the replace- ment filter cartridge | Lifetime (capacity) of the replacement filter cartridge |
| K5 / K1 | 6 months(1) |
| K2 | 6 months(1) |
| Membrane cartridge RO-50S / RO-100S | 1,5 years(2) |
| K7M | 1 year |
| K7BM | 6 months(1) |
| (1)Lifetime (capacity) of the replacement filter cartridges may depend on incoming water quality. If in the source water contains large amounts of insoluble impurities then cartridges K5 / K1 and K2 should be replaced after 1-3 month of operation. (2)Lifetime of the membrane cartridge is depended upon the efficiency of the prefiltration and water conditioning units. | |
Data listed above based on the average consumption of the purified water 10–12 liters per day.
Please replace cartridges in a proper time. Warranty period of the RO operation (except for replacement filter cartridges and membrane cartridge) is 2 year starting from the purchase date. The storage period of the RO before operation is maximum 3 years 1.5 year in the temperature range from +5 to +38 °C (40 to 100 °F) with intact packing. If you have any claims regarding the operation of your RO, please contact the seller or manufacturer. Manufacturer is not responsible for operational faults occurred due to inappropriate installation or maintenance.
Manufacturer is not responsible for the operational faults occurred due to inappropriate replacement cartridges. Warranty only valid for use in accordance with instruction and using only unexpired filter cartridges. Failure to timely replace filter cartridges or follow installation or maintenance voids the warranty.
* Regardless of the operation starting date.
Troubleshooting
If the appliance has difficulties working, use the Appliance shutoff valve to shut off the incoming water to the appliance.
| Problem | Possible Cause | Solution |
| Faucet flow rate is very slow. Slow flow rate or no water from faucet The storage tank fills very slowly or does not fill at all. | Shutoff valve is not corn- pletely opened. | Open the shutoff valve and faucet completely |
| One of the replacement cartridges needs to be replaced | Check which cartridge needsto be replaced accord-ing to the resource life, and replace the cartridge. In order to determine which cartridge needs to be replaced, please see the instructions below | |
| How to check if the cartridges lifespan is over. _ Close the shutoff valve and open the faucet in order to release the pressure. — Replace the cartridges K5, Kl, K2, K7M, K7BM with service caps (located under the lid). — Open the shutoff valve. — Open the faucet, flush the water from the unit until the flow rate decreases and the tank is empty. If water continues to run faster than 50 ml/min, install the cartridges one at a time K5, Kl, K2, K7M, K7BM and according the flow rate decreases deter- minate which of the cartridge (or several cartridges) needs to be replaced. If water runs slower than 50 ml/min, then the membrane needs to be replaced. Turn off the shutoff valve and open it every time you replace each cartridge | ||
| If any other faults are identified, please contact our customer service department at or email [email protected] | ||
Warranty coupon AQUAPHOR RO
| Date of Sell | |
| Seller’s stamp | |
| Seller’s signature |
Please visit our website and register your RO at aquaphor.com/register for manufacturer’s warranty.
Installation information
| Installation is carried out: Name of the company which carried out installation: | |
| Name of the service engineer: | |
| Service engineer’s signature: | |
| Client’s signature: | |
| For installation, operational and technical maintenance, please, contact: |

Manufacturer:
Aquaphor International OÜ, L. Tolstoi 2A, Sillamäe, Estonia, 40231.
www.aquaphor.com
The model number, date of manufacture and quality control are shown on the product’s serial number label.
The manufacturer reserves the right to make improvements to the design of the water purifier withoutreflecting them in the passport.
AQUAPHOR RO models:
| AQUAPHOR RO-101S | AQUAPHOR RO-102S EU |
| AQUAPHOR RO-102S | AQUAPHOR RO-101S IL |
| AQUAPHOR RO-101S EU | AQUAPHOR RO-102S IL |
Product serial number:
Figure 13. Installation of the membrane cartridge service plug















