riscogroup.com
DigiSense™
PIR & QUAD Detectors
Models: Digi RK415PR
Digi RK415PQ


RISCO Group Contacting Info
RISCO Group is committed to customer service and product support. You can contact us through our website (www.riscogroup.com) or at the following telephone and fax numbers:

![]() | Model / Lens | Wide-angle (H) | Corridor (LLPL02) (H) | Curtain (LLPL03) (H) |
| RK415PR RK415PQ | 2m-3m (6’7’’- 8’10’’) 2m-3m (6’7’’- 8’10’’) | 2.5m (8’2.4”) 2.5m (8’2.4”) | 1.5m (Typical) 1.5m (Typical) |

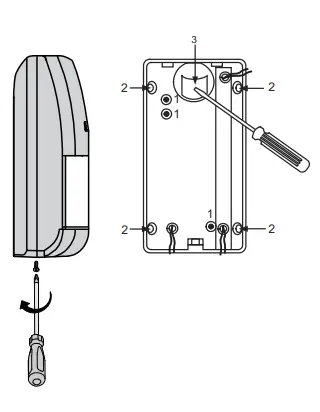
Mounting

| 1 | 2 | 3 |
| Wall mounting | Wall mounting | Wall mounting |

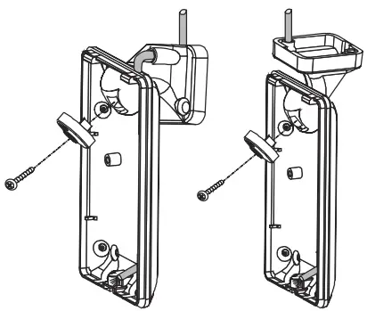
Swivel Mounting
- Remove the swivel entry knockout and cable entry knockouts located on the base of the detector.
- If required, remove wires entry knockouts on the swivel.
- Attach the swivel to the selected location on the wall or the ceiling.
- Attach the base to the swivel using the supplied plastic washer and attaching screw.
- Feed the cables into the detector base.
Terminal Wiring

Terminal Connection
- 12VDC: Power supply inputs
- ALARM: NC Dry Contact switch
- TAMPER: NC Dry Contact switch
- LED: 12VDC activated input.
LED is enabled if it is not connected or the 12VDC is applied.
The LED is disabled if GND is applied.
Jumper Settings
| Important | |||
| 1 pulse | 2 pulses | 3 pulses | For corridor and curtain lens use only 1 pulse. |
| LED Enable | LED Disable |
Schematic of EOL resistors

Walk test
Walk Test
Two minutes after applying power (warm-up period), walk test the detector over the entire protected area to verify proper operation of the unit.

Replacing Lenses
Replacing Lenses
The detector’s lens is attached to the outside of the front plastic cover by four clips.
To replace the lens:
- Push on each one of the four clips from inside of the cover.
- Lift the Lens from the outside of the cover.
- Select the desired lens and make sure that the long pin is pointed upwards.
- Insert two clips on one side of the lens into the matching holes in the cover and push them inside until click.
- Repeat step 4 with the two clips on other side of the lens.
- At the end, verify all four clips are holding the cover.
| Ordering part numbers | |
| Part / Model number | Description |
| RK415PR | DigiSense PIR 15m |
| RK415PQ | DigiSense Quad 15m |
| LLPL02 | Corridor lens |
| LLPL03 | Curtain lens |
LEDs Display
| LED | Description |
| RED | Indicates ALARM |
Technical Specifications
| RK415PR / RK415PQ | |
| Coverage | 15m x 15m (49’ x 49’) |
| Installation height | 2-3m (6’,6.7’’-9’,10’’) |
| Operating voltage | 9 to 16 VDC |
| Current consumption | 12mA at 12V, max23.5 mA at 16V |
| Alarm and Tamper contacts | 0.1A, 24V, NC |
| Optical filtering | White light protection, pigmented lens |
| Operating temperature | -20° to +55°C (-4°F to 131°F) |
| Storage temperature | -20° to + 60°C (-4°F to 140°F) |
| Dimensions | 106 x 60 x 47mm (4’’ x 2.3’’ x 1.8’’) |
RISCO Group Limited Warranty
RISCO Group and its subsidiaries and affiliates (“Seller”) warrant its products to be free from defects in materials and workmanship under normal use for 24 months from the date of production. Because Seller does not install or connect the product and because the product may be used in conjunction with products not manufactured by the Seller, Seller cannot guarantee the performance of the security system which uses this product. Seller’s obligation and liability under this warranty is expressly limited to repairing and replacing, at Seller’s option, within a reasonable time after the date of delivery, any product not meeting the speci cations. Seller makes no other warranty, expressed or implied, and makes no warranty of merchantability or of fitness for any particular purpose. In no case shall the seller be liable for any consequential or incidental damages for breach of this or any other warranty, expressed or implied, or upon any other basis of liability whatsoever. The seller’s obligation under this warranty shall not include any transportation charges or costs of installation or any liability for direct, indirect, or consequential damages or delay. Seller does not represent that its product may not be compromised or circumvented; that the product will prevent any personal injury or property loss by burglary, robbery, re or otherwise; or that the product will in all cases provide adequate warning or protection. Buyer understands that a properly installed and maintained alarm may only reduce the risk of burglary, robbery, or re without warning, but is not insurance or a guarantee that such event will not occur or that there will be no personal injury or property loss as a result thereof. Consequently, the seller shall have no liability for any personal injury, property damage, or loss based on a claim that the product fails to give a warning. However, if the seller is held liable, whether directly or indirectly, for any loss or damage arising under this limited warranty or otherwise, regardless of cause or origin, the seller’s maximum liability shall not exceed the purchase price of the product, which shall be the complete and exclusive remedy against the seller. No employee or representative of Seller is authorized to change this warranty in any way or grant any other warranty.
WARNING: This product should be tested at least once a week.
UK Tel: +44-161-655-5500
E-mail: [email protected]
50131-2-2 Grade 2 Environmental Class II
© RISCO Group 01/2013 5IN1414 C



















