Saxby 90977 2 In 1 PIR Detector

Thank you for purchasing this light fitting. Please read the instructions carefully before use to ensure safe and satisfactory operation of this product. Please retain these instructions for future reference.
Precautions
Warning
This product is double insulated and does not require connection to an Earth circuit.
- Please read these instructions carefully before commencing any work.
- This unit must be fitted by a competent and qualified electrician.
- Install in accordance with the IEE Wiring regulations and current Building Regulations.
- Check the pack and make sure you have all the parts listed.
- To prevent electrocution switch off at the mains supply before installing or maintaining this fitting. Ensure other persons cannot restore the electrical supply without your knowledge.
- If you are in any doubt, please consult a qualified electrician.
- If replacing an existing fitting, make a careful note of the connections.
- This unit should be connected to a fused circuit.
- This unit is only suitable for indoor use.
- Waste electrical products should not be disposed of with household waste. Please recycle where facilities exist. Check with your local authority or retailer for recycling advice.
Layout

- This product is designed for optimum performance when mounted in ceiling 2.2-4m above the ground.
- Avoid pointing at or positioning close to heat sources such as flues or heat extraction units, which may cause false triggering.
- Avoid pointing at bright lights as unit will not function when you set Lux control Level to dark.
- Avoid locating near electromagnetic fields.
- The mains supply cable must have a minimum cross section area of 1.0mm2.
- Cables must be protected using suitable conduit or plastic trunking.
Installation
- Existing fittings must be completely removed before installation of a new product. Before removing the existing fitting, carefully note the position of each set of wires.
- Note that the switch is turned off before installation.
- Ensure that the screws and cable entry points are sealed to maintain the IP rating of the product.
- After deciding the layout of the light fittings ensure that the cables are long enough to connect to desired positions.
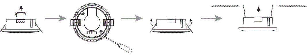
Installation one

- Please remove the metal spring of the sensor.
- Connect the power and the load according to the connection-wire diagram.
- Fix the bottom on the selected position with the inflated screw.
- Install back the upper cover on the sensor, then you could switch on the power and test it.
- Wire as detailed below.
Installation two

- Unload the transparent vinyl cover which is at the bottom of the sensor.
- Loose the screws in the connection terminal, and then connect the power to connection terminal of sensor according to connection-wire diagram.
- Fold the metal spring of the sensor upwards, until they are in “I” position with sensor, and then put the sensor into the hole or installation box which is on the ceiling and has the similar size with the sensor. Releasing the spring, the sensor will be set in this installation position.
- After finishing installing, turn on the power and then test it.
- Wire as detailed wiring diagram.
Wiring
- This product is double insulated and must not be earthed. If there are any incoming earth cables, they must be joined together and well-insulated with good-quality insulation tape. This is to ensure earth continuity throughout your property.
- Having correctly identified the wiring from your existing light fitting and connect to the connection block inside the product in the following way:
Check that…

- You have correctly identified the wires
- The connections are tight
- No loose strands have been left out of the connection block
- The cable clamp is fitted over the wires.
PIR Adjustment

- Turn the TIME knob anti-clockwise on the minimum (1 Os). Turn the LUX knob clockwise on the maximum (sun).
- Switch on the power, the sensor and its connected lamp will have no signal at the beginning. After Warm-up 30sec, the sensor can start work.
- If the sensor receives the induction signal, the lamp will turn on. While there is no another induction signal any more, the load should stop working within 1 Osec±3sec and the lamp would turn off.
- Turn LUX knob anti-clockwise on the minimum (moon). If the ambient light is more than 1 OLUX, the sensor would not work and the lamp stop working too. If the ambient light is less than 1 OLUX (darkness), the sensor would work.
- Under no induction signal condition, the sensor should stop working within 1 Osec±3sec.
Note: when testing in daylight, please turn LUX knob to
(SUN) position, otherwise the sensor lamp could not work!
Technical data
- Supply Voltage: 220-240VPower
- Frequency: 50Hz
- Ambient Light: <10-2000LUX (adjustable)
- Time Delay: Min.1 Osec±3sec
- Max.7min±2min
- Rated Load: Max.2000W

- 1000W

- 1000W
![]()
- Conformity with all relevant UKCA Directive requirements.
- Conformity with all relevant CE Directive requirements.
- The power supply is Double Insulated and does not require connection to an Earth circuit.
- Waste electrical products should not be disposed of with household waste. Please recycle where facilities exist. Check with your Local Authority or local store for recycling advice.
Care and Safety
- We recommend cleaning with a soft dry cloth. Do not use solvents or abrasive cleaners as these could damage the finish.
- For your safety, always switch off the power supply before changing lightbulbs, or cleaning.
More Information
- UK Manufacturer: BH 17 7BY
- EU Manufacturer: Brilliant AG, Brilliantstrasse 1, D-27442 Gnarrenburg
- www.saxbylighting.com

















