

Contemporary Lighting™
ITEM NUMBER: E35101
DESCRIPTION: iCorona 24″ LED Flush Mount with Wiz RGBW

PLEASE CONSULT AN ELECTRICIAN BEFORE INSTALLATION
LAMPING: CCT WHITE TUNABLE LED INTEGRATED 28W
Vinput: 120-277V MADE IN
CHINA | HECHO EN CHINA | FABRIQUE EN CHINE
Before Getting Started
Read the instructions carefully prior to assembling the product.
When you open the package with a sharp tool like acutterknife, be careful not to damage the components inside.
Carefully remove all packaging materials and retain for future use.
Keep all hardware parts and packaging out of reach of small children.
Choose a clean, level, spacious assembly area.
Avoid hard surfaces that may damage the product.
Ensure that you have all required contents for complete assembly.
Ta k e care when lifting. Assemble the product in close proximity to where you intend to position the item.
Do not over tighten the screws and bolts as this may damage the threads.
Do not let children play with this product.
Risk of suffocation!
Keep any packaging materials away from children.
Lamp Care Instructions
Carefully read through the instruction sheet before assembly and using the product.
Caution there is a risk of shock. Disconnect from power source before assembling or cleaning.
WARNING: Wires need to be connected to driver found in canopy and should not be connected directly to power sourceor a short may occur.
Only use the recommended bulb type and do not exceed the maximum wattage as it could cause fire.
Do not plug the product in if cord is torn or frayed.
Cleaning & Maintenance
On polished finishes, often using talc powder reduces the appearance of fingerprints and other smudges.
For respective shade surfaces, use the appropriate cleansers, i.e. glass cleaner, acrylic polish, and wood polish.
Clean with soft cloth and a mild detergent. DO not use abrasive cleaner.
Periodically (every 90 days) make sure that the screws are fully tightened.
Prolonged exposure to heat sources may cause glazing, melting and scorching, or even cause color to fade.
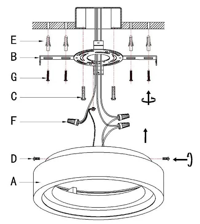
Contents
Before getting,started,ensure the package contains the following components:


CRITICAL INSTRUCTION
WIRING DIAGRAM (ONLY FOR REFERENCE)
DO NOT ATTEMPT TO CUT FACTORY CONNECTIONS WITHOUT QUALIFIED KNOWLEDGE. MODIFICATIONS
MADE TO THIS PRODUCT WITHOUT THE CONSENT OF THE MANUFACTURER WILL VOID WARRANTY.

NOTE: Notice the wiring diagram and wire color when connecting wires between Wiz controller and LED source
SCHEMATIC FOR GENERAL REFERENCE ONLY a
IMPORTANT
P—C“s Make sure that your dimmable LED fixture is paired with the correct dimmer type
Must be installed by a licensed electrician with knowledge of electronic lighting systems


NOTE: Please allow up to 1 minute after initial startup, for fixture to pair.
STEP 1 DOWNLOADING THE WiZ APP
Make sure you’ve properly installed your light fixture prior to syncing device. Download the WiZ App from Google Play or the Apple App Store. (IF YOU HAVE NOT YET INSTALLED YOUR LIGHT, INSTRUCTIONS CAN BE FOUND IN THE PRIOR PAGES TITLED “ASSEMBLY INSTRUCTIONS.”)
NOTE: The WiZ app MUST CONNECT TO A 2.4GHz Wi-Fi NETWORK IN ORDER TO PAIR YOUR LIGHTS.
TROUBLESHOOTING
| PROBLEM | CAUSE | SOLUTION |
| Unable to find light fixture on the network | Light may not be in Connectivity Mode | Cycle the light switch connected to light ON/OFF 3 times to enter Pairing Mode. |
| Unable to operate light fixture with the connected light switch | Wiring Issue | Review and confirm the INSTALLATION instructions. |
| No Electricity | Check that the power is ON at the connected light switch and circuit breaker. | |
| Lights not responding to WiZ APP control
| Network is not connected | Check wireless network connectivity. |
| Light may not be paired correctly | Cycle the light switch connected to light ON/OFF 5 times to enter Pairing Mode. | |
| Permissions are not granted on mobile device | Check to see that permissions are granted for the WiZ APP. | |
| Wi-Fi password is incorrect | Re-enter WiFi Password. | |
| Lights not connecting to the WiZ APP | Weak/low Wi-Fi signal | Check Wi-Fi signal to ensure you’re within range of router. |
| Wi-Fi not connected | Confirm Wi-Fi router is broadcasting a 2.4GHz signal. Re-connect. |
The following importer is the responsible party: LLC Sales, Inc. DBA Liteline USA
1209 Orange Street, Wilmington, DE, 19801 Liteline.com/contact-us
This device complies with part 15 of the FCC Rules. Operation is subject to the following two conditions: (1) This device may not cause harmful interference, and (2) this device must accept any interference recieved, including interference that may cause undesired operation.
Changes or modifications not expressly approved by the resposible party could void the user’s authority to operate the equipment.
Note: This equipment has been tested to comply with the limits for a Class B digital device, pursuant to part 15 of the FCC Rules. These limits are designed to provide reasonable protection against harmful interference in a residential installation. This equipment generates, uses and can radiate radio frequency energy and, if not installed and used in accordance with the instructions, may cause harmful interference to radio communications. However, there is no guarantee that interference will not occur in a particular installation. If this equipment does cause harmful interference to radio or television reception, which can be determined by turning the equipment off and on, the user is encouraged to try to correct the interference by one or more of the following measures: (1) reorient or relocate the receiving antenna; (2) increase the separation between the equipment and receiver; (3) connect the equipment into an outlet on a circuit different from that to which the receiver is connected; consult the dealer or an experienced radio/TV technician for help.
RF Exposure Requirements: This device complies with FCC RF radiation exposure limits set forth for an uncontrolled environment. The antenna(s) used for this transmitter must not be co-located or operating in conjunction with any other antenna or transmitter and must be installed to provide a separation distance of at least 20cm from all persons.
ISED Canada Compliance Statement: This device contains licence-exempt transmitter(s)/receiver(s) that comply with Innovation, Science and Economic Development Canada’s licence exempt RSS(s). Operation is subject to the following two conditions: (1) This device may not cause interference; and (2) This device must accept any interference, including interference that may cause undesired operation of the device.
For more help contact WiZ support: www.liteline.com/WiZsupport


















