LUMINOSA LT1044 2-Light Interior Semi Flush Mount

Questions, problems, missing parts?
Please consult your local The Home Depot store or email Customer Service [email protected]
8 a.m. – 5 p.m., EST, Monday – Friday
Safety Information
![]() | WARNING: Carefully read and understand the information given in this manual before beginning the assembly and installation. Failure to do so could lead to electric shock, fire or other injuries which could be hazardous or even fatal. |
![]() | WARNING: Be sure the electricity to the wires you are working on is shut off. Either remove the fuse or turn the circuit off. |
| NOTICE: Changes or modifications not expressly approved by the party responsible for compliance could void the user’s authority to operate the equipment. | |
Warranty
WHAT IS COVERED
The manufacturer warrants this lighting fixture to be free from defects in materials and workmanship for a period of two (2) years from date of purchase. This warranty applies only to the original consumer and only to products used in normal use and service. If this product is found to be defective, the manufacturer’s only obligation, and your exclusive remedy, is the repair or replacement of the product at the manufacturer’s discretion, provided that the product has not been damaged through misuse, abuse, accident, modifications, alterations, neglect or mishandling.
WHAT IS NOT COVERED
This warranty shall not apply to any product that is found to have been improperly installed, set-up, or used in any way not in accordance with the instructions supplied with the product. This warranty shall not apply to a failure of the product as a result of an accident, misuse, abuse, negligence, alteration, or faulty installation, or any other failure not relating to faulty material or workmanship. This warranty shall not apply to the finish on any portion of the product, such as surface and/or weathering, as this is considered normal wear and tear.
The manufacturer does not warrant and specifically disclaims any warranty, whether express or implied, of fitness for a particular purpose, other than the warranty contained herein. The manufacturer specifically disclaims any liability and shall not be liable for any consequential or incidental loss or damage, including but not limited to any labor / expense costs involved in the replacement or repair of said product.
Pre-Installation
PLANNING INSTALLATION
Read all instructions before assembly. Before starting installation of this fixture or removal of a previous fixture, disconnect the power by turning off the circuit breaker or by removing the fuse from the fuse box. To avoid damaging this product, assemble it on a soft, non-abrasive surface such as carpet or cardboard.
![]() | NOTE: Keep your receipt and these instructions for proof of purchase. |
TOOLS REQUIRED

HARDWARE INCLUDED
![]() | NOTE: Hardware not shown to actual size. |

| Part | Description | Quantity |
| AA | Mounting Strap | 1 |
| BB | Wire Connector | 3 |
| CC | Ground Screw | 1 |
| DD | Outlet Box Screw (15 mm) | 2 |
| EE | Mounting Screw (35 mm) | 2 |
| FF | Sleeve | 1 |
| GG | Metal Washer | 1 |
| HH | Plastic Washer | 1 |
| II | Gasket | 1 |
| JJ | Cover | 1 |
| KK | Finial | 1 |
PACKAGE CONTENTS

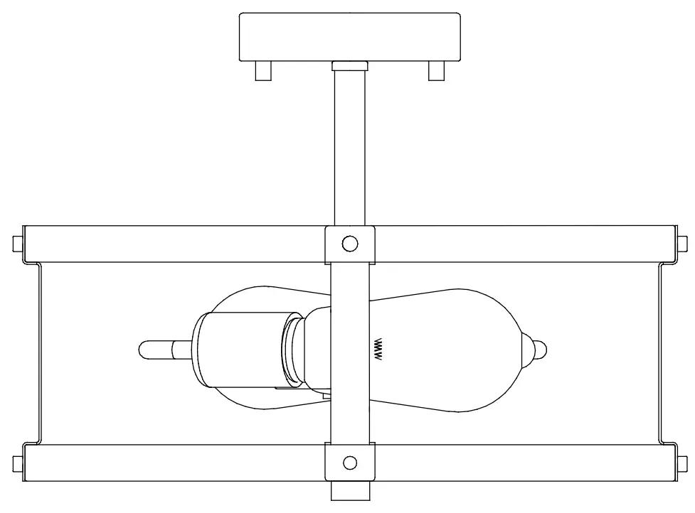
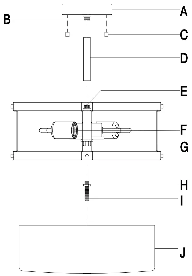
| Part | Description | Quantity |
| A | Canopy | 1 |
| B | Canopy bushing | 1 |
| C | Socket | 3 |
| D | Rod | 1 |
| E | Upper bushing | 1 |
| F | Socket | 2 |
| G | lower bushing | 1 |
| H | Hex Nut | 1 |
| I | Nipple | 1 |
| J | Globe | 1 |
Installation
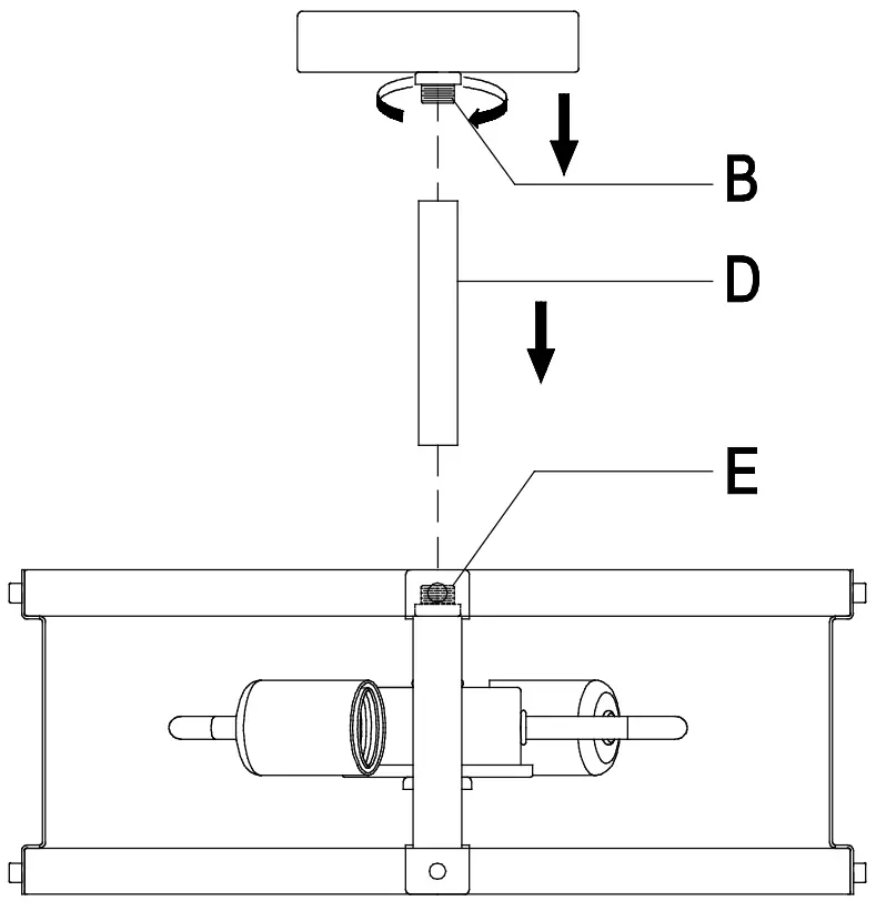
Attaching the canopy to the body
- Screw the canopy bushing (B) into the rod (D).
- Screw the rod (D) onto the upper bushing (E)

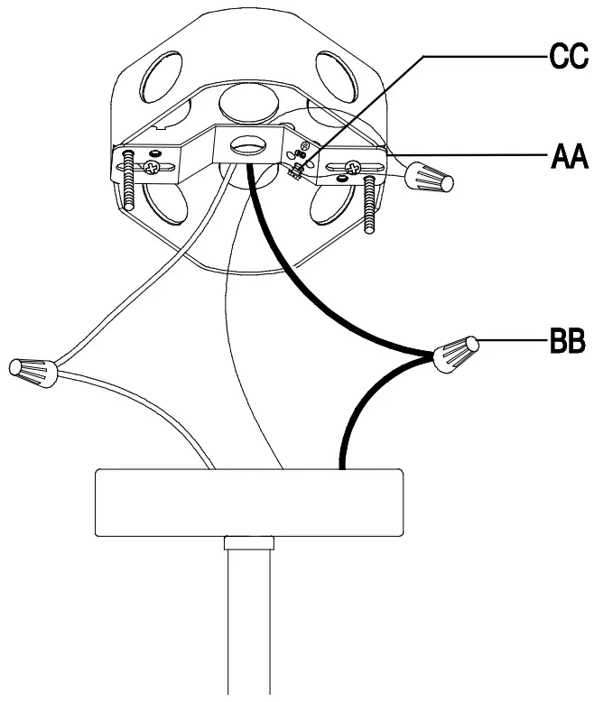
Ataching the mounting strap to the outlet box
- Screw the mounting screws (BB) into the outside holes of the mounting strap (AA).
- Mount the mounting strap (AA) to the outlet box (sold separately) using the outlet box screws (CC).
- Make sure the threads of the mounting screws (BB) are facing out when the mounting strap (AA) is attached to the outlet box.

Making the electrical connections
- Wrap the middle of the ground wire from the fixture around the ground screw (CC) on the mounting strap (AA), and use a wire connector (BB) to connect the end of the ground wire from the fixture to the ground wire from the outlet box.
- Use a wire connector (BB) to connect the wire without writing on it (with raised ribs) from the fixture to the white wire (neutral wire) from the outlet box.
- Use a wire connector (BB) to connect the wire with writing on it from the fixture to the black wire (live wire) from the outlet box.
- Warp the three wire connections with electrical tape for a more secure connection.
- Position the wires back inside the outlet box.

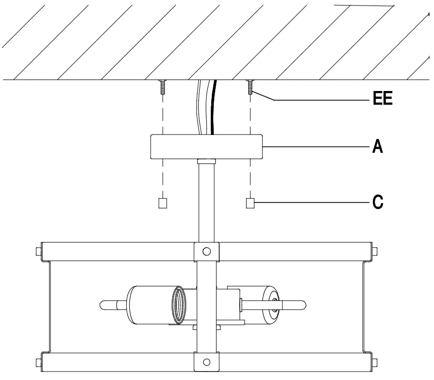
Securing the canopy
- Place the canopy (A) over the outlet box.
- Align the mounting screws (EE) so they protrude through the appropriate holes on the canopy (A).
- Screw the lock nuts (C) onto the mounting screws (EE) to secure the canopy (A).

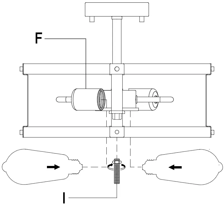
Installing bulbs and nipple
- Screw two 60-Watt maximum, incandescent mediumbase bulbs (not included) into the sockets (F).
- Screw the nipple (I) into the lower bushing (G), and then tighten the hex nut to secure the nipple (I) into the lower bushing (G).

NOTE: You can use LED equivalent energy-saving bulbs that do not exceed 8 Watts each (not included).

Attaching the globe and tighten the finial
- Place the sleeve (FF), the metal washer (GG), the plastic washer (HH), and the globe (J) over the nipple (I).
- Screw the gasket (II) onto the nipple (I) to secure the globe (J).
- Place the cover (JJ) over the nipple (I).
- Screw the finial (KK) onto the nipple (I)

Care and Cleaning
- Clean the fixture with a soft, dry cloth.
- Do not use any cleaners with chemicals, solvents or hash abrasives.
![]() | WARNING: Before attempting to clean the fixture, disconnect the power to the fixture by turning the breaker off or removing the fuse from the fuse box. |
Troubleshooting
| Problem | Possible Cause | Solution |
| The fixture will not illuminate. | The power is off. | Ensure the power supply is On. |
| The circuit breaker is off. | Ensure the circuit breaker is in the On position. | |
| The fuse blows or circuit breaker trips when the fixture is illuminated. | The wires are crossed or the power wire is grounding out. | Check the wire connections. |
Questions, problems, missing parts?
Please consult your local The Home Depot store or email Customer Service [email protected]
8 a.m. – 5 p.m., EST, Monday – Friday
Retain this manual for future use.




















