LUMINOSA
Item # 1006 705 849
Model # LT1043
Model # KSI0001LX-01
USE AND CARE GUIDE
LED INTERIOR FLUSHMOUNT

Questions, problems, missing parts?
Please consult your local The Home Depot store
or email Customer Service [email protected]
8 a.m. – 5 p.m., EST, Monday – Friday
Safety Information
WARNING: Carefully read and understand the information given in this manual before beginning the assembly and installation. Failure to do so could lead to
electric shock, fire or other injuries which could be hazardous or even fatal.
WARNING: Be sure the electricity to the wires you are working on is shut off. Either remove the fuse or turn the circuit off.
NOTICE: Changes or modifications not expressly approved by the party responsible for compliance could void the user’s authority to operate the equipment.
Warranty
WHAT IS COVERED
The manufacturer warrants this lighting fixture to be free from defects in materials and workmanship for a period of five (5) years from date of purchase. This warranty applies only to the original consumer and only to products used in normal use and service. If this product is found to be defective, the manufacturer’s only obligation, and your exclusive remedy, is the repair or replacement of the product at the manufacturer’s discretion, provided that the product has not been damaged through misuse, abuse, accident, modifications, alterations, neglect or mishandling.
WHAT IS NOT COVERED
This warranty shall not apply to any product that is found to have been improperly installed, set-up, or used in any way not in accordance with the instructions supplied with the product. This warranty shall not apply to a failure of the product as a result of an accident, misuse, abuse, negligence, alteration, or faulty installation, or any other failure not relating to faulty material or workmanship. This warranty shall not apply to the finish on any portion of the product, such as surface and/or weathering, as this is considered normal wear and tear. The manufacturer does not warrant and specifically disclaims any warranty, whether express or implied, of fitness for a particular purpose, other than the warranty contained herein. The manufacturer specifically disclaims any liability and shall not be liable for any consequential or incidental loss or damage, including but not limited to any labor / expense costs involved in the replacement or repair of said product.
Pre-Installation
PLANNING INSTALLATION
Read all instructions before assembly. Before starting installation of this fixture or removal of a previous fixture, disconnect the power by turning off the circuit breaker or by removing the fuse from the fuse box. To avoid damaging this product, assemble it on a soft, non-abrasive surface such as carpet or cardboard.
NOTE: Keep your receipt and these instructions for proof of purchase.
TOOLS REQUIRED

Wire Strippers

Safety Goggles

Ladder

Gloves

Flathead Screwdriver

Phillips Screwdriver

Electrical Tape

Wire Cutters
HARDWARE INCLUDED
NOTE: Hardware not shown to actual size.





| Part | Description | Quantity |
| AA | Mounting Plate | 1 |
| BB | Wire Connector | 3 |
| CC | Outlet Box Screw (15 mm) | 2 |
| DD | Ground Screw | 1 |
| EE | Protective Rope | 1 |

| Part | Description | Quantity |
| A | Fixture Body | 1 |
CAUTION: The fixture body (A) is one piece. Do not disassemble it.
Installation
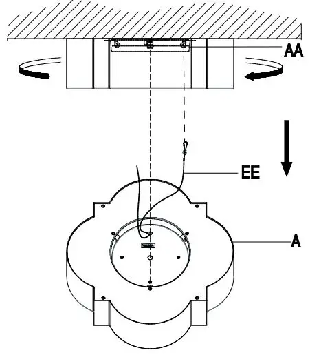
Attaching the mounting plate to the outlet box
- Screw the outlet box screws (CC) through the holes on the mounting plate (AA) into the screw holes on the outlet box (not included).

Connecting the electrical wires and rotective rope
- Fasten the rotective rope (EE) into the mounting plate (AA) to prevent the lamp from falling.
- Wrap the middle of ground wire from the fixture around the ground screw (DD) on the mounting plate (AA). Use a wire connector (BB) to connect the ground wire from the fixture to the ground wire from the outlet box.
- Use a wire connector (BB) to connect the white wire from the fixture to the white wire (neutral wire) from the outlet box.
- Use a wire connector (BB) to connect the black wire from the fixture to the black wire (live wire) from the outlet box.
- Wrap the three wire connections with electrical tape for a more secure connection.
- Position the wires back inside the outlet box.

Selecting the CCT option
- Choose your preferred correlated color temperature (CCT) from the five options: 2700K warm white, 3000K soft white, 3500K neutral white, 4000K bright white, or 5000K daylight.
- Move the CCT switch on the fixture (A) to make your selection.
NOTICE: The factory setting is 3000K, soft white light.

Securing the fixture body to the mounting plate
- Raise the fixture body (A) until it is flush with the mounting plate (AA).
- Twist the fixture body (A) clockwise about ¼ turn until it emits a “Da’’ sound. That indicates the fixture body (A) is secured.
CAUTION: The fixture body (A) is one piece. Do not disassemble it.
WARNING: If not locked in place, the fixture body (A) may fall and cause serious injury.


Removing the fixture body from the mounting plate
- If you need to remove the fixture body (A), then twist the fixture body (A) counterclockwise about ¼ turn until it emits a “Da’’ sound, and then the pull the fixture body (A) down.
- Remove the protective rope (EE) from the mounting plate (AA) to release the lamp.

Care and Cleaning
- Clean the fixture with a soft, dry cloth.
- Do not use any cleaners with chemicals, solvents or hash abrasives.
WARNING: Before attempting to clean the fixture, disconnect the power to the fixture by turning the breaker off or removing the fuse from the fuse box.
Troubleshooting
| Problem | Possible Cause | Solution |
| The fixture will not illuminate. | The power is off. | Ensure the power supply is On. |
| The circuit breaker is off. | Ensure the circuit breaker is in the On position. | |
| The fuse blows or circuit breaker trips when the fixture is illuminated. | The wires are crossed or the power wire is grounding out. | Check the wire connections. |
Questions, problems, missing parts?
Please consult your local The Home Depot store
or email Customer Service [email protected]
8 a.m. – 5 p.m., EST, Monday – Friday
Retain this manual for future use.

















