GLUCKSTEINELEMENTS
39658-HBCLED LED Flushmount
User Guide
Questions, problems, missing parts? Before returning to the store, call Gluckstein Elements Customer Service
8 a.m. – 7 p.m., EST, Monday-Friday, 9 a.m. – 6 p.m., EST, Saturday
1-833-695-2045
HOMEDEPOT.CA
HOMEDEPOT.COM
GLUCKSTEINELEMENTS.COM
THANK YOU
We appreciate the trust and confidence you have placed in Gluckstein Elements through the purchase of this LED flush mount. We strive to continually create quality products designed to enhance your home. Visit us online to see our full line of products available for your home improvement needs.
Thank you for choosing Gluckstein Elements!
Safety Information
- Read all instructions before assembling and installing.
- Consult a qualified electrician for the installation of this fixture.
- If you have any non-electrical questions about this fixture, please contact our Customer Service Team at 1-833-695-2045 or visit www.HOMEDEPOT.ca. / HOMEDEPOT.com. /GLUCKSTEINELEMENTS.com.
- Please reference your item number 1001 651 033 or UPC 773546319058.
- Keep your receipt and these instructions for proof of purchase.
CAUTION: Before starting the installation of this fixture or removal of a previous fixture, disconnect the power by turning off the circuit breaker or by removing the fuse at the fuse box.
IMPORTANT: Inspect the wire insulation for any cuts, abrasions,or exposed copper that may have occurred during shipping. If there is a defect in the wire, do not continue the assembly process.
Warranty
WHAT IS COVERED
The manufacturer warrants this lighting fixture to be free from defects in materials and workmanship for a period of three (3 years from date of purchase. This warranty applies only to the original consumer purchaser and only to products used in normal use and service. If this product is found to be defective, the manufacturer’s only obligation, and your exclusive remedy, is the repair or replacement of the product at the manufacturer’s discretion, provided that the product has not been damaged through misuse, abuse, accident, modifications, alterations, neglect, or mishandling.
WHAT IS NOT COVERED
This warranty shall not apply to any product that is found to have been improperly installed, set up, or used in any way not in accordance with the instructions supplied with the product. This warranty shall not apply to a failure of the product as a result of an accident, misuse, abuse, negligence, alteration, faulty installation, or any other failure not relating to faulty material or workmanship. This warranty shall not apply to the finish on any portion of the product, such as surface and/or weathering, as this is considered normal wear and tear. The manufacturer does not warrant and specifically disclaims any warranty, whether express or implied, of fitness for a particular purpose, other than the warranty contained herein. The manufacturer specifically disclaims any liability and shall not be liable for any consequential or incidental loss or damage, including but not limited to any labor/expense costs involved in the replacement or repair of said product.
Contact the Customer Service Team at 1-833-695-2045 or visit www.HOMEDEPOT.ca. / HOMEDEPOT.com. /GLUCKSTEINELEMENTS.com.
Pre-Installation
PLANNING INSTALLATION
Read all instructions before assembly and installation. To avoid damaging this product, assemble it on a soft, non-abrasive surface, such as carpet or cardboard. Inspect each part for defects that may have occurred during shipping. Keep your receipt and these instructions for proof of purchase.
TOOLS REQUIRED

HARDWARE INCLUDED
NOTE: Hardware not shown to actual size.

| Part | Description | Quantity |
| AA | Wire nut | 3 |
| BB | Outlet box screw | 2 |
| CC | Ground screw | 1 |
| DD | Install screw | 2 |
| EE | Mounting plate | 1 |
| FF | Nut | 2 |
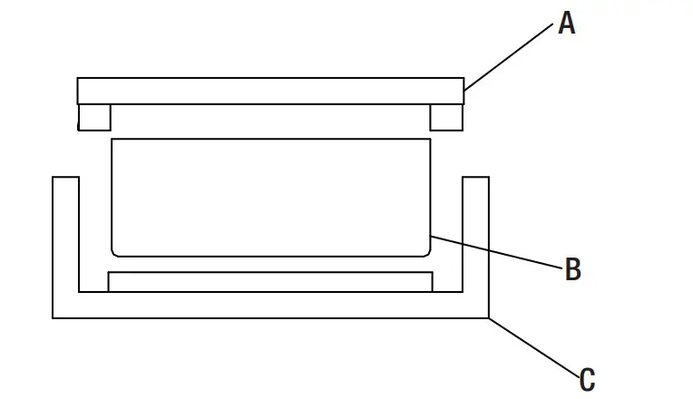
PACKAGE CONTENTS

| Part | Description | Quantity |
| A | Fixture body | 1 |
| B | Glass | 1 |
| C | Frame | 1 |
Installation
- Removing the fixture body
WARNING: Turn off the power at the main fuse box.
Carefully unpack the fixture. Lay out all the parts on a clean surface.
Loosen the install screws (DD) to remove the frame (C) and glass (B).
Unlock the nut (FF) from the mounting plate (EE), and remove the mounting plate (EE) from the fixture body (A).
- Installing the mounting plate
Install the mounting plate (EE) to the junction box (not included) with the supplied outlet box screws (BB).
- Making the electrical connections
NOTE: Always use wire nuts (AA) to connect wires, and push all excess wires and connections back into the junction box (not included).
Wrap the ground wire from the fixture around the ground screw (CC) on the mounting plate (EE), and then connect the ground wire from the fixture to the ground wire from the junction box.
Connect the black wire of the power supply (not included) to the black wire of the fixture (included) and connect the white wire of the power supply (not included) to the white wire of the fixture (included).
Connect the fixture wires as follows:
- Installing the fixture body
Attached the fixture body (A) to the mounting plate (BB) with the nuts (FF).
Install the frame (C) and glass (B) to the fixture body (A) with 0the install screws (DD).
Care and Cleaning
- Clean the light fixture carefully with a soft, dry cloth. Do not use any cleaners with chemicals, solvents, or harsh abrasives.
Troubleshooting
| Problem | Possible Cause | Corrective Action |
| The fixture will not light. | The LED is burned out. | _ Replace the fixture. |
| The power is off. | ❑Make sure the power supply is on. | |
| There is a faulty wire connection. | ❑Check to wire. | |
| There is a faulty switch. | ❑Test or replace the switch. | |
| The fuse blows or the circuit breaker trips when the light is turned on. | There are crossed wires or the power wire is grounding out. | : Check the wire connections. ❑Contact a qualified electrician or call the Customer Service Team at 1-833-695-2045. |
Questions, problems, missing parts? Before returning to the store, call Gluckstein Elements Customer Service
8 a.m. – 7 p.m., EST, Monday-Friday, 9 a.m. – 6 p.m., EST, Saturday
1-833-695-2045
HOMEDEPOT.CA
HOMEDEPOT.COM
GLUCKSTEINELEMENTS.COM
Retain this manual for future use.


Connect the fixture wires as follows:



















