ET2 Contemporary Lighting E23133-10PC Spiral 7-Light Flush Mount

Before Getting Started
- Read the instructions carefully prior to assembling the product.
- When you open the package with a sharp tool like a cutter knife, be careful not to damage the components inside.
- Carefully remove all packaging materials and retain them for future use
- Keep all hardware parts and packaging out of reach of small children.
- Choose a clean, level, spacious assembly area. Avoid hard surfaces that may damage the product.
- Ensure that you have all the required contents for complete assembly.
- Take care when lifting. Assemble the product in close proximity to where you intend to position the item.
- Do not over-tighten the screws and bolts as this may damage the threads.
- Do not let children play with this product.
- Risk of suffocation! Keep any packaging materials away from children.
GENERAL Lighting Instructions
- Carefully read through the instruction sheet before assembly and using the product.
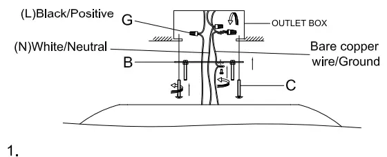
- Caution there is a risk of shock. Disconnect from the power source before assembling or cleaning.
- Switch off, unplug and allow the bulb to cool before replacing the bulb or cleaning.
- Only use the recommended bulb type and do not exceed the maximum wattage as it could cause fire
- Do not plug the product in if cord is torn or frayed.
Cleaning & Maintenance
- On polished finishes, often using talc powder reduces the appearance of fingerprints and other smudges.
- For respective shade surfaces, use the appropriate cleansers, i.e. glass cleaner, acrylic polish, and wood polish.
- Clean with soft cloth and a mild detergent.
- DO not use abrasive cleaner.
- Periodically (every 90 days) make sure that the screws are fully tightened.
- Prolonged exposure to heat sources may cause glazing, melting, and scorching, or even cause the color to fade.
Contents
Before getting.started, ensure the package contains the following components:





















