
20Gbps
USB 3.2 Gen 2×2 Type-C to PCIe Host Card

USER Manual
Product Code: AK-PCCU3-07
Contents

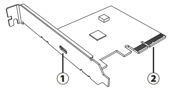
Card Layout

- Type-C
20Gb/s data-transfer
Reversible Type-C connector - PCIe bus connector
PCI Express x4, x8 and x16 slots
Features
- Easily add or upgrade your PC with fast USB Type-C port connectivity up to 20Gbps with a PCI Express (PCIe) host card
- PCIe 3.0 x4 card fits easily in PCIe x4, x8 and x16 slot
- Expands a single external Type-C port to the system
- Includes optional low profile slot cover for supporting low profile cases
Specifications
- Ports: Type-C
- Interface: PCI Express Gen3
- Data Rates: 20Gbps (USB 3.2 Gen 2×2) 10Gbps (USB 3.2 Gen 2) 5Gbps (USB 3.2 Gen 1 / USB 3.0) 480Mb/s (USB2.0)
- Wide OS compatibility: Windows 8.x/10 Linux 3.2, 3.10, 3.12, 4.2 and 4.4
- Contents: USB 3.2 Gen 2×2 USB-C Host Card, Low profile bracket, User manual
Installation

Change to low profile bracket



















