Inateck KTU3FR-4P USB 3.0 PCI Express Card

Product Information
The KTU3FR-4P/ KT4006 USB 3.0 PCI Express Card is a hardware device that allows you to add USB 3.0 functionality to your computer. It comes with a user manual, driver CD, and necessary cables for installation. The card supports Windows 7/8/10 (32/64 bit) and Mac OS 10.8.2 or above. It requires an available PCI Express slot (PCI Express 2.0 or above) for installation.
Product Usage Instructions
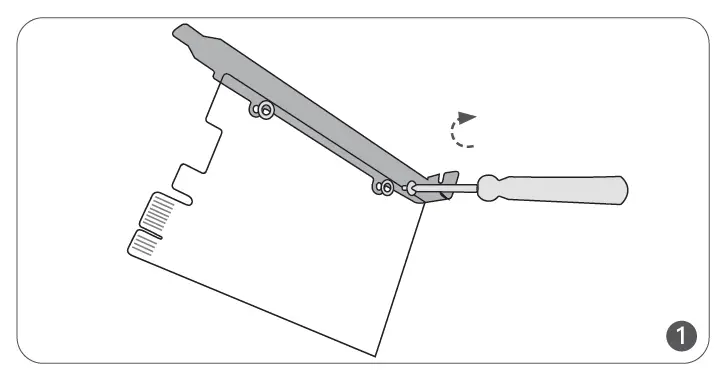
- Screw the PCI cover plate onto the PCI-E card, and then turn off the computer.
- Plug the PCI-E card into the corresponding PCI-E slot.
- If required, connect the power cable to the card.
- Use the included screws or the screws of the computer case to fix the PCI-E card securely.
- Turn on the computer. The driver should be installed automatically. If not, you can apply the driver from the included CD or download the latest driver from the Inateck official website (www.inateck.com).
- Note that the PCI-E card does not support hot plug, so all the installation steps should be performed with the computer in shutdown mode.
- Please be aware that USB 3.0 drivers are not supported on Mac or Linux OS.
- For Windows 8/10, you don’t have to install the driver manually.
- If using the 4-Pin Molex power cable, ensure it is connected correctly.
Package Contents:
- 1 x USB 3.0 PCI Express Card
- 1 x Driver CD
- 1 x User Manual
- 1 x Screwdriver
- 1 x 4-Pin Molex Power Cable
- 1 x 15-Pin SATA Power Cable
Service Center:
North America:
Inateck Technology Inc.
Tel: +1 (909) 698 7018 (Working day 9 AM – 5 PM PST)
Address: 2078 Francis St., Unit 14-02, Ontario, CA 91761, USA
Manufacturer:
Shenzhen Inateck Technology Co., Ltd.
Address: Suite 2507, Block 11 in Tian An Cloud Park, Bantian Street, Longgang District, Shenzhen, Guangdong, China
Hardware Installation
- Screw the PCI cover plate onto the PCI-E card, and then turn off the computer.

- Plug the PCI-E card into the corresponding PCI-E slot, and connect the power (if needed).

- Use the screws included or the screws of the computer case to fix the PCI-E card.

Note:
- The driver will be installed automatically when the computer powers on. If not, please apply the driver in the CD, or download the latest driver on Inateck official site (www.inateck.com).
- The PCI-E card does NOT support hot plug, so all the steps above should be operated under shutdown mode.
- USB 3.0 Drivers are not supported on Mac or Linux OS.
- On Windows 8/10, you don’t have to
- When using the 4 Pin Molex power cable, please connect the cable as required.

System Requirements
Windows 7/8/10 (32/64 bit); Mac OS 10.8.2 or above. One available PCI Express slot (PCI Express 2.0 or above).
Package List
- 1 x USB 3.0 PCI Express Card
- 1 x Driver CD
- 1 x User Manual
- 1 x Screwdriver
- 1x 4-Pin Molex power cable
- 1x 15-Pin SATA power cable
Service Center
Europe
F&M Technology GmbH
Tel: +49 341 5199 8410 (Working day 8 AM – 4 PM CET) Fax: +49 341 5199 8413
Address: Fraunhoferstraße 7, 04178 Leipzig, Deutschland
North America
Inateck Technology Inc.
Tel: +1 (909) 698 7018 (Working day 9 AM – 5 PM PST)
Address: 2078 Francis St., Unit 14-02, Ontario, CA 91761, USA
Manufacturer
Shenzhen Inateck Technology Co., Ltd.
Address: Suite 2507, Block 11 in Tian An Cloud Park, Bantian Street, Longgang District, Shenzhen, Guangdong, China
FCC Declaration of Conformity
This device complies with Part 15 of the FCC Rules Operation is subject to the following two conditions:
- This device may not cause harmful interference, and
- This device must accept any interference received, including interference that may cause undesired operation.
EU Declaration of Conformity
Inateck Co., Ltd. hereby declares that this device complies with the Directive 2014/30/EU . A copy of the Declaration of Conformity can be accessed from https://www.inateck.de/pages/euro-compliance.























